RadioRadar - Datasheets, service manuals, circuits, electronics, components, CAD
Sitemap
Russian version
You read:

Datasheet search engine for Electronic Components and Semiconductors.

 
Datasheets

Datasheets search archive of electronic components

For search electronic components datasheets (documentation) use the search form or sortcuts for quick datasheet search. Our base has over 1 000 000 downloadable pdf datasheets. If you don't find necessary datasheet, please send feedback to project administrator. We hope, what our electronic components datasheets and documentation archive help you find necessary documentation.
More 1 000 000 datasheetsexample: LM317

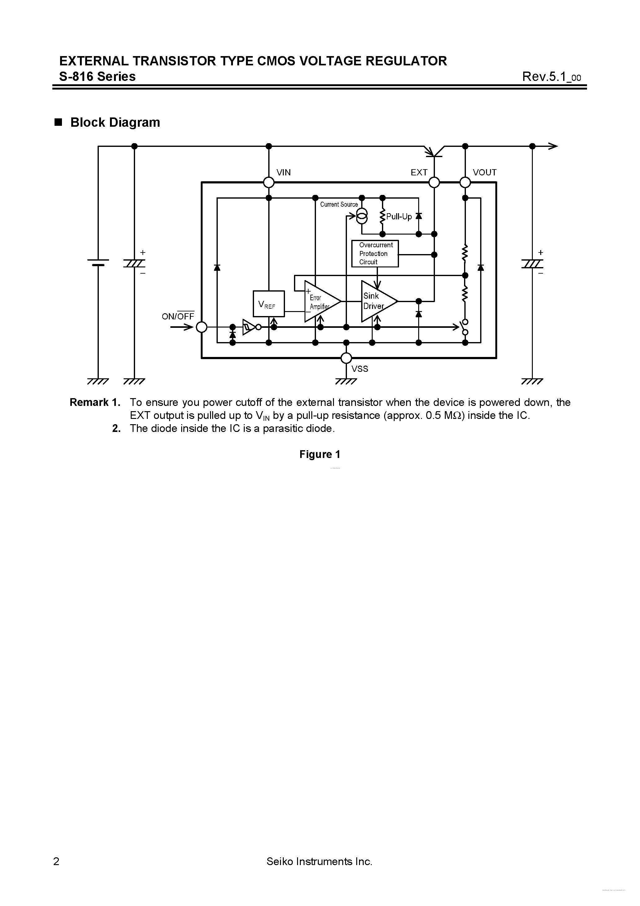
S-816-EXTERNAL TRANSISTOR TYPE CMOS VOLTAGE REGULATOR

Name:S-816
Producer:Seiko
Download datasheet:
Description:EXTERNAL TRANSISTOR TYPE CMOS VOLTAGE REGULATOR
Others with the same file: S-816 | S-816A25AMC-BAAT2G
S-816A26AMC-BABT2G | S-816A27AMC-BACT2G
S-816A28AMC-BADT2G | S-816A29AMC-BAET2G
S-816A30AMC-BAFT2G | S-816A31AMC-BAGT2G
S-816A32AMC-BAHT2G | S-816A33AMC-BAIT2G
S-816A34AMC-BAJT2G | S-816A35AMC-BAKT2G
S-816A36AMC-BALT2G | S-816A37AMC-BAMT2G
S-816A38AMC-BANT2G | S-816A39AMC-BAOT2G
S-816A40AMC-BAPT2G | S-816A41AMC-BAQT2G
S-816A42AMC-BART2G | S-816A43AMC-BAST2G
S-816A44AMC-BATT2G | S-816A45AMC-BAUT2G
S-816A46AMC-BAVT2G | S-816A47AMC-BAWT2G
S-816A48AMC-BAXT2G | S-816A49AMC-BAYT2G
S-816A50AMC-BAZT2G | S-816A51AMC-BBAT2G
S-816A52AMC-BBBT2G | S-816A53AMC-BBCT2G
S-816A54AMC-BBDT2G | S-816A55AMC-BBET2G
S-816A56AMC-BBFT2G | S-816A57AMC-BBGT2G
S-816A58AMC-BBHT2G | S-816A59AMC-BBIT2G
S-816A60AMC-BBJT2G
Datasheet S-816 - EXTERNAL TRANSISTOR TYPE CMOS VOLTAGE REGULATOR page 1
Datasheet S-816 - EXTERNAL TRANSISTOR TYPE CMOS VOLTAGE REGULATOR page 2