RadioRadar - Datasheets, service manuals, circuits, electronics, components, CAD
Sitemap
Russian version
You read:

Datasheet search engine for Electronic Components and Semiconductors.

 
Datasheets

Datasheets search archive of electronic components

For search electronic components datasheets (documentation) use the search form or sortcuts for quick datasheet search. Our base has over 1 000 000 downloadable pdf datasheets. If you don't find necessary datasheet, please send feedback to project administrator. We hope, what our electronic components datasheets and documentation archive help you find necessary documentation.
More 1 000 000 datasheetsexample: LM317

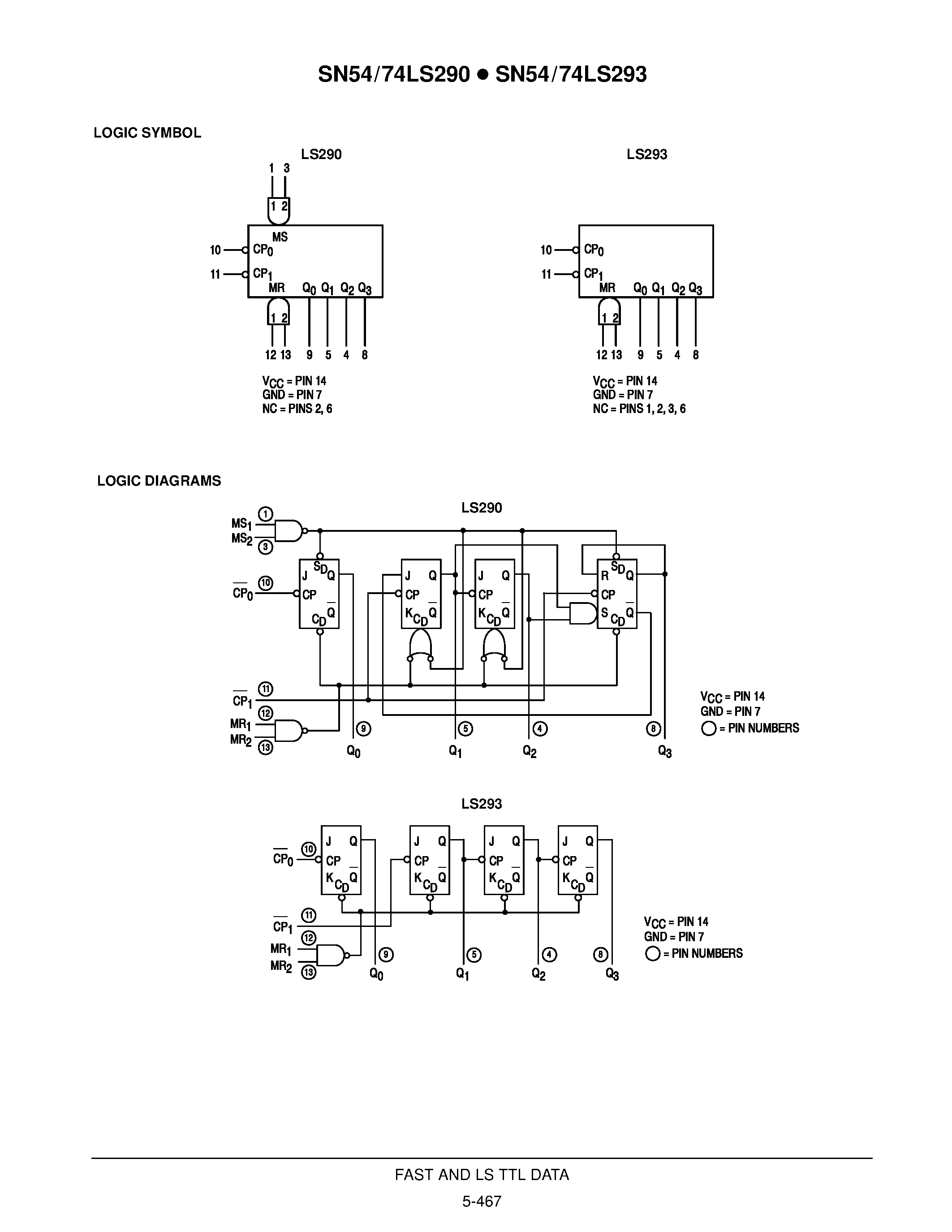
SN54LS293J-DECADE COUNTER; 4-BIT BINARY COUNTER

Name:SN54LS293J
Producer:Motorola Inc
Download datasheet:
Description:DECADE COUNTER; 4-BIT BINARY COUNTER
Others with the same file: SN54LS293J
Datasheet SN54LS293J - DECADE COUNTER; 4-BIT BINARY COUNTER page 1
Datasheet SN54LS293J - DECADE COUNTER; 4-BIT BINARY COUNTER page 2