В этой статье рассматриваются конструктивные особенности электронной система управления двигателем (ЭСУД) автомобилей семейства LADA KALINA. Автор приводит методику диагностики этой системы с помощью простейшего оборудования, коды ошибок встроенной системы диагностики, их возможные причины и последовательность устранения.
Состав и конструктивные особенности ЭСУД
Автомобили семейства LADA KALINA выпускаются с кузовами трех типов - седан ВАЗ 1118, хетчбек ВАЗ 1119 и универсал ВАЗ 1117. Автомобили комплектуются четырехцилиндровым, рядным, четырехтактным двигателем с распределенным впрыском топлива и электронным управлением.
На всех модификациях автомобилей устанавливается каталитический нейтрализатор отработанных газов, который обеспечивает соответствие нормам токсичности Euro-3.
Электрооборудование автомобилей выполнено по однопроводной системе, минусовые выводы источников питания и потребителей соединены с "массой" (кузовом и силовым агрегатом) автомобиля. Номинальное напряжение бортовой сети составляет 12 В, для защиты электрических цепей применяются плавкие предохранители.
На автомобилях LADA KALINA применяется система распределенного фазированного впрыска: топливо подается поочередно в каждый цилиндр в соответствии с порядком работы двигателя.
ЭСУД состоит из электронного блока управления (контроллера), датчиков, обеспечивающих считывание параметров работы двигателя и автомобиля, и исполнительных устройств.
Контроллер представляет собой электронный блок управления (ЭБУ), работающий под управлением микроконтроллера. В состав ЭБУ входит несколько видов микросхем памяти:
- энергонезависимая Flash-память, в нее записываются коды ошибок, возникающих при работе ЭСУД;
- программируемое постоянное запоминающее устройство (ППЗУ), в котором хранится программа управления ЭСУД, реализующая алгоритм работы двигателя автомобиля.
ЭБУ обеспечивает управление исполнительными механизмами, такими как катушка зажигания, топливные форсунки, регулятор холостого хода, нагреватели датчиков кислорода, клапан продувки адсорбера и реле управления, одним из которых является главное реле.
ЭБУ имеет встроенную систему диагностики, которая определяет наличие или отсутствие неисправностей ЭСУД, при появлении неисправности включается сигнальная лампа, расположенная в комбинации приборов.
В автомобиле ЭБУ расположен под панелью приборов снизу, он закреплен на корпусе отопителя.
На рис. 1 показан внешний вид контроллера.

Рис. 1. Внешний вид ЭБУ
В состав ЭСУД входит датчик массового расхода воздуха (ДМРВ) термоанемометрического типа, который расположен между воздушным фильтром и шлангом впускной трубы (см. рис. 2).

Рис. 2. Внешний вид датчика массового расхода воздуха
ДМРВ формирует сигнал постоянного тока, величина которого зависит от количества воздуха, проходящего через корпус датчика. Напряжение на выходе датчика изменяется в диапазоне 1...5 В (прямой поток воздуха) и 0...1 В (обратный поток воздуха).
Температуру воздуха, проходящего через ДМРВ, измеряет датчик температуры воздуха резистивного типа, чувствительный элемент которого установлен в потоке воздуха. На выходе датчика формируется, в зависимости от температуры воздуха, напряжение постоянного тока в диапазоне от 0 до 5 В.
Датчик детонации пьезоэлектрического типа установлен непосредственно на блоке цилиндров.
Он вырабатывает сигнал переменного тока, амплитуда и частота соответствуют вибрации двигателя во время его работы.
Датчик положения дроссельной заслонки (ДПДЗ) резистивного типа установлен на дроссельном патрубке, конструктивно он представляет собой потенциометр. Один вывод датчика подключен к опорному напряжению 5 В (формируется ЭБУ), второй вывод соединен с "массой" контроллера, а с третьего снимается постоянное напряжение, пропорциональное положению дроссельной заслонки.
Для считывания контроллером информации о наличии кислорода в отработанных газах установлен управляющий датчик кислорода (ДК), чувствительный элемент которого находится непосредственно в потоке отработанных газов. Датчик формирует напряжение от 50 до 900 мВ, которое зависит от количества кислорода в отработанных газах и температуры самого измерительного элемента.
Для эффективной работы датчика (его рабочая температура более 300°С) и для более быстрого прогрева после запуска двигателя в конструкцию датчика включен электрический подогреватель, управляемый контроллером.
По такому же принципу работает и диагностический ДК, который измеряет наличие кислорода в отработанных газах непосредственно после каталитического нейтрализатора.
Сформированное напряжение на прогретом двигателе и исправном нейтрализаторе находится в пределах от 590 до 750 мВ.
Управляющий и диагностический датчики кислорода установлены на корпусе каталитического нейтрализатора - управляющий на верхней части, а диагностический - на нижней части, непосредственно на выходном патрубке.
Для надежной работы двигателя и эффективного снижения выброса в атмосферу вредных отработанных газов, вырабатываемых двигателем, должно быть обеспечено соотношение воздуха и топливной смеси примерно 14,5:1.
Датчик температуры охлаждающей жидкости (ДТОЖ) установлен в потоке охлаждающей жидкости двигателя на головке цилиндров непосредственно на термостате. Измерительным элементом датчика является терморезистор, сопротивление которого изменяется в зависимости от температуры охлаждающей жидкости. Датчик подключен к контроллеру через резистор (2 кОм), который входит в состав ЭБУ.
Датчик положения коленчатого вала (ДПКВ) установлен на крышке масляного насоса (рис. 3) на расстоянии 1±0,3 мм от вершины зубца задающего диска, который установлен на коленчатом валу двигателя. Во время вращения задающего диска изменяется магнитный поток в обмотке датчика, в свою очередь датчик вырабатывает напряжение переменного тока.

Рис. 3. Внешний вид датчика положения коленчатого вала
Контроллер определяет положение и частоту вращения коленчатого вала по количеству и частоте считываемых импульсов.
Регулятор холостого хода (РХХ) стабилизирует обороты холостого хода двигателя (рис. 4). Он представляет собой шаговый двигатель с двумя независимыми обмотками с подпружиненной конусной иглой. Вращение шагового двигателя преобразуется в поступательное перемещение конусной иглы с помощью червячно-анкерного механизма.

Рис. 4. Внешний вид регулятора холостого хода и датчика положения дроссельной заслонки
РХХ установлен на корпусе дроссельного патрубка в обводном канале и управляется непосредственно ЭБУ.
В состав ЭСУД входит катушка зажигания, которая представляет собой герметичный блок, состоящий из двух обмоток - первичных, которые управляются контроллером, в зависимости от заданного режима двигателя. Вторичные высоковольтные обмотки катушки подключены к свечным проводам.
На рис. 5 показана катушка зажигания, она крепится кронштейном к блоку цилиндров двигателя.

Рис. 5. Внешний вид катушки зажигания
В последние годы завод-изготовитель начал комплектовать автомобиль новым модернизированным 16-клапанным двигателем, на который устанавливаются индивидуальные катушки зажигания на каждый цилиндр. Конструктивно индивидуальная катушка зажигания представляет собой миниатюрную катушку зажигания, которая также управляется контроллером, а высоковольтная часть (вторичная обмотка) непосредственно подключена к свече зажигания.
Диагностика неисправностей ЭСУД и рекомендации по их устранению
При возникновении неисправности в системе ЭСУД штатная система самодиагностики сигнализирует об этом включением сигнальной лампочки, размещенной на приборной панели.
Прерывистое включение сигнальной лампочки свидетельствует о наличии неисправности, которая может привести к серьезным повреждениям элементов ЭСУД. Следует учесть, что после запуска двигателя сигнальная лампочка должна погаснуть при условии, что в памяти контроллера отсутствуют коды ошибок. После устранения возникших неисправностей сигнальная лампочка выключается.
В состав ЭСУД автомобиля входят различные выключатели, реле, электромоторы, плавкие предохранители, которые защищают ту или иную цепь, а так же сама электропроводка, соединители, датчики и исполнительные элементы системы ЭСУД. Все эти элементы могут выйти из строя и принести немало хлопот автовладельцу. Разберем самые распространенные неисправности ЭСУД автомобилей LADA KALINA.
Прежде чем приступать к работе по поиску и устранению неисправностей, следует внимательно изучить соответствующую схему, чтобы представлять ее функциональное назначение.
Рис. 6. Схема электрических соединений системы зажигания автомобилей LADA KALINA
На рис. 6 показана схема электрических соединений системы зажигания автомобилей LADA KALINA, где: 1 - датчик контрольной лампы давления масла; 2 - датчик указателя температуры охлаждающей жидкости; 3 - блок предохранителей дополнительный; 4 - предохранители электровентилятора системы охлаждения двигателей; 5 - реле электробензонасоса; 6 - реле электровентилятора системы охлаждения двигателя; 7 - реле зажигания; 8 - реле 2 электровентилятора системы охлаждения двигателя; 9 - реле 3 электровентилятора системы охлаждения двигателя; 10 - электровентилятор системы охлаждения двигателя; 11 - датчик положения дроссельной заслонки; 12 - регулятор холостого хода; 13 - датчик температуры охлаждающей жидкости; 14 - колодка диагностики; 15 - колодка жгута системы зажигания к колодке жгута панели приборов; 16 - электромагнитный клапан продувки адсорбера; 17 - датчик скорости; 18 - колодка жгута системы зажигания к колодке жгута панели приборов 2; 19 - датчик массового расхода воздуха; 20 - датчик положения коленчатого вала; 21 - датчик кислорода; 22 - контроллер; 23 - датчик неровной дороги; 24 - датчик кислорода диагностический; 25 - колодка жгута катушек зажигания к колодке жгута системы зажигания; 26 - катушки зажигания; 27 - колодка жгута системы зажигания к колодке жгута катушек зажигания; 28 - свечи зажигания; 29 - форсунки; 30 - резистор; 31 - датчик давления системы кондиционирования воздуха; 32 - колодки жгута системы зажигания и жгута проводов форсунок; 33 - датчик фаз; 34 - датчик детонации.

Рис. 7. Схема подключения мультиметра к выводам датчика положения коленчатого вала
Отказы электрооборудования зачастую происходят по следующим причинам: перегорание плавких предохранителей и вставок, неисправности реле, коррозия контактов соединителей и некачественные комплектующие.
Основным и простейшим диагностическим прибором при отыскании неисправностей является мультиметр, позволяющий измерять напряжение, ток и сопротивление.
В качестве альтернативы можно использовать контрольную лампочку 12 В с соединительными проводами и индикатор обрыва цепи (пробник), который включает в себя собственный источник питания и индикаторную лампу/светодиод.
Также при диагностике неисправностей можно использовать электронный осциллограф, а идеальный вариант - специализированный диагностический прибор или прибор на основе ПК с установленной специализированной программой, выполняющей считывание и расшифровку кодов неисправностей.
Перед тем как приступить к работе по выявлению и устранению неисправностей, требуется проверить наличие напряжения питания, качество соединения на клеммах аккумуляторной батареи, целостность плавких предохранителей.
Зачастую сбои в работе ЭСУД бывают связаны с надежностью контактов аккумуляторной батареи.
Нарушение контактов в клеммах происходит из-за недостаточного протягивания болтов крепления соединителей и окисления контактов. Последнее чаше всего происходит из-за не вовремя выполненных регламентных работ. Качество контактов на клеммах проверяют визуально и с помощью контрольной лампы.
Для устранения окисления клемм отключают соединители от клемм аккумулятора, зачищают с помощью мелкой наждачной шкурки клеммы аккумулятора и соединителей, обрабатывают клеммы электропроводящей смазкой и восстанавливают соединение. Дополнительно на клеммы можно сверху нанести смазку.
Следует учесть, что при проведении работ в системе электрооборудования автомобиля необходимо отсоединять клеммы от аккумуляторной батареи.
Зажигание включено, двигатель не запускается, сигнализатор неисправности горит постоянно
1. Проверяют работу иммобилайзера [1] и его подключение (иммобилайзер должен быть исправен).
2. Проверяют наличие напряжения на главном реле, контактах замка зажигания, далее проверяют работоспособность замка зажигания, главного реле, стартера (двигатель запущен, сигнализатор горит постоянно).
3. Подключают диагностический прибор (см. раздел "Работа с диагностическим прибором") и считывают коды неисправностей (см. таблицу).
4. Проверяют систему подачи топлива.
Таблица. Коды ошибок системы самодиагностики и их описание
Код ошибки | Описание кода ошибки (неисправности) | Вероятная неисправность |
Р0102 | Низкий уровень сигнала ДМРВ | Проверяют цепи ДМРВ, заменяют ДМРВ |
Р0103 | Высокий уровень сигнала ДМРВ | |
Р0112 | Низкий уровень датчика температуры впускного воздуха (ДТВВ) | |
Р0113 | Высокий уровень ДТВВ | |
Р0116 | ДТОЖ, выход из допустимого диапазона | Неисправен ДТОЖ |
Р0117 | Низкий уровень сигнала ДТОЖ | |
Р0118 | Высокий уровень сигнала ДТОЖ | |
Р0122 | Низкий уровень сигнала ДПДЗ | Проверяют цепи ДПДЗ, заменяют ДПДЗ |
Р0123 | Высокий уровень сигнала ДПДЗ | |
Р0130 | Неисправность датчика кислорода (ДК) до нейтрализатора | Проверяют цепи ДК до нейтрализатора, заменяют ДК до нейтрализатора |
Р0131 | ДК до нейтрализатора, низкий уровень сигнала | |
Р0132 | ДК до нейтрализатора, высокий уровень сигнала | |
Р0133 | ДК до нейтрализатора, медленный отклик на обогащение/обеднение | |
Р0134 | ДК до нейтрализатора, обрыв цепи сигнала | |
Р0135 | ДК до нейтрализатора, неисправность нагревателя | |
Р0136 | ДК после нейтрализатора, замыкание на "землю" | Проверяют цепи ДК после нейтрализатора, заменяют ДК после нейтрализатора |
Р0137 | ДК после нейтрализатора, низкий уровень сигнала | |
Р0138 | ДК после нейтрализатора, высокий уровень сигнала | |
Р0140 | ДК после нейтрализатора, обрыв цепи сигнала | |
Р0141 | ДК после нейтрализатора неисправен | |
Р0171 | Слишком бедная смесь | Проверяют работу датчиков кислорода, системы топливоподачи, дроссельного узла и т. д. |
Р0172 | Слишком богатая смесь | |
Р0201, Р0202, Р0203, Р0204 | Обрыв цепи управления форсункой 1, 2, 3 и 4 цилиндра соответственно | Проверяют цепи управления неисправных цилиндров, проверяют работу топливоподачи на форсунки, работу форсунок (при необходимости заменяют) |
Р0261, Р0264, Р0267, Р0270 | Замыкание на массу цепи управления форсункой 1, 2, 3, 4 цилиндра соответственно | |
Р0262, Р0265, Р0268, Р0271 | Замыкание на источник питания цепи управления форсункой 1, 2, 3, 4 цилиндра соответственно | |
Р0300 | Обнаружены множественные пропуски воспламенения | Проверяют работу датчика положения коленчатого вала (проверяют размер зазора между датчиком и задающего диска на шкиве коленчатого вала) |
P0301, P0302, P0303, P0304 | Обнаружены пропуски воспламенения в 1, 2, 3, 4 цилиндре соответственно | |
Р0327 | Низкий уровень сигнала датчика детонации | Проверяют цепи датчика детонации, заменяют датчик |
Р0328 | Высокий уровень сигнала датчика детонации | |
Р0335 | Нет сигнала от ДПКВ | Проверяют цепи ДПКВ, заменяют датчик |
Р0336 | ДПКВ - выход сигнала за допустимый диапазон | |
Р0337 | ДПКВ - замыкание на "массу" | |
Р0340 | ДПКВ неисправен | |
Р0342 | Неисправен датчик положения распределительного вала (ДПРВ) (низкий уровень) | Проверяют цепи ДПРВ, заменяют датчик |
Р0343 | Неисправен ДПРВ (высокий уровень) | |
Р0442 | Эффективность каталитического нейтрализатора ниже допустимого порога | Проверяют состояние нейтрализатора |
Р0480 | Цепь управления реле вентилятора 1: обрыв, замыкание на "массу" или на +12 В | Проверяют состояние предохранителей в цепи реле вентилятора и его цепи, реле вентилятора и при необходимости заменяют |
Р0500 | Нет сигнала датчика скорости автомобиля | Проверяют цепи датчика скорости, заменяют датчик |
Р0506 | Низкие обороты двигателя (РХХ заблокирован) | Проверяют цепи РХХ, дроссельный узел, заменяют РХХ |
Р0507 | Высокие обороты двигателя (РХХ заблокирован) |
Код ошибки | Описание кода ошибки (неисправности) | Вероятная неисправность |
Р0560 | Напряжение бортовой сети ниже порога работоспособности системы | Проверяют работу генератора, реле-регулятора, состояние предохранителей |
Р0562 | Пониженное напряжение бортовой сети | |
Р0563 | Повышенное напряжение бортовой сети | |
Р0601 | Неисправен ЭБУ - ошибка контрольной суммы FLASH-памяти | Проверяют работу контроллера на стенде или меняют его (данные работы производит специалист) |
Р0603 | Неисправен ЭБУ - ошибка контрольной суммы внешнего ОЗУ контроллера | |
Р0615 | Обрыв цепи управления стартером | Проверяют цепи подключения стартера, состояние стартера (при необходимости производится ремонт или частичная, полная его замена) |
Р0616 | Замыкание на массу в цепи управления стартером | |
Р0617 | Замыкание на +12 В цепи управления стартером | |
Р1135 | Цепь нагревателя ДК до нейтрализатора: обрыв, замыкание на "массу" | |
или на +12 В | Проверяют цепи ДК до нейтрализатора, заменяют датчик | |
Р1501 | Цепь управления реле бензонасоса, замыкание на "массу" | Проверяют цепи реле бензонасоса, состояние предохранителя, бензонасос |
Р1502 | Цепь управления реле бензонасоса, замыкание на +12 В | |
Р1513 | Цепь управления РХХ, замыкание на "массу" | Проверяют цепи РХХ, заменяют РХХ |
Р1514 | Цепь управления РХХ, обрыв или замыкание на +12 В | |
Р1541 | Цепь управления реле бензонасоса, обрыв | Проверяют состояние предохранителя бензонасоса, реле и его цепи |
Р1570 | Нет положительного ответа или обрыв в цепи иммобилизатора | Проверяют цепи иммобилайзера |
Р1602 | Пропадание напряжения питания контроллера | Проверяют состояние предохранителя питания контроллера и его цепей |
Р1606 | Датчик неровной дороги, неверный сигнал | Проверяют работу датчика |
Р1640 | Электрически перепрограммируемая память, ошибка теста "чтение- запись" | Проверяют работу контроллера на стенде и автомобиле или меняют его |
Одна из часто встречающихся неисправностей - отказ ДПКВ (код неисправности Р0335). Для диагностики этого отказа выполняют следующие действия:
- отключают колодку жгута проводов от датчика положения коленчатого вала;
- включают зажигание, подключают щупы мультиметра к контакту 1 колодки жгута проводов и "массе", при этом прибор должен показать напряжение около 2,5 В. Аналогично проверяют напряжение на контакте 2. При несоответствии или отсутствии напряжения проверяют исправность цепей (обрыв, замыкание на "массу") между контактами колодки жгута проводов ДПКВ и соответствующими контактами контроллера:
- после проверки целостности цепей и получения положительных результатов проверяют обмотки датчика положения коленчатого вала - их сопротивление должно быть в пределах 550...750 Ом;
- подключают к клеммам датчика щупы мультиметра (рис. 7), прибор включен в режим измерения переменного тока, подносят несколько раз к торцу датчика стальной стержень отвертки, прибор при этом должен фиксировать кратковременное появление напряжения 30...200 мВ на выходе датчика.
Данная проверка констатирует исправность ДПКВ.
При работе двигателя имеются случайные или множественные пропуски зажигания (воспламенения) - сигнализатор неисправности горит постоянно или мигает (коды неисправностей Р0301, Р0302, Р0303, Р0304)
В первую очередь следует проверить:
- наличие повреждений двигателя (состояние поршневой группы, распределительного вала и т. д.);
- состояние крепления и заземления контроллера;
- работоспособность датчика положения дроссельной заслонки;
- наличие подсоса воздуха в системе впуска воздуха перед датчиком массового расхода воздуха и после него (состояние патрубков, шлангов и их крепление);
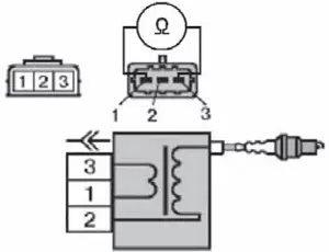
- системутопливоподачи;
- катушку зажигания: при проверке исправностей первичной обмотки катушки зажигания следует щупы омметра подключить к клеммам 1-3 катушки (рис. 8), при этом сопротивление должно быть равно 3,9 Ом.

Рис. 8. Схема проверки обмоток катушки зажигания
Для проверки обрывов в высоковольтных обмотках катушки зажигания требуется подключить щупы прибора к клемме 2 и поочередно к высоковольтным выводам катушек (см. рис. 9).

Рис. 9. Схема проверки высоковольтных обмоток катушки зажигания на короткое замыкание на "массу"
У исправной катушки сопротивление этой обмотки должно быть около 15 кОм;
- высоковольтные провода и свечи зажигания (заменой);
- работу датчика детонации: отключают колодку жгута проводов датчика и демонтируют его, после чего подключают щупы мультиметра к контактам датчика, на приборе выставляем режим измерения напряжения переменного тока. Слегка постукивают металлическим предметом, например из алюминия, по головке болта крепления датчика, измеряют напряжение, оно должно быть в пределах 40...250 мВ.
Двигатель не развивает мощности, сигнализатор неисправности загорается хаотично
Данная неисправность может быть, вызвана некачественными контактами, повреждением целостности изоляции и проводов жгута ДМРВ. Проверяют работу датчика при включенном зажигании, заранее отсоединив колодку жгута проводов от датчика. Щупы мультиметра подключают к выводам колодки и измеряют напряжение.
При исправных цепях прибор должен показать следующие значения:
- между контактами 1 и 3 от 5,0 до 5,2 В;
- между контактами 2 и 3 не более 10 В;
- между контактами 3 и 4 от 5,0 до 5,2 В.
Если все напряжения в норме, следует заменить сам датчик.
Во время работы двигателя на холостом ходу диагностируются низкие обороты двигателя (код неисправности Р0506) или высокие обороты двигателя (код неисправности Р0507)
- При малых оборотах двигателя проверяют состояние воздушного фильтра (степень его загрязнения), целостность подсоединения и самих шлангов системы вентиляции картера (неисправность не обнаружена).
- Проверяют работу регулятора холостого хода. Повышенные обороты двигателя могут быть вызваны отказом РХХ. Зачастую отказ РХХ связан с износом поршневой группы двигателя, попаданием паров масла на конусную иглу, отказом регулятора после продолжительного отсутствия эксплуатации автомобиля (например, в зимнее время), некачественного изготовления самого РХХ.
Для проверки РХХ следует демонтировать регулятор с дроссельного узла, отсоединить колодку жгута проводов от РХХ. Выводы соединителя регулятора промаркированы буквами "А", "В", "С", "D". Включают зажигание и проводят измерения, подключив щупы мультиметра к колодке жгута проводов (рис. 10). Напряжение при измерении должно изменяться в пределах от 0,5 до 12В.

Рис. 10. Схема подключения мультиметра к колодке проводов РХХ
Проверку исправности самого регулятора выполняют с помощью омметра, проверяя сопротивление между выводами "А" и "В" и "С" и "D". У исправного регулятора сопротивление должно быть в пределах от 40 до 80 Ом.
Работу РХХ в составе автомобиля можно также контролировать по показаниям тахометра. На прогретом двигателе поднимают обороты двигателя до 1500 и плавно отпускают педаль акселе-ратора, при этом внимательно сле-дят за показанием стрелки тахометра - она должна плавно, без больших замедлений, пошагово установиться на требуемых показаниях.
Работа с диагностическим прибором
Как правило, диагностика и поиск неисправностей занимают значительно больше времени, чем собственно ремонт. При проведении диагностических работ по отысканию неисправностей наряду с другими приборами и нестандартным оборудованием используется электронный диагностический прибор.
Следует обратить внимание на тот факт, что слепая вера в "компьютерную" диагностику, которая зачастую обнаруживает не причину, а лишь следствие возникшей неисправности, вводит в затруднительное положение даже опытных мастеров.
Диагностическим прибором может быть любое электронное устройство, которое имеет возможность считывания кода неисправности автомобиля. Современные диагностические приборы не только определяют код неисправности, но и подсказывают пользователю конкретный датчик или узел, который требуется проверить.
Диагностический прибор подключают к диагностической колодке автомобиля, которая расположена под крышкой туннеля пола (рис. 11), в непосредственной близости от ручки КПП.

Рис. 11. Расположение диагностической колодки на автомобиле, где 1 - диагностическая колодка, 2 - предохранитель силовой цепи главного реле, 3 - предохранитель силовой цепи реле электробензонасоса, 4 - предохранитель постоянного питания контроллера.
Для проведения диагностических работ на автомобиле также можно использовать и маршрутный бортовой компьютер для автомобилей ВАЗ, имеющий функции считывания кодов ошибок. В качестве примера можно привести маршрутные бортовые компьютеры, предназначенные для автомобилей семейства ВАЗ 2110. Данная конструкция удобна для самостоятельного изготовления нестандартного оборудования.
На рис. 12 показано назначение контактов диагностической колодки. Эти сигналы используют для подключения бортового компьютера (в автомобилях семейства ВАЗ 2110), а на рис. 13 - пример расположения маршрутного бортового компьютера в автомобилях LADA KALINA.

Рис. 12. Назначение контактов диагностической колодки

Рис. 13. Общий вид расположения маршрутного бортового компьютера в автомобилях LADA KALINA
Литература
1. Н. Пчелинцев. "Штатные противоугонные системы автомобилей ВАЗ", "Ремонт и Сервис" 2007, № 8, с. 54-58.
Автор: Николай Пчелинцев (г. Тамбов)
Источник:Ремонт и сервис