Телевизоры ЗУСЦТ...5УСЦТ еще довольно широко распространены. И далеко не каждый из них имеет систему дистанционного управления (СДУ). Только с появлением телевизионных процессоров фирм ITT, Philips, Siemens начался новый этап схемотехники телевизоров. Сейчас на радиорынках России, Беларуси и других стран СНГ полно различных модулей дистанционного управления, начиная от МСН-501, МДУ-1-1 и заканчивая совсем новыми.Современные телевизоры 6-7 поколений позволяют выводить на экран телевизора текстовую и графическую информацию. Неплохо было бы обеспечить этими возможностями и более старые телевизоры.
Предлагаю методику установки в телевизоры 4-го поколения 4УСЦТ модуля дистанционного управления МСН-501-11, системы телетекста (модуль декодера телетекста МДТ-655, МДТ-690 или МДТ-656), а также модуля согласования с разъемом "SCART" (МЗС-45).Для согласования платы КОС-401 (КОС-402, КОС-406) с системой ДУ необходимо установить ряд элементов согласования (рис.1). Для подключения платы МЗС-45 необходимо применить каскад на транзисторе, который совместно с выходным транзистором в МСН-501-11 образует инвертор с усилителем тока (рис.1 а).

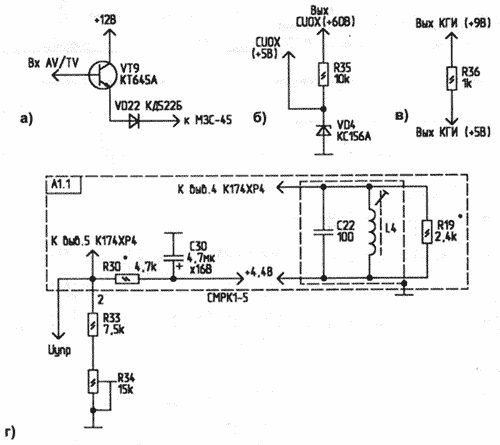
Рис.1. Согласование платы КОС-401 (КОС-402, КОС-406) с системой ДУ
Поскольку для питания модуля ДУ используется напряжение 5 В, выходные сигналы должны иметь те же величины (не более 5 В). В телевизоре напряжение синхронизирующего импульса обратного хода луча (СИОХ) имеет амплитуду 60 В, а напряжение кадрового гасящего импульса немного превышает 9 В. Превышение амплитуды входных сигналов в МСН выведет из строя центральный процессор, а снижение уровня ниже 2,8 В (уровень логической "1") приведет к исчезновению на экране телевизора графического изображения регулировок. На рис.1 б, в показаны схемы формирователя импульсов СИОХ и КГИ с амплитудой, необходимой для нормальной работы МСН.
Для управления громкостью необходимо подавать на вывод 2 модуля радиоканала (СМРК) напряжение 0...3.6 В. В СМРК-1-3, СМРК-1-5 имеется встроенный делитель напряжения, который совместно с внешними резисторами R33, R34, показанными на рис.1 г, и выходным сопротивлением МСН-501-11 обеспечивает данную регулировку. Для расширения полосы захвата АПЧГ желательно подпаять параллельно контуру АПЧГ (L4-C22 в СМРК-1-5) резистор R19 сопротивлением 2,4 кОм.

Рис. 2-3. Печатная плата блока согласования
Итак, для модернизации телевизора и установки в него всех современных "наворотов" необходимо проделать следующие операции.
1. Изготовить печатную плату блока согласования (рис. 2 и 3), в которую будут устанавливаться модули телетекста и сопряжения.
2. Демонтировать блок выбора программ, плату управления, старую систему ДУ (если имеется), модуль усилителя звуковой частоты, плату настройки.
В телевизорах 4УСЦТ это блоки:
А10 -МВП1-3(МВП-1-1,МВП-1-2);
А9 - БУ-413 (МЗЧ-501-3);
А9.1 - ПУ-42 (ПУ-41, ПУ-43, ПУ-45);
А1.2 - МУС-501 (МУС-501-1); АЗЗ - МДУ-1-1 (МДУ-1-3, ПУ-41, СМ-41);
А32 - ФП-2 (ФП-5, ПИ-5).
3.Установить блок питания на основании телевизора между БУ-413 (УЗЧ) и МП403 (МП405). В качестве блока питания желательно использовать БПД-45, БПД-45М.
4.Установить МСН-501-8 в подготовленную для этого переднюю панель телевизора на место МВП-1-3 (МВП-1-2, МВП-1-1).
5.Установить в плату согласования модуль декодера телетекста в разъем Х7 (рис.3) и плату согласования (УЗЧ) МЗС-45 в разъемы Х12 и Х9. При помощи стоек в плате МЗС-45 жестко ее закрепить (пропаять отверстия "А").
6.Установить плату соединений на боковой стенке телевизора. Разъем XS2 "SCART" платы МЗС-45 должен располагаться напротив отверстия прямоугольной формы в задней крышке телевизора.
7.Выпаять на кассете КОС-401 (КОС-402, КОС-406) следующие элементы:
С6 -0,1 мкФ;
R49 - 154 кОм;
R50 - 226 кОм;
R51 - 82 кОм;
R52 -43кОм;
R10 - 820 кОм;
R14 - 680 кОм;
R45 - 75 Ом; R57 - 27,4 кОм; R58 - 15кОм; R59 - 27,4 кОм; VD2 - КД522Б.
8. Установить вместо резисторов R50, R52, R54 проволочные перемычки, вместо R49 - резистор сопротивлением 75 кОм, вместо R57 -10 кОм, R51 - 82 кОм, R58 - 18 кОм, R59 - 33 кОм (рис.4).

9. Перерезать на КОС дорожки, соединяющие вывод 11 ИМС D2 с общим проводом, и дорожки, соединяющие выводы конденсаторов С40...С42 между собой и резистором R45 (рис.5).

10. Подпаять к освободившимся выводам конденсаторов и выводу 11 (D2) провода от разъема Х51 (рис.6) платы соединений.

11.Убедиться, что в МСН-501-11 установлены элементы С32, R86 схемы регулировки тембра и VT18, СЗО, С27, R76, R79, R80, Х13 схемы блокировки синхронизации (на некоторых моделях МСН их не впаивают в плату).

Рис. 7-8
12.Снять субмодуль радиоканала СМРК-1-9 и убедиться, что в нем установлены элементы R23, VD1, R27 (рис.7). При их отсутствии - необходимо впаять R23 номиналом 33 кОм, R27 - 10 кОм, диод VD1 - КД522Б (КД521 Б) анодом к R27, а катодом - к R23 и выводу 6 разъема Х1 (А1.1). Дополнительно, для расширения полосы захвата АПЧГ, необходимо подпаять параллельно контуру АПЧГ (C22-L4) резистор R19 сопротивлением 2,4 кОм. Установить СМРК на место.
13.Соединить плату ПКС-1 (выключатель сети) (рис.8) с БПД-45М (А12), а розетку Х1 БПД-45М (рис.9) - с вилкой Х1 модуля питания (рис.6). Разъемы Х2, Х10, Х11 - разобрать по контактам, которые переставить местами для подключения МСН к плате соединений.

Рис. 9
14.Разъем Х50 (А13) подсоединить при помощи гибкого шлейфа к соответствующим точкам МСН-501-11.
15.Для установки модуля декодера телетекста необходимо удалить на плате МСН перемычку между выводами 1 и 20 D1 и установить перемычку, соединяющую выводы 1, 19, 11 для активизации телетекста в МСН.
16.Соединить разъем Х4 МСН с гнездом Х4 БПД-45.
17.Соединить при помощи дополнительного шлейфа разъем Х45 платы соединений с точками +5 В, SCL, SDA, AV блока МСН-501-11.
18.Освобожденный вывод 2 разъема Х10 (п. 13) - удлинить и присоединить к гнезду Х10 (А13) платы соединений.
19.Освобожденные выводы 2, 13, 14 (КГИ, СИОХ, АПЧГ) разъема Х2 МСН соединить с разъемом Х47 платы соединений. При этом шлейф Х2 необходимо разрезать вдоль на три части.
20.Шлейф, подсоединенный к разъему Х48 платы соединений, припаять к соответствующим точкам кассеты обработки сигналов (КОС-401, 402, 406) в соответствии с рис.10. Провод АПЧГ при этом подпаять к выводу 16X1 СМРК-1-5.

Рис. 10
21.Шлейфы от разъемов Х49 и Х46 соединить с соответствующими выводами СМРК-1-5 на плате КОС, возле гнезда Х1 (А1). Провода от контактов 7, 3,5,1 разъема Х1 обязательно должны быть в экранирующей оплетке, свободные концы которой соединяются с общим проводом.
22.Шлейф от разъема Х44 платы соединений припаивается к точкам 8 и 12 разъема Х2(А1) КОС.
23.К разъему Х1 МЗС-45 (рис.11) подсоединить динамическую головку телевизора, а разъем ХЗ МЗС-45 соединить с соответствующим гнездом на плате модуля питания (А9). Разъем Х13 МСН соединить с гнездом блокировки синхронизации XN1 на КОС.

Рис. 11
24.Внимательно проверьте правильность соединений блоков в соответствии с рис.6.
25.При отключенном антенном кабеле включите телевизор и переведите его при помощи пульта дистанционного управления или с передней панели МСН в рабочий режим. При этом звук должен отсутствовать, а на экране - индицироваться номер включенного канала.
26.Установите при помощи подстроечного резистора R22 на плате МСН-501-11 напряжение на его движке равным 2,5 В.
27.С помощью R10 установите на экране телевизора нормальный размер символов индикации.
28.Подсоедините антенну, и кнопкой "S" на передней панели МСН включите автопоиск станции. Символы на экране при автопоиске не должны дрожать, и должны сохранять нормальный размер. После настройки на станцию, в телевизоре должен включиться звук, произойти автоматическое включение и захват найденной станции.
29.Резистором R34 на плате соединений (при установленной по шкале на экране максимальной громкости звукового сопровождения) добейтесь громкого, без искажений, звука в динамике.
30.Проверьте работу режима AV нажатием соответствующих кнопок ПДУ. Экран должен изменить цвет на черный или темно-серый. В случае отсутствия переключения - проверьте цепь AV-сигнала и наличие в СМРК элементов блокировки радиоканала (п.12).
31. Включите режим TV и проверьте работоспособность режима телетекста. Таким способом, с небольшими изменениями, можно установить МСН-501-11 в любые телевизоры 3-го и 4-го поколений.
Источники
Автор: А. ФИЛИПОВИЧ, г. Держинск, Минской обл.