Светодиодные источники света - лампы, ленты - широко используются сегодня для освещения интерьеров. И хотя их мощность исчисляется единицами ватт, суммарная мощность всех осветительных приборов, установленных даже в пределах одной комнаты, может быть значительной. Разумеется, оставлять включённым освещение в помещении, где нет людей, - нерационально. Такая привычка приведёт к дополнительным расходам при оплате счетов за электричество.
В последнее время появились бесконтактные выключатели на основе так называемых PIR-сенсоров, которые реагируют на присутствие людей. Этими выключателями комплектуются, например, уличные прожекторы, которые размещают перед входной дверью дачного дома. Сенсоры реагируют на инфракрасное излучение человека или группы людей, появившихся в их "поле зрения", и включают освещение. PIR-модули можно приобрести в магазинах для радиолюбителей или в интернет-магазинах как отдельно, так и в составе различных электронных конструкторов. Фактически PIR-модуль представляет собой функционально законченную конструкцию. Чтобы управлять освещением в зависимости от того, есть в помещении люди или нет, его достаточно дополнить лишь несколькими внешними компонентами.
Внешний вид одного из PIR-модулей - HC-SR501 - представлен на рис. 1. С одной стороны платы находятся электронные компоненты, включая микроконтроллер, с другой - под пластмассовой линзой Френеля - сам PIR-детектор. Встроенный интегральный стабилизатор позволяет питать модуль постоянным напряжением от 5 до 15 В. Режим работы задают переключателем, установленным в правом верхнем углу модуля, два подстроечных резистора позволяют регулировать его чувствительность (от 1 до 6...8 м) и время задержки отключения при отсутствии сигнала PIR-сенсора (от 1 до 5 мин). Внизу (по рис. 1) расположены три штыревых контакта для подключения питания и управляемого устройства. Обозначения этих контактов можно увидеть только на противоположной стороне платы, сняв линзу Френеля. Управляющий сигнал на выходе модуля принимает два значения: 0 В, если PIR-сенсор не обнаруживает движения, и 3,3 В, когда перед PIR-сенсором появляются люди.

Рис. 1. Внешний вид PIR-модуля - HC-SR501
Небольшой выходной ток (менее 5 мА) и малое напряжение (всего 3,3 В) на выходе модуля не позволяют подключить непосредственно к нему исполнительное реле. Однако если для питания светодиодных осветительных приборов использовать импульсный блок питания от персонального компьютера, потребуется один-единственный элемент - оптрон - для создания автоматической системы управления освещением! Правда, такая система при обнаружении движения будет включать освещение независимо от того, день или ночь за окном.
Причина в том, что в модуле отсутствует датчик освещённости - фоторезистор, хотя печатные площадки для его подключения предусмотрены (они расположены чуть выше и левее уже упоминавшихся штырей для подводки питания и снятия выходного сигнала). Проблему легко решить, припаяв к этим площадкам два штыря подходящих размеров (они сопровождены на рис. 1 надписью "Штыри для подключения к фоторезистору").
Схема автоматического бесконтактного выключателя освещения на основе доработанного PIR-модуля представлена на рис. 2. Здесь U1 - блок питания компьютера форм-фактора ATX, B1 - PIR-модуль, EL1-EL3 и EL4 - питаемые от U1 светодиодные светильники, R1 - фоторезистор, R2 и R3 - токоограничивающие резисторы светильников. Высокий логический уровень, возникающий на выходе модуля при обнаружении движения инфракрасного источника излучения, поступает на излучающий диод оптрона U2. В результате открывается транзистор оптопары, замыкая вход PS-ON блока питания U1 на общий провод, и тот включается, зажигая подключённые к нему светильники.

Рис. 2. Схема автоматического бесконтактного выключателя освещения на основе доработанного PIR-модуля
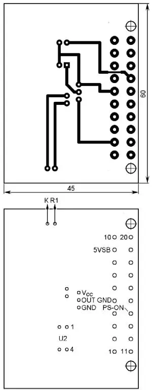
Монтаж устройства может быть навесным, тем более что фоторезистор необходимо вынести за пределы помещения, где установлен PIR-модуль, иначе он перейдёт в триггерный режим, поочерёдно включая и выключая освещение. Сделать конструкцию более компактной и надёжной можно, разместив все компоненты (кроме фоторезистора) на плате-переходнике. Чертёж возможного варианта такой платы представлен на рис. 3.

Рис. 3. Чертёж платы
Для подключения PIR-модуля и кабеля связи с фоторезистором на плате установлены гнёзда, вырезанные из 40-контактной розетки с шагом 2,5 мм. Они достаточно надёжно фиксируют модуль на плате, и дополнительное крепление не требуется. Для соединения с блоком питания использована 20-гнёздная розетка от старой компьютерной системной платы. Вместо оптрона EL817 можно применить любой транзисторный оптрон с близкими техническими характеристиками (например, серии PC817). Следует, однако, иметь в виду, что корпус, число и назначение выводов у них могут быть иными, чем у EL817, поэтому, возможно, потребуется коррекция чертежа платы. В качестве фотодатчика применён фоторезистор GL5516 китайского производства (темновое сопротивление - 0,5 МОм, сопротивление при освещённости 10 лк - 5...10 кОм).
Если PIR-модуль будет использоваться в качестве выключателя, перемычку на его плате необходимо установить в верхнее (по рис. 1) положение. Тогда контроллер модуля будет выдерживать временной интервал, выставленный подстроечным резистором. При установке перемычки в нижнее положение модуль будет отключаться сразу же, как только исчезнет сигнал от PIR-детектора. Этот режим используют в системах фото-, видеонаблюдения.
Автор: И. Цаплин, г. Краснодар