Вопросы ремонта видеотехники волнуют не только ее владельцев, но и многих специалистов и радиолюбителей, для которых ремонт видеомагнитофонов и другой видеотехники — поле основной профессиональной деятельности. Особым фактором, осложняющим работу в этой области, следует указать недостаток литературы на русском языке, в которой бы систематизирован-но освещались вопросы ремонта бытовых видеомагнитофонов, видеокамер и другой видеотехники. Имеющаяся переводная литература зачастую страдает косноязычностью и поверхностным подходом к изложению материалов. Относительно доступными можно считать заводские инструкции по ремонту выпускающихся у нас видеомагнитофонов («Электроника ВМ-12/18», а также «ВМЦ-8220/1230»). Однако специалистов интересуют прежде всего вопросы, связанные с ремонтом зарубежной видеотехники, доминирующей на рынках СНГ.
Из немногочисленной литературы по устройству, функционированию и ремонту видеомагнитофонов можно отметить книгу Дэвида Ронэна «Ремонт видеомагнитофонов» (Ростов-на-Дону, «Феникс», 1997 г.), являющуюся переводом соответствующего американского издания (1995 DELMAR, a division of international Thomson Publishing Inc). В книге достаточно полно освещены вопросы обслуживания и ремонта механической части видеомагнитофонов, а также организационные вопросы, связанные с обслуживанием клиентов и оплатой работ. К сожалению, полностью использовать материалы книги затруднительно, так как в ней рассмотрены аппараты, работающие в системе NTSC, отличающие по многим параметрам от аппаратов PAL/SECAM. Электронная часть видеомагнитофонов наиболее понятно рассмотрена в книге А.П. Афанасьева и В.В. Самохина «Бытовые видеомагнитофоны» (Москва, «Радио и связь», 1989 г.), однако эта книга довольно редкая, а рассмотренный в ней комплект микросхем для видеомагнитофона «Panasonic NV-2000» уже устарел (такие аппараты сейчас редко попадают в ремонт). Большим подспорьем могут стать сервисные руководства на ремонтируемую технику, однако они довольно дороги и доступны в основном мастерам авторизированных сервисных центров в крупных городах. Правда, сейчас появились Service Manual и электрические схемы видеомагнитофонов на компьютерных носителях (CD-дисках).
Однако пользование ими у многих может вызвать большие затруднения, так как эти руководства на английском языке, с большим числом сокращений и аббревиатур. Кроме того, работать со схемами непосредственно на компьютере очень трудно, большие схемы не помещаются на экране монитора, требуется их распечатка на бумаге с последующей склейкой фрагментов схем. В этом отношении печатные руководства по ремонту намного удобнее.
В таких условиях специалисты и радиолюбители, занимающиеся ремонтом, вынуждены от модели к модели накапливать собственную информацию по диагностике и ремонту техники. Зачастую конкуренция не позволяет некоторым мастерам делиться информацией с другими (в Интернете этой проблемы нет). Очевидный плюс такого подхода — возможность самообразования, — на взгляд автора, имеет и отрицательные моменты. Дело в том, что при этом видеомагнитофон представляют в виде набора «черных ящиков», те или иные найденные дефекты ремонтники заносят в собственный массив неисправностей, который и служит руководством к действию в последующей работе.
При большом объеме такой информации ремонтировать аппаратуру можно довольно быстро и эффективно. Однако при этом остаются далеко в стороне и сущность процессов, протекающих при работе видеомагнитофонов, и особенности тех или иных схемных решений, а также, конечно модернизация и расширение функциональных возможностей аппарата. Дополнительным отрицательным фактором при таком «формальном» ремонте является также невозможность использования отечественных узлов и элементов от других производителей в виде функциональных эквивалентов.
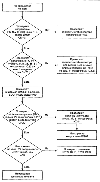
Рассмотрим теперь алгоритм поиска неисправностей, предлагаемый заводскими фирменными инструкциями по ремонту. Для примера на рис. 1 показано содержание пункта 5-6 (раздел 5 — поиск неисправностей) руководства по ремонту видеомагнитофона «Электроника-Самсунг ВМЦ-1230». Из него видно, что для проверки такой сложной системы, как система автоматического регулирования (САР) ведущего вала (ВВ), предложено всего четыре этапа, а в число возможных неисправных элементов входят двигатель ВВ, микросхема CAP IC201 (HD49748NT фирмы HITACHI), три резистора, один диод и два источника питания (+5 В и +15 В). Причем под двигателем ВВ понимают весь узел ведущего вала, включая микросхему управления бесконтактным двигателем.

Рис. 1
Cодержание пункта 5-6 (раздел 5 — поиск неисправностей) руководства по ремонту видеомагнитофона «Электроника-Самсунг ВМЦ-1230»
Примерно такой же объем проверок предложен и для других функциональных блоков видеомагнитофонов. Этого конечно недостаточно для эффективного ремонта. Большую пользу в практической работе имеет использование принципиальных и функциональных схем в руководстве по ремонту, хотя следует сказать, что пользование ими может вызвать серьезные затруднения. Так, например, функциональные схемы видеомагнитофона ВМЦ 1230 представляют собой смесь из английских и русских аббревиатур, многие из которых отсутствуют в списке сокращений руководства. К тому же не дано описание функционирования как видеомагнитофона в целом, так и его отдельных узлов. Несмотря на отмеченные недостатки, наличие под рукой подобных руководств на зарубежную аппаратуру — мечта многих ремонтников (особенно в провинции).
С каких же позиций следует подходить к ремонту «океана разнообразия» зарубежной бытовой видеотехники? Представляется целесообразным все же начать с изучения имеющейся литературы. Это позволит в некоторой степени получить начальную базу знаний. Кроме указанных выше книг имеется довольно много популярной литературы по видеотехнике, часто переводной. Однако в ней обычно отсутствуют описания схемотехнических решений, зато в изобилии присутствуют ошибки и неточности перевода, поэтому, читая подобную литературу, необходимо соблюдать определенную осторожность, то есть, можно мягко сказать, не верить на слово всему, что там написано.
На следующем этапе работы целесообразно провести условную классификацию видеомагнитофонов на предмет выяснения принадлежности той или иной модели к определенной «школе» разработчиков. Хотя следует сразу сказать, что полные сведения об этом получить конечно же невозможно, информацию нужно накапливать постепенно, в процессе практической работы. Важность этого вопроса заключается в следующем. На текущий момент в мире можно насчитать не одну сотню фирм (а также торговых марок), выпускавших и выпускающих бытовую видеотехнику.
Если пытаться накапливать информацию по принципу «конкретная модель — конкретный пакет рекомендаций», то наполнить такую «бездонную бочку» информацией практически невозможно.
Тем не менее приемлемый выход из сложившегося положения имеется. Он заключается в сравнительно небольшом числе «школ» - разработчиков бытовой видеотехники. Специалисты могут в этом убедиться, сняв кожух и лицевую панель с любого видеомагнитофона европейской, азиатской, или американской марки. В большинстве случаев окажется, что вся его «начинка» — японского или корейского происхождения. Конечно, отдельные узлы и элементы могут быть не японскими, в частности в видеомагнитофонах европейских торговых марок тюнеры, декодеры аналогового и цифрового звука нередко изготовлены фирмами PHILIPS, SIEMENS, TELEFUNKEN и др.
Основными разработчиками видеомагнитофонов, причем не только бытовых, но и профессиональных, являются фирмы MATSUSHITA ELECTRIC (Panasonic), JVC, SONY. Бытовые аппараты разрабатывают также фирмы SANYO, HITACHI, SHARP, TOSHIBA, AKAI, SAMSUNG, LG, в последнее время и THOMSON. В отдельные годы видеомагнитофоны выпускали концерны MITSUBISHI и NEC. Фирмы «второго эшелона» (FUNAI, ORION, AIWA, DAEWOO) в 90-х годах выпускали аппараты массового спроса, более дешевые чем у вышеперечисленных фирм. В настоящее время их продукция занимает незначительную часть рынка.
В таблице приведены некоторые сведения из различных источников, в том числе из рабочих записей автора, о принадлежности видеомагнитофонов и видеокамер различных торговых марок к вышеперечисленным «школам» разработчиков. Некоторые фирмы-владельцы торговых марок в разное время использовали «начинку» для своих видеомагнитофонов от разных производителей. Например, фирма PHILIPS в 80-е годы использовала продукцию SHARP, а в 90-е годы - JVC (ряд моделей).
Таблица 1
| Фирма-производитель | Возможные торговые марки |
| FUNAI | FUNAI, TENSAI, AIWA, KANSAI, PANORAMA, CASIO, DYNATECH, TEAC, LLOIDS |
| LG (GOLD STAR) | LG, GOLD STAR, UNIVERSUM, EMERSON, MEMOREX |
| HITACHI | LOEWE, HITACHI, MINOLTA, PENTAX, RCA, SEARS, GE |
| JVC | JVC, VICTOR, TELEFUNKEN, PHILIPS, SABA, GRAETZ, KENWOOD, TOSHIBA, ZENITH |
| MATSUSHITA ELECTRIC | PANASONIC, NATIONAL, BLAUPUNKT, METZ, SIEMENS, GRUNDIC, PHILIPS, CANON, GE, KODAK, QUASAR, RCA, MAGNAVOX |
| SAMSUNG | SAMSUNG, RCA, MIDLAND, SUPRA, UNITECH |
| SANYO | SANYO, FISHER, SEARS, SIEMENS |
| SHARP | SHARP, PHILIPS, KMC |
| SONY | SONY, SANYO |
| TOSHIBA | TOSHIBA, JVC |
Прежде чем начать рассмотрение признаков принадлежности конкретных моделей видеомагнитофонов к той или иной фирме — разработчику, остановимся на общих подходах к ремонту, а также потенциальным источникам отказов и надежности аппаратуры. С точки зрения автора, можно выделить основные причины отказов видеомагнитофонов.
Главная и наиболее часто встречающаяся причина отказов - естественный износ узлов и элементов лентопротяжного механизма (включая износ видеоголовок). Вторая причина — некорректное применение разработчиками электрорадиоэлементов: с малым запасом прочности по напряжению, рассеиваемой мощности, току и т.д.
Довольно широко распространено мнение о сравнительно небольшом сроке службы видеоголовок. Однако в связи с особенностями ЛПМ бытовых видеомагнитофонов износ видеоголовок все же уходит на второй план по сравнению с другими факторами, хотя, несомненно, видеоголовки, непрерывно контактируя с магнитной лентой, испытывают значительное абразивное воздействие. Тем не менее первичные отказы возникают в основном по другим причинам. Дело в том, что при обычной эксплуатации видеомагнитофонов в быту очень часто используются так называемые переходные режимы — пуск/стоп, смена кассеты, поиск с реверсированием, пауза при записи, поиск в режиме перемотки и т.п. Следовательно, на проигрывание одной видеокассеты обычно приходится большое число перемещений элементов ЛПМ, направляющих движение ленты. Также необходимо обеспечение постоянного и стабильного во времени сцепления трущихся узлов (узлы подмотки, ленточные и плоские тормоза), фиксированного давления в силовых прижимных узлах прижимного ролика, механизма фиксации кассеты и др. При переключениях режимов работы видеомагнитофона силовые элементы ЛПМ подвергаются значительным перегрузкам, их рабочие поверхности со временем истираются и деформируются, причем это обычно становится заметным значительно раньше появления признаков износа видеоголовок.
Следует заметить, что при профессиональном использовании видеомагнитофонов (коммерческая перезапись) износ видеоголовок выходит на первый план, так как аппаратура при этом работает в основном в рабочем режиме (запись или воспроизведение) и на одну кассету приходится минимальное число переходных режимов. В зависимости от типов используемых видеоголовок, давления на них магнитной ленты в конкретных аппаратах и условий эксплуатации (влажность, запыленность) срок службы видеоголовок может составлять 4000...6000 часов для монофонических моделей и 2000...4000 - для HI-FI стереофонических.
Принять решение о замене видеоголовок при ремонте не всегда просто, так как критерии, по которым определяется необходимость их замены неоднозначны. Вынос наконечников (рабочей части) видеоголовок за пределы поверхности верхних цилиндров (ВЦ) блоков вращающихся головок (БВГ) у новых экземпляров находится в пределах 30...40 мкм. Некоторые экземпляры новых видеоголовок, продающихся у нас, имеют значительно больший вынос (50 мкм и более). Работа БВГ с такими головками сопровождается довольно сильным акустическим шумом (треском), вызванным ударами наконечников видеоголовок о ленту. Изнашиваются головки с таким большим выносом значительно быстрее — иногда через 2000...3000 часов наработки они стираются на всю глубину зазора. Довольно широко распространены верхние цилиндры БВГ «неизвестного происхождения» для аппаратуры Panasonic. По внешнему виду упаковки отличить их от фирменных невозможно (стоимость фирменных ВЦ обычно больше в два и более раз на однотипные позиции). На дорогостоящие многоголовочные ВЦ для VHS HI-FI стерео и S-VHS видеомагнитофонов фирма MATSUSHITA ELECTRIC часто устанавливает аморфные видеоголовки (VEH0467, VEH0651 и др.). Отличить их от ферритовых можно не вскрывая упаковку — по зеленому цвету наконечников видеоголовок (звуковые HI-FI и «летающие» головки стирания — ферритовые, с наконечниками черного цвета). Самое характерное отличие «фирменных» ВЦ Panasonicзаключается в наличии следов от сверления на их внутренней стороне. Таким образом осуществляется балансировка массы ВЦ для равномерного вращения БВГ, верхние цилиндры неизвестного происхождения следов сверления не имеют.
В процессе эксплуатации видеоголовки постепенно стираются, величина выноса наконечников уменьшается. Для видеоголовок, не имеющих внутренних дефектов, уменьшение выноса до 10...15 мкм визуально, по изображению в режиме воспроизведения, заметить практически невозможно. А вот в HI-FI стерео видеомагнитофонах уменьшение величины выноса можно заметить. На сделанных записях в HI-FI каналах может появиться потрескивание или их временное отключение в различных местах фонограммы. Связано это с тем, что по мере износа эффективность видеоголовок растет, а видеосигналы записываются на магнитной ленте поверх HI-FI звуковых.
Растет и стирающее воздействие ЧМ сигналов яркости на величину намагниченности дорожек HI-FI звука. В результате она уменьшается и соответственно ухудшается соотношение сигнал/шум в звуковом тракте. Устранить этот эффект можно путем уменьшения тока записи ЧМ сигналов яркости, что благоприятно влияет и на качество изображения. К сожалению, регулировка тока записи в яр-костном канале предусмотрена далеко не во всех моделях видеомагнитофонов. В современных моделях такая технологическая операция обычно не предусмотрена, а неизменный ток записи в них поддерживается с помощью систем автоматической регулировки усиления (АРУ). Но и в таких случаях регулировка тока записи сигналов яркости возможна путем изменения параметров внешних цепей систем АРУ, правда для проведения таких операций от специалистов требуется четкое представление о структуре и работе каналов яркости конкретных аппаратов.
Дальнейшее (до единиц микрон) уменьшение величины выноса наконечников видеоголовок уже можно заметить при воспроизведении изношенных магнитных лент. На изображении могут появляться белые штрихи, черные «тянучки» на перепадах яркости, особенно это заметно на титрах. При этом наблюдается и активная работа компенсаторов выпадений (DOC). Однако на «свежих» записях, сделанных на новых качественных видеокассетах, проявление износа при воспроизведении можно и не заметить. В таких случаях можно воспользоваться следующим приемом. Подключают осциллограф к выходу усилителя воспроизведения или к соответствующей контрольной точке в режиме внешней синхронизации сигналом переключения видеоголовок и контролируют форму огибающей ЧМ сигнала яркости. Уменьшают обратное натяжение ленты путем отвода рычага узла натяжения в правую сторону и наблюдают при этом изменение формы огибающей ЧМ сигнала яркости. При небольшом износе видеоголовок изменение формы огибающей как правило незначительное (как показано на рис. 2а). При значительном износе -на огибающей появляются провалы (рис. 2б). Во многих случаях значительный износ видеоголовок можно выявить в режиме ускоренного просмотра вперед. Нередко этот режим сопровождается выходом из синхронизма систем авторегулирования, сопровождающийся увеличением скоростей вращения БВГ и протяжки ленты. Такой эффект возникает вследствие значительного роста величины сцепления магнитной ленты с поверхностью ВЦ БВГ из-за уменьшения воздушного зазора между ними.

Рис. 2а
Форма огибающей ЧМ сигнала яркости

Рис. 2б
Форма огибающей ЧМ сигнала яркости
При этом резко растет натяжение ленты на участке между БВГ и ВВ, а системы авторегулирования уже не в состоянии поддерживать синхронное вращение двигателей.
Некоторые фирмы выпускали верхние цилиндры и видеоголовки с увеличенным рабочим ресурсом. Например, можно отметить верхние цилиндры с титановым покрытием фирмы SHARP (золотистого цвета) и с «алмазным» по-, крытием фирмы DAEWOO (голубого цвета). Фирма SAMSUNG ELECTRONICS также в последние годы выпускает видеоголовки с «алмазным» покрытием наконечников. В пользовательских инструкциях на аппаратуру с такими головками утверждается об их трехкратном ресурсе по сравнению с обычными (очевидно, ферритовыми). Однако на практике это не подтверждается. В качестве примера приведем следующий факт: на одной из тиражных студий (в г. Ростов-на-Дону) после наработки 4000...5000 часов три десятка видеоплееров «Samsung SVR-537» с «алмазными» головками (DIAMOND HEADS) потребовали их замены в связи со значительным уменьшением (в 2...3 раза) отдачи в полосе частот сигнала яркости. Выпускает долговечные (LONG-RUN) видеоголовки и фирма MATSUSHITA ELECTRIC , используемые в видеомагнитофонах и видеоплеерах последних лет выпуска. Заявленный ресурс головок — 8000 часов (подтверждающих это данных в распоряжении автора нет).
Несколько продлить срок службы видеоголовок можно путем увеличения обратного натяжения ленты (до 2-3-х раз). Однако в ряде случаев износ видеоголовок сопровождается появлением дефектов на поверхности наконечников, контактирующих с лентой. Характерный признак такого рода износа — это появление подверженности видеоголовок загрязнению (налипшие на наконечники частицы пыли и магнитной ленты долго удерживаются). Кондиционные же головки при загрязнении довольно быстро самоочищаются. Помочь в таких случаях может полировка поверхности наконечников на специальном оборудовании или с помощью специальных «полировочных» видеокассет (для аппаратуры 8-ми форматов такие кассеты выпускает фирма SONY).
Источник
Автор: Ю. Петропавловский