В связи с расширением телевизионного вещания в более высокочастотных диапазонах возникла необходимость в малогабаритной широкополосной антенне для приёма ТВ-каналов с 6-го по 60-й. Реализовать её помогла статья [1], в которой описана широкополосная антенна для приёма телепередач во всём метровом диапазоне частот. Взяв за основу применённый автором принцип её построения, удалось сконструировать антенну, способную обеспечить достаточно хорошее качество приёма в указанных выше каналах при значительном уменьшении размеров.
Устройство предлагаемой антенны схематично показано на рис. 1. Она представляет собой комбинацию двух антенн: шунтового вибратора [2] и семиэлементной вибраторной логопериодической антенны (ЛПА), описанной в [3]. О положительных свойствах шунто-вого вибратора в технической литературе написано много, поэтому останавливаться на них в этой статье мы не будем. К достоинствам ЛПА относится то, что её не нужно настраивать.

Рис. 1. Устройство антенны: 1 - коробка с антенным усилителем; 2 - перемычка; 3 - диэлектрические вставки; 4 - собирательные линии ЛПА; 5 - вибраторы ЛПА; 6 - шунтовой вибратор; 7 - точки механического контакта; 8 - шунт; 9 - точка нулевого потенциала п; 10 - коаксиальный кабель РК75; 11 - шунтовой вибратор.
К точкам питания шунтового вибратора а и б подключена собирательная линия ЛПА, а к точкам в и г, которые являются точками питания ЛПА и одновременно всей комбинированной антенны, подведён соединительный коаксиальный кабель (он идёт от штанги или мачты, на которой закреплена антенна, до точки нулевого потенциала п шунта вибратора, затем по проводникам п-б до точки б, далее по проводнику б-г и, наконец, приходит к согласующей плате, которая подключена к точкам в и г собирательной линии ЛПА). Неиспользуемый для эфирного телевещания диапазон частот 230...470 МГц (с 13-го по 20-й каналы) удачно способствует разделению функций шунтового вибратора и ЛПА.
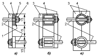
Конструктивно комбинированная антенна выполнена из отрезков дюралюминиевых уголков и прутков. Все детали соединены одна с другой винтами с гайками (в некоторых случаях крепёжные винты ввинчены в резьбовые отверстия в сопрягаемых деталях). Собирательная линия ЛПА 4 (рис. 2,а) изготовлена из дюралюминиевой полосы сечением 15x4 мм. При повторении конструкции можно использовать дюралюминиевую трубку квадратного (рис. 2,б) или круглого (рис. 2,в) сечения (первый из этих вариантов предпочтительней, так как позволяет для сверления отверстий в заготовках использовать вместо сверлильного станка обычную дрель).

Рис. 2. Конструкция собирательной линии ЛПА (а - из дюралюминиевой полосы, б - из трубок квадратного сечения, в - из трубок круглого сечения): 1 - шайба плоская; 2 - вибраторы ЛПА; 3 - диэлектрическая планка; 4 - штанга собирательной линии; 5 - шайба пружинная (гровер); 6 - гайка.
Вибраторы 2 изготовлены из дюралюминиевой проволоки диаметром 4 мм. Для крепления к штангам 4 собирательной линии на одном из концов вибратора нарезана резьба, такая же резьба нарезана и в отверстиях штанг 4 собирательной линии ЛПА. При сборке вибраторы ввинчивают в отверстия штанг, надевают на выступающие концы вначале обычные плоские шайбы 1, затем пружинные шайбы 5, после чего навинчивают до упора (пока последние не станут плоскими) гайки 6. Длину заготовок вибраторов определяют с учётом профиля штанг (расчётную длину вибраторов отсчитывают от перпендикулярной им плоскости, проходящей через оси штанг собирательной линии).
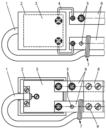
Об особенностях конструкции антенны. Начнём с того, что сегодня коаксиальный кабель не паяют, а применяют для соединения с ним всевозможные разъёмы, переходники, платы, поэтому пришлось применить коробку LGturbo (на рис. 3 обозначена цифрой 2), в которой при необходимости нетрудно установить плату согласования на основе трансформатора на длинных линиях (ТДЛ) или пластинчатый антенный усилитель (ПАУ). Эту коробку можно закрепить как с помощью перемычек 4 (2 шт.), так и непосредственно на штангах 6 собирательной линии ЛПА. Перемычки 4 применены от польской антенны.

Рис. 3. Узел коробки для плат согласования антенны и антенного усилителя (а - с креплением с помощью перемычек, б - непосредственно на штангах собирательной линии): 1 - коаксиальный кабель; 2 - коробка LGturbo; 3 - плата; 4 - перемычка; 5 - вибраторы ЛПА; 6 - штанги собирательной линии; 7 - узел крепления кабеля к штанге; 8 - диэлектрическая планка; 9 - винты крепления планки 8 к дет. 6.
Шунтовые вибраторы взяты готовые - использованы дюралюминиевые кольца внешним диаметром 180 мм от старых вычислительных машин. В качестве заготовок для этой части антенны можно применить и кольца большего размера, обрезав их для уменьшения парусности до меньшего диаметра.
При настройке антенны выяснилось, что шунтовой вибратор уверенно принимает сигналы телецентров, работающих на частотах с 6-го по 38-й каналы, поэтому самый длинный вибратор ЛПАбыл удалён.
Несколько слов о согласующей плате. В этом помогла опубликованная в "Радио" статья [4]. Плата SYMMETRICAL DIVICE OF ANTENNA и антенные усилители ASP-4WA, ASP-8WA, CX-8WA и им подобные работали в данной антенне без каких-либо доработок.
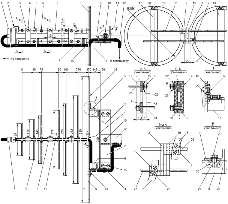
Конструкция и размеры крупных деталей описываемой антенны показаны на рис. 4. Размеры вибраторов ЛПА и расстояния между ними взяты из публикации [3]. Материалы и рекомендации по сборке антенны приведены в подписи под рисунком.

Рис. 4. Конструкция антенны: 1 - коробка LGturbo; 2 - перемычка, 2 шт.; 3, 19 - планки, стеклотекстолит толщиной 4...5 мм, по 3 шт., крепить к дет. 7 винтами 4 с гайками 6 и шайбами 22, 23; 4 - винты М4х20, 6 шт.; 5, 21, 24-27 - вибраторы ЛПА, проволока дюралюминиевая диаметром 4 мм, на концах нарезать резьбу М4, ввинтить в резьбовые отверстия в линиях 7, закрепить гайками 6 с шайбами 22 и 23; 6 - гайки М4, 18 шт.; 7 - собирательная линия ЛПА, полоса 4х15 мм, Д16Т, 2 шт., в отверстиях под вибраторы нарезать резьбу М4; 8, 16 - шунтовые вибраторы, крепить к дет. 7 винтами 20; 9, 18 - детали короткозамкнутого шлейфа, уголок 20х20х3 мм, Д16Т, крепить к дет. 13 и 17 винтами 20; 10 - болт М6 (М8); 11 - поперечина, уголок 30х30х3 мм, Д16Т, крепить к дет. 9 и 18 винтами 15 с гайками 6 и шайбами 22, 23; 12 - держатель антенны, уголок 20х20х3 мм, Д16Т, крепить к дет. 11 болтом 10 с гайкой 29 и шайбами 28, 30; 13, 17 - держатели вибраторов 8 и 16, уголок 20х20х3 мм, Д16Т, в отверстиях под винты 20 нарезать резьбу М4; 14 - кабель коаксиальный РК-75, крепить к дет. 7, 9 и 12 рыболовной леской диаметром 0,6...0,8 мм; 15 - винт М4х12, 4 шт.; 20 - винты М4х8, 12 шт.; 22 - шайба плоская, 22 шт.; 23 - шайба пружинная (гровер), 22 шт.; 28 - шайба плоская, 2 шт.; 29 - гайка М6 (М8); 30 - шайба пружинная (гровер). Материал всех винтов, гаек и шайб - нержавеющая сталь.
При изготовлении антенны следует помнить о так называемых недопустимых гальванических парах. Они образуются в местах непосредственного соприкосновения деталей из разных металлов и сплавов и приводят во влажной среде к их повышенной коррозии. Например, недопустим непосредственный контакт деталей из алюминия и его сплавов с деталями из нелегированной стали (в том числе имеющими гальваническое покрытие цинком, никелем или хромом), меди и её сплавов; нельзя использовать для соединения деталей из одного и того же материала (например, из алюминиевых сплавов) болты, винты и гайки из нелегированной стали и медных сплавов и т. д. Более подробно обо всём этом можно прочитать в [5, 6].
Местность, в которой проживает автор, находится примерно в 15 км от телецентра, уровень сигнала хороший, поэтому антенный усилитель не понадобился. Всего было изготовлено три комбинированные антенны: две - рассмотренной конструкции и одна - с шунто-вым вибратором по рис. 3 в статье [2].
Последняя обладает лучшими характеристиками, но при изготовлении она оказалась и самой металлоёмкой. Более четырёх лет антенны работают с телевизорами фирм LG, SAMSUNG, JVC, причём две из них находятся под крышей, а одна - снаружи на фронтоне дома (на рис. 5 показан её вид снизу). Качество изображения хорошее.

Рис. 5. Внешний вид антенны
За прошедшие годы был изготовлен и образец антенны с более широкими дисками в качестве шунтового вибратора. Качество изображения также хорошее. Появились частные телеканалы небольшой мощности. Из-за недостаточного уровня сигнала качество приёма их передач оказалось невысоким, поэтому пришлось встроить в антенны усилители.
Литература
1. Харченко К. Комбинированная телевизионная антенна. - Радио, 1974, № 9, с. 31, 32.
2. Харченко К. Диапазонные шунтовые вибраторы. - Радио, 1971, № 4, с. 35, 59.
3. Нунупаров Г. Наружная антенна для приёма ДМВ. - Радио, 1990, № 8, с. 50-52.
4. Пахомов А. О согласовании пластинчатых антенных усилителей. - Радио, 2000, № 11, с. 11, 12.
5. Захаров В. Трёхдиапазонная трёхэлементная антенна. - Радио, 1970, № 4, с. 17-20.
6. Техническая библиотека lib.qrz.ru. Телеприём на дачном участке далеко за городом. 7. Выбор места установки антенны и молниезащита. 7.1. Основные материалы для изготовления антенн. - URL: http://lib.qrz. ru/node/2174 (08.08.17).
Автор: А. Малютин, с. Сергеевка Запорожской обл., Украина