Предложена замена линзовой оптической системы извещателя PYRONIX COLT на зеркальную фокусирующую систему, значительно увеличивающую его дальность действия.
Чувствительная зона инфракрасных извещателей PYRONIX COLT XC [1] или PYRONIX COLT QUAD [2] в горизонтальной плоскости представляет собой сектор с центральным углом 90о и радиусом около 15 м. Она разграничена дугами окружности, между которыми находятся области, соответствующие различным порогам чувствительности извещателя. Границы этих областей определяются конфигурацией оптической системы, образованной изогнутой плёнкой из полупрозрачного пластика, с внутренней стороны которой спрофилированы группы усечённых линз Френеля, и составным тубусом из непрозрачного пластика. Их чувствительные элементы - пироэлектрические датчики LHi778, LHi878, LHi968 или их аналоги, возможности которых не ограничены дальностью 15 м.
Предлагаю взамен штатной применить зеркальную фокусирующую систему. Можно использовать съёмные зеркально-линзовые объективы системы Максутова-Кассегрена [3] - отечественные МТО-1000, МС МТО-11, "Руби-нар 10/1000", "Астро-Рубинар 100" или импортные Phoenix 500mm f8 mirror, SMC Pentax-M Reflex 2000 mm, Nikkor Mirror 2000 mm, а также телескопы радиационных пирометров устаревших моделей.
Я применил оптическую систему Грегори [3], что позволило при максимальной чувствительности извещателя увеличить радиус чувствительной зоны до 100 м при её центральном угле не более 1о.
Доработанный извещатель может быть использован как устройство электроспуска при фотосъёмке живой природы или как охранный извещатель. Для облегчения оперативной наводки на труднодоступные места он оборудован отключаемым лазерным целеуказа-телем. В нижней части корпуса извеща-теля имеется крепёжная втулка с наружной резьбой 1/4"-20 UNC, позволяющая устанавливать его на фотоштатив.
Основные технические характеристики
Разрешение оптической системы ...................400:1
Коэффициент усиления оптической системы .........1000
Размеры прямоугольного пятна контроля на расстоянии 100 м, м............2x1,5
Длина волны лазерного излучателя, нм ...............650
Цвет свечения лазерного излучателя ..............красный
Мощность излучения лазерного целеуказателя, мВт, не более ....................... 5
Диаметр пятна лазерного целеуказателя на расстоянии 10 (100) м, м, не более ..................0,07(0,7)
Напряжение питания (постоянное), В......................12
Потребляемая мощность, мВт, не более
без лазерного целеуказателя.....................180
с лазерным целеуказателем .....................240
Масса, кг ......................0,74
Схема доработки электрической части извещателя изображена на рис. 1.

Рис. 1. Схема доработки электрической части извещателя
Пироэлектрический датчик BK1 перенесён с платы датчика извещателя в корпус новой оптической системы. Эта плата соединена с вновь изготовленной платой питания и реле, схема которой показана на рис. 2. Здесь расположен линейный стабилизатор напряжения DA1. Его нагрузка - лазерный модуль EL1 (см. рис. 1), ток через который стабилизирован узлом на транзисторе VT2 [4]. Если лазерный модуль оборудован встроенным драйвером, а номинальное напряжение его питания равно 5 В, резисторы R3 и R4, диоды VD1 и VD2 и транзистор VT2 можно не устанавливать, а контрольные точки XT2 и XT3 соединить перемычкой.

Рис.2. Схема платы питания и реле
Контакты расположенного на плате датчика электромагнитного реле при срабатывании последнего размыкаются. Но для управления фотокамерой по цепи Expose, подключённой параллельно её одноимённой кнопке, необходимо их обратное действие (замыкание). Пришлось добавить в устройство твёрдотельное реле U1 и узел управления им на транзисторе VT1. Ток через излучающий диод реле U1 и транзистор VT1 ограничен резистором R2.
Размеры печатной платы питания и реле - 40x60 мм. Её чертёж, а также схема размещения элементов изображены на рис. 3. На ней установлены оксидные конденсаторы C2, C4 серии B41121 EPCOS, керамические конденсаторы C1, C3 серии X7R AVX, все резисторы - серии CHV1206 (0,25 Вт) BOURNS. Соединитель XT1 составлен из трёх двухконтактных винтовых зажимных колодок KLS2-104-5.00-02P-4S с шагом контактов 5 мм.

Рис. 3. Чертёж печатной платы и схема размещния элементов на ней
Лазерный модуль EL1 включают верхними по схеме контактами движкового переключателя SA1 (DS RWJ-0202K).
При этом его нижними по схеме контактами разрывается цепь Expose фотокамеры, так что во время прицеливания съёмка автоматически выполняться не будет.
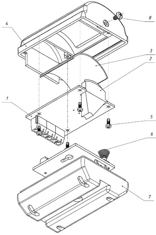
Сборочный чертёж новой оптической системы показан на рис. 4. Её корпус 1 закреплён на текстолитовой пластине 2 толщиной 15 мм четырьмя шпильками 3 с резьбой М3 и общей длиной 55 мм, гайками 16 и шайбами 17. Пластина 2 имеет отверстие диаметром 8 мм, через которое проходят провода от пироэлектрического датчика 4, провод, соединяющий корпус 1 с общим проводом устройства, а также провода от выключателя 8 (SA1).

Рис. 4. Сборочный чертёж оптической системы
Корпус датчика 5 закреплён на пластине 2 четырьмя винтами М3 6. В нижней половине корпуса 5 также имеется отверстие диаметром 8 мм, соосное с отверстием для проводов в пластине 2. Корпус 1 имеет рифлёную внутреннюю поверхность и зачернён для ослабления вредного света второго и высших порядков. Зеркало 9, имеющее диаметр 40 мм и фокусное расстояние 180 мм, установлено в передней части корпуса 1, имеющей три сквозных окна, и закреплено в ней резьбовой втулкой 10 через прокладку 11. Датчик 4, установленный в оголовке 12, прижат резьбовой втулкой 13 через алюминиевую шайбу 14 и опирается на текстолитовую шайбу 15, имеющую три отверстия диаметром 0,5 мм для выводов сенсора.
Оголовок 12 также имеет рифление и чернение наружных поверхностей. В задней части корпуса 1 установлено зеркало 18, имеющее наружный диаметр 80 мм, диаметр отверстия 38 мм и фокусное расстояние 120 мм. Оно прижато втулкой 19 через шайбу 20 и упругую втулку 21. Оголовок 12 прикреплён к втулке 22, установленной в столике 23.
Перпендикулярность чувствительной поверхности пироэлектрического датчика 4 к оптической оси системы обеспечивают тремя установочными винтами 24, расположенными по краям столика 23. После регулировки столик 23 прижимают к внутренней поверхности втулки 19 втулкой 26 через сферическую шайбу 25. Резьбовое соединение втулок 19 и 26 застопорено винтом 27.
Регулировку фокусного расстояния обеспечивает резьбовое соединение втулки 22 со столиком 23. После регулировки его стопорят винтом 28. Втулка 22 имеет облуженный монтажный лепесток, предназначенный для подключения общего провода. Место его установки отмечено на рис. 4 символом пайки.
Выключатель 8 установлен в сквозном прямоугольном отверстии в пластине 2 и закреплён двумя винтами M2 29. В нижней части пластины 2 установлена втулка 30, имеющая внутреннюю резьбу 1/4"-20 UNC. В верхней части пластины 2 имеется U-образный паз, в котором установлен лазерный модуль 7, прижатый алюминиевой пластиной 31, служащей для него дополнительным теплоотводом. Во избежание проскальзывания лазерный модуль 7 обёрнут в один слой эластичной теплопроводящей подложкой из материала КПТД-2 толщиной 0,3 мм прямоугольной формы размерами 18x15 мм. Можно использовать также подложку размерами 18x13 мм для корпуса ТО-220. Пластину 31 крепят двумя винтами М3 32 с потайными головками.
Перед монтажом оптической системы необходимо извлечь из корпуса датчика детали тубуса (рис. 5) и отпаять пироэлектрический датчик. Выводы последнего необходимо вставить в отверстия шайбы 15 и соединить их тремя гибкими проводами с соответствующими контактными площадками штатной печатной платы. Вместо части штатного тубуса в форме рамки установите печатную плату питания и реле. Нижнюю часть штатного тубуса устанавливать тоже не нужно.

Рис. 5. Детали тубуса
На рис. 6 показано расположение этой платы 1. В ней имеется прямоугольный вырез для фиксации штатной линзы 2 сигнального светодиода датчика. Эту плату прикрепите к верхней половине корпуса 4 четырьмя самонарезающими винтами для пластмассы 5. Она удерживает также линзу датчика 3. Крышку 4 прикрепите к нижней половине корпуса 7 винтом 8. На рис. 6 видно также отверстие диаметром 8 мм в кабельном пазе нижней половины корпуса 7.

Рис. 6. Расположение деталей устройства
Вид собранного извещателя, установленного на штативе, показан на рис. 7. Здесь также виден кабель КСПВГ 4x0,2 для временной установки. При стационарной установке допускается использовать кабель КСПВ 4x0,5.

Рис. 7. Вид собранного извещателя, установленного на штативе
Юстировку оптической системы производите с подключёнными к пироэлектрическому датчику 4 и втулке 22 (см. рис. 4) проводами. Но вторые концы этих проводов должны пока оставаться свободными.
Перпендикулярность чувствительной поверхности датчика 4 к оптической оси системы необходимо обеспечить регулировкой установочных винтов 24 при снятой втулке 26 и шайбе 25. После регулировки зафиксируйте винты 24 краской. Затем установите втулку 26 и шайбу 25 без затяжки. Соосность цилиндрической части корпуса пироэлектрического датчика 4 и оптической оси системы обеспечьте перемещением столика 23. После этого затяните втулку 26, зафиксируйте её винтом 27, а винт залейте краской.
Установите чувствительную поверхность датчика 4 в фокус системы вращением втулки 22. Ориентация оптического окна датчика 4 показана на рис. 4 (вид слева). Расположение ключа корпуса датчика при этом безразлично.
Если после фокусировки ориентация окна не совпадает с показанной, измерьте угол между нижней стороной окна датчика и горизонтом, полностью выверните втулку 22 и ослабьте втулку 13. Повернув датчик на необходимый угол, затяните втулку 13, вверните втулку 22 и повторите фокусировку. Втулку 13 зафиксируйте винтом 28, а его - краской.
При фокусировке можно пользоваться любым источником видимого света. Закончив её, можно соединить датчик 4 и втулку 22 с платой датчика и установить систему на шпильки 3. После окончательной сборки отъюстируйте оптическую ось системы относительно оптической оси лазерного излучателя регулировкой гаек 16 в четырёх (по числу шпилек 3) местах.
Для стационарной установки извещателя допустимо использовать настенный кронштейн DH-PFB110W для корпусных видеокамер или аналогичный с максимальной нагрузкой 1 кг и наружной резьбой крепления 1/4"-20 UNC. Для временной установки можно использовать любой фотоштатив с таким же креплением аппарата. Поскольку извещатель способен работать при температуре от -30 оС до +70 оС, его можно использовать вне помещения, однако необходимо обеспечить защиту от дождя и снега так, как это рекомендуется для фотоаппаратуры.
При наличии на месте установки мощных движущихся или мерцающих боковых источников света рекомендую использовать простейшую бленду, которая защитит оптическую систему и от брызг дождя. Для защиты от пыли можно закрыть окна оптической системы целлофановой плёнкой толщиной не более 0,06 мм без покрытия [3].
Работа прибора проверялась при дальности до объекта 100 м.
Литература
1. Компактный пассивный инфракрасный извещатель COLT XS. Краткое описание. - URL:http://www.pyronix.pro/ catalog/5/r/ 27/ (16.11.19).
2. Пассивный инфракрасный извещатель PYRONIX COLT QUAD. Инструкция по эксплуатации. - URL: asstir.ru/userfiles/ file/docs/Colt.pdf (16.11.19).
3. Джемисон Дж. Э. и др. Физика и техника инфракрасного излучения. - М.: Советское радио, 1965.
4. Хоровиц П., Хилл У. Искусство схемотехники, т. 1. - М.: Мир, 1986.
Автор: Д. Молоков, г. Нижний Тагил Свердловской обл.