AD4134 — 24-битный, 4-канальный АЦП с одновременной выборкой и частотой дискретизации 1,5 Мвыб/сек от Analog Devices
AD4134 - это четырехканальный, малошумящий, с одновременной выборкой, прецизионный аналого-цифровой преобразователь (АЦП), обеспечивающий функциональность, производительность и простоту использования.
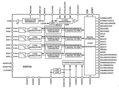
Благодаря применению в AD4134 схемы сигма-дельта модуляции непрерывного времени (CTSD), отсутствует необходимость в использовании традиционно применяемой цепи переключаемого конденсатора, предшествующей модулятору Σ-Δ, что уменьшает требования ко входу АЦП. Архитектура CTSD также подавляет сигналы в полосе частот наложения спектров АЦП, что исключает необходимость во внешнем антиалайзинговом фильтре.

AD4134
AD4134 включает в себя четыре независимых канала, каждый с модулятором CTSD, цифровым каналом децимации и фильтрации. AD4134 обеспечивает одновременную выборку четырех отдельных источников сигнала, каждый из которых поддерживает максимальную входную полосу пропускания 391,5 кГц и обеспечивает точное согласование фаз между этими четырьмя измерениями сигналов.
Благодаря упрощению сигнальной цепи, AD4134 увеличивает производительность системы за счет уменьшения шума, ошибок, несоответствий и искажений, которые обычно вносятся аналоговыми схемами.
AD4134 обеспечивает отличную производительность при входных сигналах постоянного и переменного тока. Полоса пропускания каждого канала АЦП колеблется от постоянного тока до 391,5 кГц, что делает устройство идеальным кандидатом для универсальных решений точного сбора данных, поддерживающих широкий спектр типов датчиков, от температуры и давления до вибрации и ударов.
Характеристики и преимущества:
- Отсутствие эффекта наложения спектров: встроенное подавление наложений 102,5 дБ в режиме высокой производительности;
- Отличная производительность при входных сигналах постоянного и переменного тока:
- - Динамический диапазон 108 дБ при ODR=374 квыб/сек, FIR фильтр;
- - Динамический диапазон 137 дБ при ODR=10 выб/сек, фильтр sinc3;
- - THD: -120 дБ на 1 кГц;
- - Температурный дрейф ошибки смещения: 0,9 мкВ/оC;
- - Температурный дрейф коэффициента усиления: 2 ppm/°C;
- - INL: ±2 ppm FSR.
- Расширение динамического диапазона: режим усреднения 4:1 и 2:1;
- 126 дБ, взвешенный динамический диапазон;
- Простота синхронизации: асинхронный преобразователь частоты дискретизации:
- - Синхронизация нескольких устройств от одной сигнальной линии;
- - Программируемая частота дискретизации от 0,01 квыб/с до 1496 квыб/с с шагом 0,01 квыб/сек;
- - Возможность управления скоростью передачи выходных данных по внешнему сигналу;
- Параметры линейного фазового цифрового фильтра:
- - FIR фильтр с низкими пульсациями: пульсация в полосе пропускания 32 мкдБ, от DC до 161,942 кГц;
- - Фильтры с низкой задержкой sinc3 и sinc6, от DC до 391,5 кГц;
- - Фильтр Sinc3 с подавлением 50 Гц/60 Гц наводки;
- Перекрестные помехи: 130,7 dBFS;
- Возможность подключения нескольких АЦП по технологии Daisy-chain;
- Проверка CRC-кода в интерфейсе данных и SPI интерфейсе;
- Два режима питания: режим высокой производительности и режим низкого энергопотребления;
- Напряжение питания: от 4,5 В до 5,5 В и от 1,65 В до 1,95 В. IOVDD 1,8 В;
- Внешний ИОН: 4,096 В или 5 В;
- Кварцевый резонатор или внешняя КМОП частота тактирования 48 МГц;
- Управление либо по SPI интерфейсу, либо с помощью выводов (автономный режим);
- Диапазон рабочих температур: от -40°C до 105 °C;
- Доступен в 8 мм x 8 мм, 56-выводном LFCSP корпусе.
Области применения:
- Оборудование для электрических испытаний и измерени;
- 3-фазный анализ качества электроэнергии;
- Контроль и проверка оборудования;
- Гидролокаторы;
- Мониторинг состояния для прогнозирования технического обслуживания;
- Исследования и разработки в области акустики и материаловедения.
Источник: www.eltech.spb.ru