Приставка, предлагаемая вниманию читателей, расширяет возможности мультиметра М-830В (DT-830B), позволяя измерять концентрацию растворенных в воде солей. С ее помощью можно оценить пригодность питьевой, "качество" дистиллированной воды, отличить настоящую минеральную воду от поддельной. Приставка питается от мультиметра и не требует дополнительных подключений внутри него.
Вода, как известно, необходима для существования живых организмов. Достаточно сказать, что в теле человека она составляет около 65 % его массы, содержится во всех клетках и тканях и все жизненные процессы протекают с ее участием. Яркий пример, подтверждающий важность этого вещества: при наличии воды человек может прожить без пищи около месяца, без воды - только несколько дней.
Однако не всякая вода, даже прозрачная и чистая на вид, пригодна для питья, поэтому прежде чем попасть в водопровод, она проходит соответствующую очистку. Качество водопроводной воды в значительной мере зависит от количества содержащихся в ней солей. По санитарным нормам Госкомсанэпидемнадзора России общая концентрация растворенных в воде солей (так называемая общая минерализация) не должна превышать 1000 мг/л [1]. Воду, в которой содержание солей больше, считают минеральной. Для измерения степени минерализации применяют специальное оборудование.
В связи с ухудшающейся во всем мире экологической обстановкой многие фирмы начали выпускать приборы для экспресс-анализа параметров воды. Один из них - TDS-метр фирмы Zepter [2], измеряющий количество растворенных частиц (Total Dissolved Solids - отсюда и название - TDS-метр) на миллион молекул воды. Численно его показания равны общей минерализации, измеренной в миллиграммах на литр. Цена TDS-метра весьма высока - 112 долл. США.Однако подобный прибор можно собрать самостоятельно, причем затраты на его изготовление будут невелики. Принцип измерения подобных устройств основан нaзависимости электрической проводимости воды от количества растворенных солей. Из физики известно, что проводимость раствора определяется формулой [3]
S=F*Zp*np*(Up+Um)/Na,
где F=96,5*10^3 Кл/моль - число Фарадея; Na=6,02*10^23 моль^-1 - число Авогадро; Zp - валентность положительно заряженных ионов в растворе; np - число положительно заряженных ионов в единице объема электронлита; Up, Um - подвижность соответственно положительно и отрицательно заряженных ионов. Формула наглядно показывает, что проводимость пропорциональна концентрации растворенных соединений. Конечно, она зависит от растворенного вещества и температуры раствора [4], но считают, что средней концентрации 1000 мг/л примерно соответствует электропроводность 0,2 См/м [5].Таким образом, чтобы определить степень минерализации воды, достаточно измерить ее электрическую проводимость или сопротивление. Чтобы исключить влияние электролиза раствора на результат, измерения необходимо проводить на переменном токе.
Предлагаемый прибор выполнен в виде приставки к широко распространенному мультиметру М-830В [6] или его аналогу DT-830B, которая преобразует результаты измерения проводимости в напряжение. Питается она напряжением 3 В от внутреннего стабилизатора микросхемы ICL7106 мультиметра. Потребляемый ток при не погруженных в воду электродах датчика не превышает 0,25 мА.
Погрешность измерения прибора оценивалась сравнением его показаний с показаниями упомянутого выше TDS-метра фирмы Zepter. В интервале концентраций от 0 до 1200 мг/л она не превышает ±10 %. Если же минерализация больше 1200 мг/л, погрешность резко возрастает вследствие увеличения потребляемого приставкой тока и невысокой нагрузочной способности стабилизатора. Следует также отметить, что при использовании приставки с DT-830B погрешность измерения может быть несколько выше, поскольку нагрузочная способность стабилизатора бескорпусного аналога микросхемы ICL7106, обычно устанавливаемого в эти мультиметры, крайне мала.
Принципиальная схема приставки изображена на рис. 1. Как видно, собрана она всего на двух микросхемах и двух транзисторах. На микросхеме ICL7660A (DA1) выполнен преобразователь полярности напряжения. Разнополярное напряжение необходимо для того, чтобы через электроды датчика протекал переменный ток.

Рис.1. Принципиальная схема приставки
На ОУ DA2.1 собран генератор разнополярных симметричных прямоугольных импульсов с частотой следования около 170 Гц. Усиливает этот сигнал усилитель тока на транзисторах VT1, VT2, в эмиттерную цепь которых включен датчик проводимости, токоизмерительный резистор R6 и термистор RK1, частично компенсирующий зависимость проводимости воды от температуры.
Переменное напряжение с токоизмерительного резистора поступает на неинвертирующий вход ОУ DA2.2, выполняющего функции однополупериодного выпрямителя и неинвертирующего усилителя с коэффициентом усиления около 12. Для компенсации напряжения смещения нуля этого ОУ на инвертирующий вход через резистор R9 подается напряжение с резистивного делителя R5R7R8.
Чтобы на табло мультиметра не индицировался знак "минус", выходное напряжение приставки должно быть положительным. Поскольку напряжение питания положительной полярности стабилизировано внутренним стабилизатором микросхемы ICL7106 мультиметра, а стабильность напряжения отрицательной полярности невысока, ОУ DA2.2 включен неинвертирующим усилителем. Отфильтрованное цепью R12C7 напряжение поступает на вход мультиметра, включенного на измерение постоянного напряжения. Измеренному мультиметром напряжению в милливольтах соответствует общая минерализация в миллиграммах на литр.
Все элементы устройства, за исключением датчика и термистора, размещены на плате из фольгированного стеклотекстолита (рис. 2). Плата рассчитана на применение постоянных резисторов МЛТ, подстроечного СП5-2, оксидных конденсаторов К50-16 (С1, С2, С4), остальные конденсаторы - практически любые керамические низковольтные. Штыри разъемов Х1-ХЗ, с помощью которых приставку подключают к соответствующим гнездам мультиметра, припаивают со стороны печатных проводников.

Рис.2. Печатная плата
Вместо микросхемы ICL7660A допустимо использовать ICL7660 или отечественный аналог КР1168ЕП1. ОУ КР1446УД2А заменим любым из этой группы, а также КР1446УД4А- КР1446УД4В, однако потребляемый приставкой ток в последнем случае возрастет. Возможно применение ОУ КР1446УДЗА-КР1446УДЗВ, но у них иная "цоколевка", поэтому потребуется корректировка печатной платы.
Во время монтажа ОУ необходимо соблюдать осторожность: как и другие КМОП-микросхемы, они нередко выходят из строя от воздействия статического электричества.
Транзисторы указанных на схеме серий можно заменить любыми маломощными соответствующей структуры. Диоды - любые маломощные импульсные, например, серий КД521 или КД522. В приставке применен термистор ММТ-9, однако подойдет практически любой с отрицательным ТКС и сопротивлением приблизительно от 620 до 750 Ом.
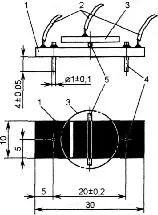
Чертеж датчика показан на рис. 3. Он состоит из основания 1 - пластины из фольгированного стеклотекстолита толщиной 2.5...3 мм и собственно датчика - двух металлических штырей 4 с антикоррозионным покрытием (удобно использовать посеребренные или позолоченные штыри подходящего диаметра от разъемного соединителя). Отверстия в основании необходимо сверлить на сверлильном станке и с таким расчетом, чтобы штыри в них вставлялись плотно (это обеспечит их параллельность). Закрепляют штыри пайкой к фольге. Затем примерно в середине основания, параллельно короткой стороне, к фольге большей площади припаивают отрезок луженого провода 5 диаметром 0,6...0,8 мм и длиной, чуть меньшей диаметра термистора 3. Последний закрепляют пайкой к выступающим за края основания концам отрезка, после чего к его второму выводу и обеим площадкам фольги припаивают гибкие многожильные изолированные провода 2. В завершение все неизолированные токопро-водящие поверхности (основания штырей, проводов, термистора) со стороны фольги покрывают водостойким лаком или клеем.

Рис.3. Чертеж датчика
При использовании термистора другого типа размеры и число площадок фольги основания, возможно, придется изменить, главное, чтобы термистор был надежно припаян к фольге. Следует помнить, что от качества изготовления датчика зависит точность измерений, поэтому диаметр штырей, длина их выступающих из основания частей и расстояние между ними должны быть выдержаны в указанных на рис.3 пределах.
В налаживании прибор не нуждается. Единственное, что надо сделать, - это подключить его к мультиметру, включенному на пределе измерения напряжения 2000 мВ, и подстроечным резистором R7 установить нулевые показания. Для проверки к контактам датчика подсоединяют резистор сопротивлением 1,5 кОм: мультиметр должен показать напряжение около 1000 мВ.
При работе с прибором следует помнить, что термистор обладает тепловой инерцией, поэтому отсчитывать показания можно только спустя 1... 1,5 мин после погружения датчика в воду (когда они перестанут изменяться).
Источники
Автор: Б. ЧУДНОВ, г. Раменское Московской обл.