Традиционные схемы включения люминесцентных ламп рассчитаны на их питание переменным током промышленной частоты. Сегодня все большее распространение получает питание подобных ламп током повышенной частоты, что устраняет мигание и повышает надежность запуска. Отпадает необходимость в крупногабаритных конденсаторах и дросселях на стальных магнитопроводах, нередко издающих неприятное гудение. Предлагаемый высокочастотный блок имеет небольшие размеры, содержит минимальное число намоточных элементов, прост и доступен для повторения.
Схема блока, предназначенного для питания люминесцентной лампы OSRAM L 13W с диаметром колбы 16 мм, показана на рис. 1. Через плавкую вставку FU1 и помехоподавляющий фильтр C2L1 сетевое напряжение поступает на диодный мост VD1—VD4. Инвертор на микросхеме IR2153 (DA1) и полевых транзисторах IRF840 (VT1, VT2) преобразует выпрямленное напряжение в симметричные прямоугольные импульсы. Подробную информацию о микросхеме IR2153 и транзисторах серии IRF можно найти на сайте их изготовителя www.irf.com.

Рис.1. Принципиальная схема блока
Частота импульсов зависит от номиналов элементов времязадающей цепи R1С4 и в рассматриваемом случае равна 33 кГц. Между импульсами на выходах LO и НО микросхемы, управляющими полевыми транзисторами VT1 и VT2, автоматически выдерживаются паузы в 1,2 мкс. Это предотвращает одновременное открывание транзисторов с протеканием через них "сквозного" тока.
Напряжение питания микросхемы DA1 поступает на ее вывод 1 через гасящий резистор R2, причем внутренний стабилитрон не допускает увеличения разности потенциалов между выводами 1 и 4 свыше 15,6 В. В рабочем режиме здесь 9...10 В.
Выходное напряжение инвертора поступает на лампу EL1 через разделительный конденсатор С8 и балластный дроссель L2. Назначение последнего аналогично обычным, применяемым в цепях питания ламп током частоты 50 Гц, но так как частота в данном случае гораздо выше, индуктивность дросселя, его размеры и вес значительно меньше. Конденсатор С6 образует цепь разогрева нитей накала ламп.
Блок собран на печатной плате (рис. 2) размерами 100x25 мм. Конденсаторы C1, C2, C8 — К73-17, C4 и C6 — К78-2, оксидные — К50-35. Дроссели L1 и L2 намотаны на магнитопроводах Ш4х4 из феррита М2500НМС или М2000НМ. Обмотки дросселя L1 содержат по 200 витков провода ПЭВ-2 0,1 мм и намотаны в изолированных секциях каркаса. Половины магнитопровода этого дросселя склеивают без зазора. Обмотка дросселя L2 — 220 витков провода ПЭВ-2 0,22 мм. В его магнитопро-воде необходим немагнитный зазор, толщину которого (0,3...0,5 мм) подбирают экспериментально по наиболее яркому свечению лампы.

Рис.2. Печатная плата
Диоды VD1—VD5 можно заменить любыми другими на ток не менее 0,5 А и обратное напряжение не менее 400 В, например, КД209А—КД209В, КД226В—КД226Д. При этом размеры печатной платы придется увеличить. Замена транзисторов IFR840 возможна на IRF830, IRF820, но приведет к ухудшению их теплового режима из-за большего сопротивления канала.
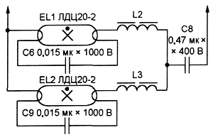
Внеся в блок небольшие изменения, можно питать от него и более мощные лампы. Например, на рис. 3 показано, как подключить две лампы ЛДЦ-20-2. При этом сечение магнитопровода дросселя L2 увеличивают до 6x6 мм, диаметр провода — до 0,4 мм, а число витков уменьшают до 120. Дроссель L3 идентичен L2. На аналогичном магнито-проводе наматывают и дроссель L1, увеличив диаметр провода до 0,3 мм.

Рис.3. Схема включения двух ламп
Емкость конденсаторов С1 и СЗ (см. рис. 1) увеличивают соответственно до 0,68 и 10 мкФ, а транзисторы VT1 и VT2 снабжают теплоотводами площадью не менее 40 см2. Необходимо также увеличить до 2 А ток срабатывания плавкой вставки FU1, а в разрыв одного из сетевых проводов установить резистор 4,7 Ом мощностью не менее 5 Вт (например, проволочный) для ограничения тока зарядки конденсатора C3 в момент включения блока.
Автор: А.ТАРАЗОВ, г. Санкт-Петербург