Несложный электронный узел, которым я предлагаю дополнить машины ульяновского автозавода, расширит возможности управления стеклоочистителем. Несмотря на то, что устройство было разработано для автомобилей семейства УАЗ, оно может быть использовано и на "Жигулях" взамен отказавшего встроенного электромеханического регулятора.

Рис. 1.
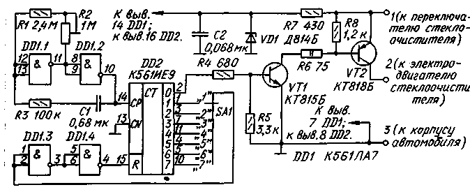
Схема узла показана на рис. 1. На логических элементах DD1.1, DD1.2 выполнен низкочастотный генератор прямоугольных импульсов, которые поступают на вход счетчика DD2. На транзисторах VT1, VT2 собран усилитель тока. Транзисторы работают в переключательном режиме.
При появлении на выходе 0 счетчика высокого уровня открывается транзистор VT1 и вслед за ним VT2 - включается электродвигатель стеклоочистителя. Через некоторое время высокий уровень на выходе 0 счетчика сменяется низким, транзисторы закрываются и электродвигатель отключается, а счетчик продолжает счет.
Как только высокий уровень появится на выходе 1 счетчика, этот уровень после двойного инвертирования элементами DD1.3, DD1.4 обнулит счетчик и начнется новый цикл счета импульсов. Если переключатель SA1 перевести в положение с большим номером, момент обнуления счетчика будет наступать позже, т. е. паузы между очередными включениями стеклоочистителя увеличатся. В положении "1" пауза практически отсутствует.
Подстроечным резистором R2 устанавливают требуемую частоту генератора,а значит, и время работы электродвигателя стеклоочистителя в каждом цикле. На резисторе R7 и стабилитроне VD1 собран параметрический стабилизатор для питания микросхем.
Все элементы узла, кроме транзистора VT2 и переключателя SA1, монтируют на печатной плате из фольгированного стеклотекстолита толщиной 1,5 мм. Чертеж платы представлен на рис. 2.

Рис. 2.
Контактные площадки 1 - 7 и П, размещенные на плате со стороны печатных проводников вблизи места установки микросхемы DD2, предназначены для соединения с переключателем SA1. Его монтируют вблизи переключателя стеклоочистителя. Если не требуется такого широкого выбора длительности паузы, можно использовать переключатель SA1 на меньшее число положений.
Для одного выбранного значения длительности паузы переключатель вообще не нужен; следует только площадку П соединить перемычкой с соответствующим выходом счетчика. Пусть, например, выбран выход 7 - тогда в каждом цикле щетки будут делать три двойных хода по стеклу, а пауза будет равна 5...7 с.
Транзистор VT2 необходимо привинтить к небольшому теплоотводу в виде пластины размерами 60х40х3 мм из дюралюминия. Теплоотвод на четырех стойках крепят параллельно плате.
Все резисторы узла, кроме R2 и R6, - МЛТ-0,125. Резистор R6 должен иметь мощность рассеяния не менее 2 Вт. Под-строечный резистор R2 - любого типа, лучше закрытой конструкции и с фиксацией вала. Конденсаторы - КЛС или КМ. Стабилитрон VD2 может быть любым на напряжение 8...10 В, желательно миниатюрным. Вместо транзистора КТ815Б подойдет любой из серий КТ815, КТ817, а вместо КТ818Б-любой из серии КТ818.
Смонтированную плату помещают в коробку от реле МКУ-48 и закрепляют под приборной панелью автомобиля.
О подключении узла к системе электрооборудования автомобиля УАЗ-3151. Из шести цветных выводов переключателя стеклоочистителя используют три - зеленый соединяют с плюсовым проводом бортовой сети, серый - с выводом 1 платы, белый - с выводом 2 и электродвигателем. Остальные три вывода оставляют свободными. Вывод 3 платы соединяют с корпусом автомобиля.
При таком подключении в крайнем левом положении переключателя стеклоочиститель выключен, в среднем положении - непрерывный режим работы щеток, в крайнем правом - прерывистый.
При установке узла на автомобили "Жигули" вместо имеющегося электромеханического вывод 1 платы соединяют с красным проводом, 2 - с синим, а 3 - с желтым. Режим работы стеклоочистителя в этом случае несколько изменится. Теперь в каждом цикле щетки будут в зависимости от положения движка резистора R2 совершать 2-3 двойных хода с паузой в 2...13 с, устанавливаемой переключателем SA1.
Эксплуатация описанного узла на автомобиле УАЗ-3151 показала хорошие результаты. Отсутствие оксидных конденсаторов способствует надежной работе узла.
Источник: www.irls.narod.ru
А. ПЕТУХОВ, г. Бийск Алтайского края
РАДИО №9, 1995 г.