Действие прибора основано на использовании стробоскопического эффекта. Если мгновенными вспышками света, синхронизированными с импульсами высокого напряжения на запальной свече первого цилиндра, освещать установочные метки на ободе маховика и корпусе работающего двигателя, то подвижная метка будет зрительно казаться неподвижной. Если угол опережения выставлен неверно, то по взаимному расположению меток легко определить, в какую сторону и на сколько необходимо повернуть планку регулятора угла опережения зажигания.
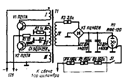
Схема прибора изображена на рис. 1. Источником света в приборе служит импульсная фотолампа H1. Прибор питается от аккумуляторной батареи (напряжением 12 В, с корпусом соединен минусовой вывод) автомобиля, двигатель которого регулируют. Напряжение питания, необходимое для работы лампы (около 250 В), дает преобразователь на транзисторах V1 и V2 и трансформаторе Т1 и выпрямитель на диодной сборке V3. Поджигающий импульс снимается со свечи первого цилиндра через ограничительные резисторы R4-R6.

Трансформатор намотан на магнитопроводе Ш 16Х20. Обмотки / и /// наматывают одновременно в два провода ПЭВ-2 0,5, число витков-21. Таким же образом наматывают и обмотку // (7 витков провода ПЭВ-2 0,15), причем начало одной полуобмотки нужно соединить с концом другой-это соединение будет служить отводом. Обмотка IV содержит 500 витков провода ПЭВ-2 0,2. Конденсаторы С2 и С3- бумажные на рабочее напряжение не менее 400 В. Транзисторы V1 и V2 желательно подобрать близкими по параметрам. Резистор R1 проволочный, остальные- МЛТ.
Конструктивно прибор состоит из двух узлов: осветителя и переходника. Внешний вид осветителя показан в заголовке статьи. Он выполнен в виде пистолета. В футляре размещены все детали прибора, кроме резисторов R4-R6. Основанием, на котором установлены детали осветителя, служит металлическая фигурная пластина, расположенная в футляре вертикально. Размещение деталей на пластине показано на рис. 2. Спереди размещен рефлектор с импульсной лампой (использован без переделки от фотовспышки "Луч-70"). Кнопка S1 прибора смонтирована в ручке. Футляр склеен из листового пластика.

Устройство переходника показано на рис. 3. В корпусе 3, выточенном в виде трубки из твердого теплостойкого изоляционного материала (текстолита, гетинакса), смонтированы резисторы R4-R6. Провод, соединяющий переходник с осветителем, должен быть с изоляцией, рассчитанной на напряжение не менее 15 кВ.

В радиальном отверстии корпуса переходника смонтирован стальной стержень 4, оканчивающийся с нижнего (по рис. 3) конца пружинным зажимом для фиксации на выводе запальной свечи двигателя, а с верхнего-резьбовым наконечником 2, аналогичным по форме выводу свечи.
Правильно собранный прибор налаживания не требует. Работают с прибором в следующем порядке. Со свечи первого цилиндра (при остановленном двигателе) .снимают контактный колпак, надевают на ее вывод переходник . прибора и на переходник надевают колпак свечи. Подают питание на прибор (вилку шнура питания прибора включают в розетку бортовой сети автомобиля). На кожухе маховика снимают крышку смотрового окна и запускают двигатель. Нажимают на кнопку включения прибора и направляют его свет на маховик. Если метки на маховике и корпусе двигателя не совпадают, смещают планку регулятора угла опережения зажигания до совпадения меток. Затем двигатель останавливают и отключают прибор.
РАДИО N 1, 1979 г., с.28.