В настоящее время на рынке России преобладают цифровые бытовые видеокамеры пяти ведущих мировых фирм: SONY JVC, PANASONIC, SAMSUNG и CANON. В пользовании у населения имеются аппараты и других производителей, например, HITACHI, TOSHIBA, SHARP. В качестве носителей информации в этих устройствах используются видеокассеты, оптические диски, жесткие диски и многочисленные типы карт памяти. Однако наиболее распространены различные варианты видеокассет форматов miniDV, HDV и др. В последнее время фирма SONY выпускает видеокамеры стандартной и высокой четкости на базе видеокассет miniDV, HDV, DVD-дисков диаметром 8 см, жестких дисков, дисков Blue Ray. Выпущено значительное число видеокамер и на базе кассет формата Digital 8. Остальные производители выпускают ленточные цифровые видеокамеры (ЦВК) преимущественно формата miniDV.

Рис. 1. Внешний вид видеокамеры "SONY DCR-TRV110Е"
Таблица 1. Типы механизмов ЦВК SONY и их сервисные руководства
| Модели ЦБК | Год начала выпуска | Каталожный номер (Part No) БВГ | Тип БВГ |
| Формат Digital 8, механизм В800. Сервисное руководство <8 mm Video Mechanical Adjustment Manual VII" (каталожный номер 9-973-801 -11) | |||
| DCR-TRV103/110/11ОЕ/203/210/ 210E/310/310E/315/TR7000/7000E/7100E | 1999 | A-7048-904-A DRUM BLOCK ASSY | DKH-01A-R |
| DCR-TRV410/410E/510/510E | 1999 | A-7048-904-A DRUM BLOCK ASSY | DKH-01A-R |
| Формат Digital 8, механизм М2000. Сервисное руководство "8mm Video Mechanical Adjustment Manual IX M2000/2200-Mechanism" (каталожный номер 9-929-861 -11) | |||
| DCR-TRV345E/350/351 /355E/356E | 2002 | A-7048-951-ADRUM | DKH-04A-R |
| DCR-TRV23OE/235E/325E/330E/430E/530E | 2001 | A- 7048-951 -ADRUM | DKH-04A-R |
| DCR-TRV240/340 | 2003 | A-7048-951-ADRUM | DKH-04A-R |
| DCR-TRV360 361 460/460E 461E | 2003 | A-7048-966-A DRUM | DKH-048-R |
| DCR-TRV738E/740/740E/840 | 2002 | A-7048-951 -A DRUM | DKH-04A-R |
| Формат miniDV, механизм С. Сервисное руководство "DV Mechanism Adjustment Manual IV C-Mechanism" (каталожный номер 9-974-050-11) | |||
| DCR-TRV890E/900/900E | 1998 | A-7044-887-A DRUM ASSY | DEH-11B-R |
| DCR-TRV9/9E | 1998 | A-7044-024-A DRUM ASSY | DEH-07D-R |
| DCR-TRV5/5E | 1998 | A-7044-024-A DRUM ASSY | DEH-07D-R |
| DCR-WX2000/2000E/2100E | 2000 | нет данных | |
| формат miniDV, механизм D200. Сервисные руководства: "D Mechanism Adjustment Manual I D-Mechanism" (каталожный номер 9-973-815-11) или "DV Mechanism Adjustment Manual III DV-Mechanism" (каталожный номер 9-973-981-11) | |||
| DCR-PC1/PC1E | 1998 | A-7048-887-A DRUM ASSY | DEH-11B-R |
| DCR-PC10/PC10E | A-7044-007-A DRUM ASSY | DEH-07A-R | |
| Формат miniDV, механизм D300. Сервисные руководства: "D Mechanism Adjustment Manual I D-Mechanism" (каталожный номер 9-973-815-11) или "DV Mechanism Adjustment Manual III D200-Mechanism" (каталожный номер 9-973-981-11) | |||
| DCR-PC100/PC100E | 1999 | A-7048-901-A DRUM BLOCK ASSY | DEH-07F-R |
| DCR-PC2E/PC3/PC3E | 1999 | A-7048-901-A DRUM BLOCK ASSY | DEH-07F-R |
| Формат miniDV механизм J Сервисное руководство DV Mechanism Adjustment Manual VI J-Mechanisrr- (каталожный номер 9-929-807-11) | |||
| DCR-PC6E/PC9/PC9E | 2001 | нет данных | |
| DCR-TRV15/15E/17/17E | 2001 | нет данных | |
| Формат miniDV, механизм Z (включая исполнение MDX-Z200). Сервисное руководство -DV Mechanism Adjustment Manual VII Z-Mechamsm (каталожный номер 9-876-210-11) | |||
| DCR-TRV12Е/14Е/19/19Е | 2003 | A-7048-981-ADRUM | DEH-30A-R |
| DCR-TRV33/33E | 2004 | A-7048-981-ADRUM | DEH-30A-R |
| DCR-HC14E/HC15/HC15E (исп MDX-Z200) | 2004 | А-7048-994-А DRUM | DEH-30B-R |
| DCR-HC16E/18E/20/20E (MDX-Z200) | 2004 | А-7048-994-А DRUM | DEH-30B-R |
| DCR-HC40/40E (MDX-Z200) | 2004 | А-7048-994-А DRUM | DEH-30B-R |
| DCR-PC350/350E | 2004 | нет данных | |
| DCR-HC30/HC30E (MDX-Z200) | 2006 | А-7048-994-А DRUM | DEH-30B-R |
Примечание. БВГ на сборочных чертежах всех перечисленных механизмов находится на позиции М901.
Значительный процент неисправностей видеокамер приходится на дефекты их механизмов. В настоящей статье произведем классификацию цифровых видеокамер фирмы SONY по принадлежности к определенным типам механизмов. Это облегчит сервисным инженерам подбор механических деталей и узлов, а также БВГ для ремонта и восстановления видеокамер этой фирмы. В сервисных руководствах на конкретные модели видеокамер SONY приводятся только сборочные чертежи механизмов, порядок разборки, сборки и регулировки механизмов приводится в отдельных сервисных руководствах на конкретные типы механизмов, обозначаемых буквенно-цифровыми комбинациями (см. табл. 1).
Особенности формата DV были кратко приведены в статье автора по видеокамерам "Sony DCR-РС2Е/РСЗ/РСЗЕ" (см. [1]). В формате Digital 8 при работе в цифровом режиме используются такие же способы кодирования, что и формате DV. Однако основные параметры работы БВГ и лентопротяжного механизма отличаются от соответствующих параметров форматов DV и Video 8. Скорости вращения БВГ в цифровом режиме 4500 об/мин (формат 625/50) или 4495,5 об/мин (формат 525/60). В обоих стандартах используется одинаковая скорость протяжки ленты - 28,7 мм/с. В результате длительность записи/воспроизведения видеокассет HI8 (D8) уменьшается относительно номинала кассет PAL в 1,5 раза, NTSC - в 2 раза. Длина рабочего зазора видеоголовок равна 16,34 мкм. Перечисленные параметры существенно отличаются от соответствующих параметров форматов Video 8/HI8 (PAL SP - 1500 об/мин; 20,051 мм/с; 34,3 мкм; NTSC - 1800 об/мин; 14,345 мм/с; 20,5 мкм соответственно). Из-за различной ширины ленты отличается и структура сигналограмм форматов DV и Digital 8. Основным преимуществом видеокамер Digital 8 является возможность оцифровки видеозаписей форматов V8/HI8 при их воспроизведении и подаче выходных сигналов в цифровом виде через интерфейс i.LINK (DV, IEEE1394). Ряд видеокамер позволяет оцифровывать аналоговые записи от внешних источников. С "сервисной" точки зрения следует отметить возможность замены БВГ европейских моделей видеокамер Digital 8 на однотипные японские или американские (см. выше).
Одной из первых моделей видеокамер Digital 8, поступившей на рынок России, была "DCR-TRV110Е" (рис. 1) с механизмом В800. Этот механизм практически идентичен распространенному механизму В, применяемому в сотнях моделей видеокамер V8/HI8. Сборочные чертежи и описание В механизма достаточно распространены, с ними можно ознакомиться, например, в статьях автора [2, 3], поэтому здесь механизм В800 не рассматривается. Отличия механизмов В800 и В заключаются в применении других Part No некоторых деталей и узлов (порядка 15 позиций) и других типов БВГ.

Рис. 2. Внешний вид видеокамеры "SONY DCR-TRV740E"
В современных ЦВК формата Digital 8 используется механизм М2000 (М2200). Такой механизм применен, например, в "российской" модели видеокамеры "DCR-TRT740E" (рис. 2). В сервисной документации на видеокамеры механизм М2000 представлен четырьмя сборочными чертежами: CASSETTE COMPARTMENT ASSEMBLY DRUM ASSEMBLY - кассетоприемник и БВГ (рис. 3); LS CHASSIS BLOCK ASSEMBLY- подвижное шасси (рис. 4); MECHANICAL CHASSIS BLOCK ASSEMBLY-1 - шасси механизма, часть 1 (рис. 5); MECHANICAL CHASSIS BLOCK ASSEMBLY-2 - шасси механизма, часть 2 (рис. 6). Ниже перечислены некоторые узлы и детали механизма М2000, необходимость заказа которых может возникнуть при ремонте (кроме крепежа, пружин и т.п.) - см. табл. 2.

Рис. 3. Сборочный чертеж ЛПМ М2000 М2200 Кассетоприемник и БВГ

Рис. 4. Сборочный чертеж ЛПМ М2000/М2200 Подвижное шасси

Рис. 5. Сборочный чертеж ЛПМ М2000 М2200 Шасси механизма, часть 1

Рис. 6. Сборочный чертеж ЛПМ М2000 М2200 Шасси маханизма, часть 2
Таблица 2 Узлы и детали механизма Н2000
| Позиционный номер (Ref No) | Каталожный номер (Part No) | Наименование (Description) |
| Узлы кассетоприемника, БВГ | ||
| 703 | 3-065-896-01 | PLATE, BLIND - поддон кассетоприемника |
| 704 | х-3951 -298-1 | CASSETTE COMPARTMENT ASSY - узел кассетоприемника в сборе |
| 705 | Х-3951-302-1 | DAMPER ASSY - демпфирующий узел кассетоприемника |
| 706 | Х-3951-297-1 | GEAR ASSY, R DRIVE - узел перекидной шестерни |
| М901 | тип БВГ определяется конкретной моделью видеокамеры | |
| Узлы подвижного шасси LS (см. рис. 3 4) | ||
| 753 | А-7096-416-В | BASE (S) BLOCK ASSY, GUIDE - узел подающей наклонной стойки |
| 754 | А-7096-415-А | BASE (T) BLOCK ASSY, GUIDE - узел приемной наклонной стойки |
| 755 | А-7096-426-А | CHASSIS ASSY, LS - подвижное шасси |
| 757 | А-7096-414-А | ARM BLOCR ASSY, TG7 - узел направляющей стойки TG7 |
| 760 | Х-3951-303-1 | ARM ASSY PINCH - узел прижимного ролика |
| 766 | А-7096-417-А | SOFT ASSY T - демпфирующий приемный узел |
| 772 | Х-3951-288-1 | TABLE (T) ASSY, REEL - приемный подкатушечник |
| 775 | Х-3951-289-1 | TABLE (S) ASSY, REEL - подающий подкатушечник |
| 778 | Х-3951-304-1 | ARM ASSY TG1 - узел направляющей стойки TG1 |
| 781 | Х-3951-296-1 | BAN (ASSY), ВТ - узел ленточного тормоза обратного натяжения |
| D001 | 8-719-988-42 | DIODE GL453 (ТАРЕ LED) - центральный светодиод |
| Н001,1-1002 | 8-719-033-37 | ELEMENT, HALL HW-105C - датчики Холла аращения подкатушечников |
| Q001.Q002 | 8-729-907-25 | PHOTO TRANSISTOR PT4850F - фэтотрамзисторы кассетоприемника |
| S001 | 1-692-614-11 | SWITCH, PUSH (3KEY) (REC PROOF) - блок микрокнопок блокиратора записи |
| S002 | 1-572-688-11 | SWITCH, PUSH LEVER (1 KEY) (С. С. LOCK) - микрокнопка идентификации наличия кассеты |
| Примечание. Ns - not supplied - отдельно не поставляется. | ||
| Узлы механического шасси-1 | ||
| 810 | 1-677-049-11 | FP-228 FLEXIBLE BOARD - шлейф FP-228 |
| 811 | 1-680-434-11 | FP-299 FLEXIBLE BOARD - шлейф FP-229 |
| 816 | 1-786-096-11 | SWITCH, ROTARY- программный переключатель |
| 819 | А-7096-419-А | ARM ASSY, HCL - узел очистителя видеоголовок |
| 820 | 3-065-918-01 | GEAR (2), CAM RELAY- промежуточная шестерня |
| 821 | А-7096-421-А | GEAR ASSY, CHANGE - приводная шестерня |
| 822 | 3-065-902-01 | BELT, TIMING - пассик привода подкатушечников |
| 823 | 3-065-905-01 | GEAR, RELAY- приводная шестерня |
| М902 | 8-835-701-01 | MOTOR, DC SCE13A/C-NP (CAPSTAN) - двигатель ведущего вала |
| М903 | А-7096-420-А | MOTOR ASSY, LD (LOADING) - узел загрузочного двигателя |
| Узлы механического шасси-2 | ||
| 852 | 3-065-913-01 | GEAR (4), LD - загрузочная шестерня 4 |
| 854 | 3-065-917-01 | GEAR (1), CAM, REAL - загрузочная шестерня 1 |
| 859 | А-7096-413-А | GEAR (S) ASSY, GUIDE - подающая |
| 861 | А-7096-412-А | GEAR (T) ASSY GUIDE - приемная загрузочная шестерня |
| 862 | Х-3951-307-1 | PLATE ASSY, M SLIDE - ползун |
| 865 | 3-065-916-01 | GEAR (2), CAM - программная шестерня |
| 867 | Х-3951-308-1 | ARM ASSY, GL - рычаг переключения режимов |
| Узлы кассетоприемника и БВГ | ||
| 702 | Х-3949-140-1 | CASSETTE COMPARTMENT ASSY - узел кассетоприемника в сборе |
| 705 | 3-976-446-01 | DAMPER - демпфер кассетоприемника |
| 706 | Х-3748-613-3 | BASE ASSY, LED - поддон кассетоприемника |
| 708 | 3-748-683-01 | HOLDER, LED - держатель центрального светодиода |
| 710 | Х-3947-150-1 | GOOSENECK ASSY (2) - перекидной узел |
| 711 | 3-748-736-01 | GEAR, RELAY - промежуточная шестерня |
| 714 | Х-3949-419-1 | MOTOR FPC ASSY - шлейф двигателя БВГ |
| 720 | 3-979-009-03 | FASTENER, CC - защелка (повторно не использовать) |
| М901 | тип БВГ определяется конкретной моделью видеокамеры. | |
| Узлы подвижного шасси | ||
| 752 | 3-748-775-03 | BRAKE, RVS - рычаг переключения режимов перемоток |
| 758 | 3-748-773-04 | HARD, S - храповик |
| 759 | 3-748-815-06 | ARM, S BRAKE - узел переключения режимов перемоток |
| 762 | А-7094-279-А | CHASSIS (D3) ASSY, LS - подвижное шасси в сборе |
| 765 | 3-054-790-01 | HOLDER FPC - держатель шлейфа |
| 766 | Х-3748-614-2 | TABLE ASSY REEL, S - подающий подкатушечник |
| 767 | Х-3748-615-2 | TABLE ASSY REEL, T - приемный подкатушечник |
| 770 | Х-3748-618-2 | BAND ASSY TENSION REGULATOR - узел тормоза обратного натяжения |
| 775 | А-7026-020-В | ARM BLOCK ASSY - узел стойки обратного натяжения |
| 778 | 3-748-777-02 | TG7 - втулка направляющей стойки TG7 |
| 780 | Х-3748-616-2 Х-3748-630-2 | ARM ASSY TG7 - узел направляющей стойки TG7 ARM ASSY (-M), PINCH - узел прижимного ролика |
| 781 | ||
| 784 | 3-748-778-02 | BRAKE, T HARD - рычаг тормозного узла |
| 786 | 3-973-067-01 | SPRING, CASSETTE CPMPARTMENT UP - пружина выброса кассетоприемника |
| 787 | А-7026-032-А | BLOCK ASSY LS D3 CHASSIS - подвижное шасси в сборе |
| CN901 | 1-770-312-11 | CONNECTOR 4P (MIC) - контактор MIC (для подключения к чипу памяти в кассетах |
| D901 | 8-719-050-98 | DIODE LN57.SO (ТАРЕ LED) - центральный инфракрасный светодиод |
| Н001 | 8-719-033-37 | ELEMENT, HALL HW-105C (S REEL SENSOR) - датчик (Холла) вращения подающего подкатушечника |
| Н002 | 8-719-071-98 | ELEMENT, HALLHW-105C-FT-V-R (Т REEL SENSOR) - датчик вращения приемного подкатушечника |
| Q901,Q902 | 8-729-028-71 | TRANSISTOR PN166.SO - концевые фототранзисторы |
| S901 | 1-762-351-11 | SWITCH, PUSH (1KEY) (REC PROOF) -кнопка защиты записи |
| S903 | 1-572-467-21 | SWITCH, PUSH (1KEY) (СС DOWN) - кнопка индикации нижнего положения кассетоприемника |
| Узлы механического шасси-1 | ||
| 802 | Х-3748-623-1 | GL (S) ASSY - подающий узел заправки ленты |
| 803 | 3-748-600-02 | RAIL (S) - подающая направляющая |
| 805 | Х-3748-622-2 | COASTER (S) ASSY - узел подающей направляющей стойки |
| 806 | Х-3748-633-1 | SHAFT ASSY WORM - "червячный" вал |

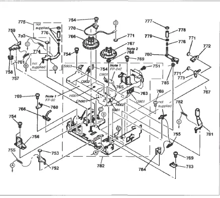
Рис. 7. Сборочный чертеж ЛПМ D300. Кассетоприемник и БВГ

Рис. 8. Сборочный чертеж ЛПМ D300. Подвижное шасси

Рис. 9. Сборочный чертеж ЛПМ D300. Шасси механизма, часть 1
В ранее рассмотренных видеокамерах miniDV "DCR-PC2-PC3/PC3E" применен механизм D300, в сервисной документации видеокамер приведены также четыре сборочных чертежа этого механизма: CASSETTE COMPARTMENT AND DRUM ASSY SECTION - кассетоприемник и БВГ (рис. 7); LS CHASIS SECTION - подвижное шасси (рис. 8); MECHANISM CHASSIS BLOCK SECTION-1 - шасси механизма часть 1 (рис. 9); MECHANISM CHASSIS BLOCK SEC-TION-2 - шасси механизма часть 2 (рис. 10). Перечислим основные детали и узлы механизма D300, заказ которых может быть востребован при ремонте и техническом обслуживании видеокамер DCR-РС2Е/РСЗ/РСЗЕ, РС100/РС100Е и др. (за исключением крепежа, цельнометаллических деталей, пружин и т.п.) - см. табл. 3).
Шлейфы FP-242, FP-92 закреплены на подвижном шасси методом горячей посадки, отдельно они не поставляются, а только в составе подвижного шасси 762. При замене приемного подкатушечника 767 необходимо подобрать регулирующую шайбу 768 подходящей толщины для обеспечения его свободного вращения.

Рис. 10. Сборочный чертеж ЛПМ D300. Шасси механизма, часть 2
Механизм D200 отличается от D300 различными исполнениями (Part No) отдельных узлов и деталей, отсутствием или наличием некоторых позиций на сборочных чертежах. В частности, в механизме D200 имеется узел очистителя видеоголовок, состоящий из следующих элементов: 801 -3-315-414-31 (WASHER - фиксирующая разрезная шайба чистящего ролика (Зшт.)); 801 - 3-748-742-02 (SPRING, TORSION - пружина узла чистящего ролика); 824 - Х-4748-624-2 (SLIDE ASSY НС - рычаг узла очистителя видеоголовок); 825 - А-7026-006-А (ROLLER ASSY НС - чистящий ролик). При необходимости узел очистителя видеоголовок механизма D200 может быть установлен и в механизм D300.
Перечислим каталожные номера (Part No) деталей и узлов механизма D200, отличающихся от указанных на сборочных чертежах механизма D300: 702 - Х-3947-480-1; 710 - Х-3748-609-2; 714 - Х-3944-897-2; 759 - 3-748-815-02; 762 - А-7026-025-А; 765 - 3-976-824-01. Наименования узлов и деталей на всех позициях такие же, как и в механизме D300. Отсутствуют позиции Н01, Н02 в составе подвижного шасси (рис. 8).
Литература
1. Петропавловский Ю. "Цифровая запись в формате DV. Устройство и ремонт видеокамер miniDV "Sony DCR-PC2E/PC3/PC3E", Ремонт & Сервис, 2008, №11, с. 24-31.
2. Петропавловский Ю. "Видеокамеры SONY с механизмом В", Радио, 2005, № 11, с. 13-15.
3. Петропавловский Ю. "Особенности разборки и ремонта видеокамер SONY с механизмом В", Радио, 2006, №2, с. 11-14.