Выключатель со светящимся индикатором разомкнутого состояния контактов плохо совместим с современной люминесцентной энергосберегающей лампой. Индикатор выключателя вызывает кратковременные периодические вспышки (мигание) лампы, Эту проблему обычно устраняют удалением индикатора, что вызывает другую проблему: выключатель без индикатора трудно найти в темноте. В статье предложено очень простое техническое решение, устраняющее мигание лампы.

Рис. 1
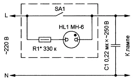
Во многих жилых и производственных помещениях установлены выключатели со светящимися индикаторами. Такой индикатор, подключённый параллельно контактам выключателя, облегчает его поиск в темноте Он содержит токоограничительный резистор R1 и неоновую лампу HL1 (рис. 1) или свето-диод HL1, защищённый от обратного напряжения диодом VD1 (рис. 2). Совместно с лампами накаливания такой индикатор работает замечательно - при разомкнутых контактах выключателя SA1 ток, ограниченный резистором R1 до уровня долей-единиц миллиампер, протекает через индикатор, вызывая его свечение, и через лампу, не оказывая на неё никакого воздействия.
При замене лампы накаливания современной люминесцентной энергосберегающей индикатор выключателя нарушает нормальную работу такой лампы, превращая её в релаксационный генератор.
выключателя SA1 ток, ограниченный резистором R1 до уровня долей-единиц миллиампер, протекает через индикатор, вызывая его
свечение, и через лампу, не оказывая на неё никакого воздействия.
При замене лампы накаливания современной люминесцентной энергосберегающей индикатор выключателя нарушает нормальную работу такой лампы, превращая её в релаксационный генератор.
Протекающий через индикатор ток заряжает конденсатор фильтра выпрямителя лампы. При достижении на конденсаторе напряжения запуска преобразователя напряжения лампа зажигается, конденсатор быстро разряжается, лампа гаснет и далее процесс повторяется. Визуально это выглядит как мигание. Из-за раздражающего действия многие пользователи отключают индикатор или устанавливают выключатель без индикатора.
Устранить мигание люминесцентной лампы можно очень простым способом: зашунтировать её конденсатором С1, как показано на рис. 3. Реактивное сопротивление этого конденсатора на частоте 50 Гц в десятки раз меньше сопротивления токоограничительного резистора R1. Этот резистор образует с конденсатором делитель напряжения сети. Напряжение на конденсаторе С1 при разомкнутых контактах выключателя недостаточно для зажигания лампы. При замыкании контактов выключателя конденсатор С1 оказывается под полным напряжением сети, дополнительно фильтруя помехи, образующиеся во время работы преобразователя напряжения энергосберегающей лампы.

Рис. 2
Конденсатор С1 удобнее всего установить в месте подключения светильника к электропроводке квартиры. Наиболее надёжны конденсаторы от сетевого фильтра импортной аппаратуры, которые специально предназначены для включения в цепь переменного тока, о чём свидетельствует маркировка "АС". Именно такому конденсатору соответствует номинальное переменное напряжение 250 В, показанное на рис. 3. Несколько хуже отечественные К73-17 с номинальным напряжением 630 В и БМТ-2.

Рис. 3
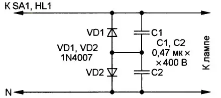
Ёмкость конденсатора зависит от тока через индикатор - для малогабаритных неоновых ламп оказалось достаточно конденсатора БМТ-2 ёмкостью 0,047 мкФ с номинальным напряжением 400 В. Они надёжно работают под напряжением сети. Ещё надёжнее эти конденсаторы и упомянутые выше К73-17 работают на пульсирующем напряжении, как показано на рис. 4.

Рис. 4
На рис. 3 показан индикатор на неоновой лампе как возможный вариант, это может быть и индикатор на свето-диоде. Для самодельного индикатора пригодна любая лампа тлеющего разряда HL1 на рис. 1 или любой маломощный светодиод видимого спектра излучения HL1 на рис. 2. Диод VD1 (рис. 2) - любой кремниевый маломощный универсальный или импульсный. Сопротивление токоограничительного резистора R1 подбирают по желаемой яркости излучения элемента HL1, но амплитуда тока через HL1 не должна достигать предельно допустимого значения. Если мигание люминесцентной лампы не устранено, необходимо увеличить ёмкость конденсатора С1 (рис. 3) или конденсаторов С1 и С2 (рис. 4), их ёмкость должна быть одинакова.
Автор: К. Мороз, г. Белебей, Башкортостан