на главную
Карта сайта
English version
Вы читаете:

Даташит (datasheet) на микросхему, транзисторы, диоды

Даташиты (Datasheets)

Даташиты (Datasheets MC14490DW) электронных компонентов

Даташит поиск по электронным компонентам в формате pdf на русском языке. Бесплатная база содержит более 1 000 000 файлов доступных для скачивания. Воспользуйтесь приведенной ниже формой или ссылками для быстрого поиска (datasheet) по алфавиту.Если вы не нашли нужного Вам элемента, обратитесь к администрации проекта .
Более 1 000 000 datasheetsнапример: LM317

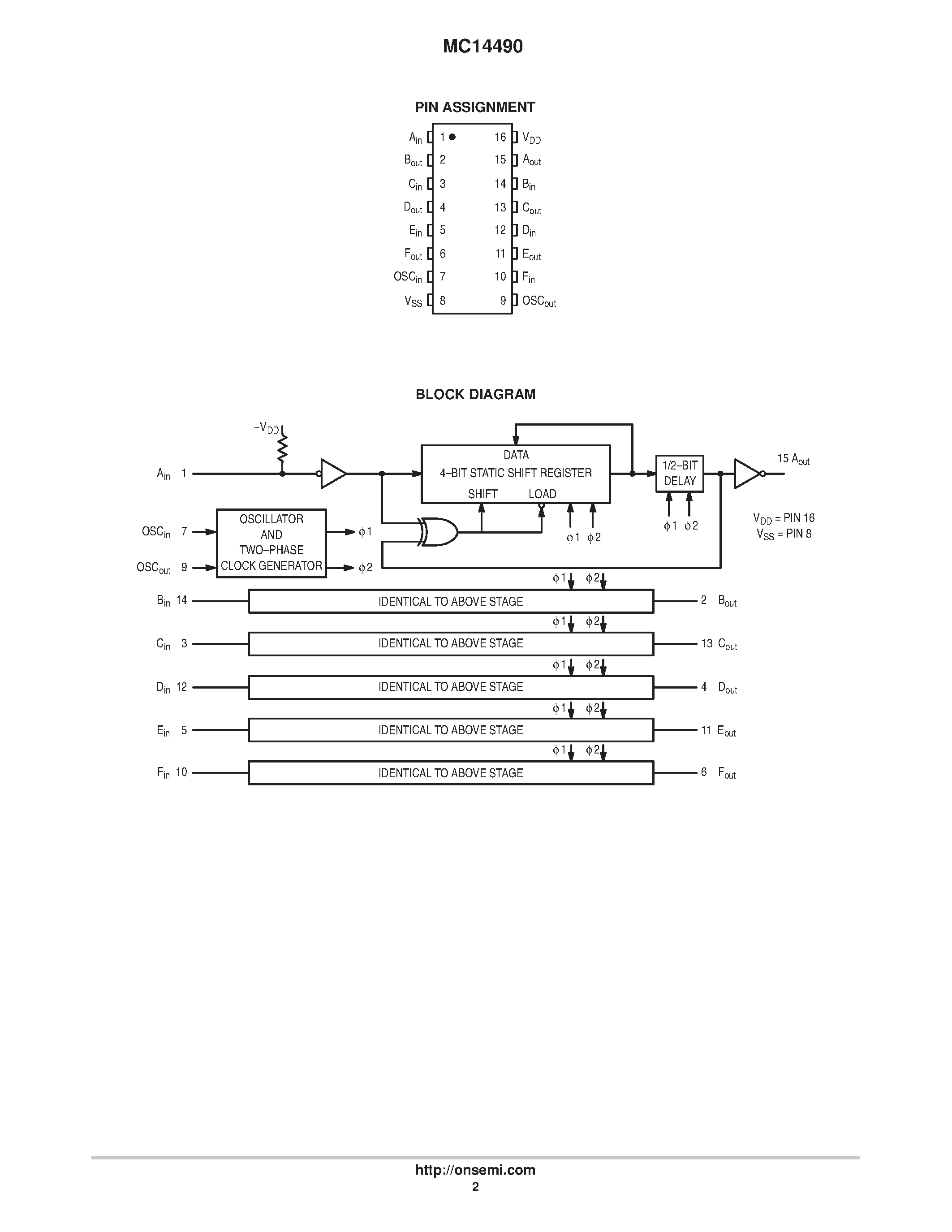
MC14490DW-Hex Contact Bounce Eliminator

Наименование:MC14490DW
Производитель:ON Semiconductor
Скачать даташит (datasheet):
Описание:Hex Contact Bounce Eliminator
Другие, ссылающиеся на этот файл: MC14490DW
Даташит MC14490DW - Hex Contact Bounce Eliminator страница 1
Даташит MC14490DW - Hex Contact Bounce Eliminator страница 2