на главную
Карта сайта
English version
Вы читаете:

Даташит (datasheet) на микросхему, транзисторы, диоды

Даташиты (Datasheets)

Даташиты (Datasheets SN74LS293D) электронных компонентов

Даташит поиск по электронным компонентам в формате pdf на русском языке. Бесплатная база содержит более 1 000 000 файлов доступных для скачивания. Воспользуйтесь приведенной ниже формой или ссылками для быстрого поиска (datasheet) по алфавиту.Если вы не нашли нужного Вам элемента, обратитесь к администрации проекта .
Более 1 000 000 datasheetsнапример: LM317

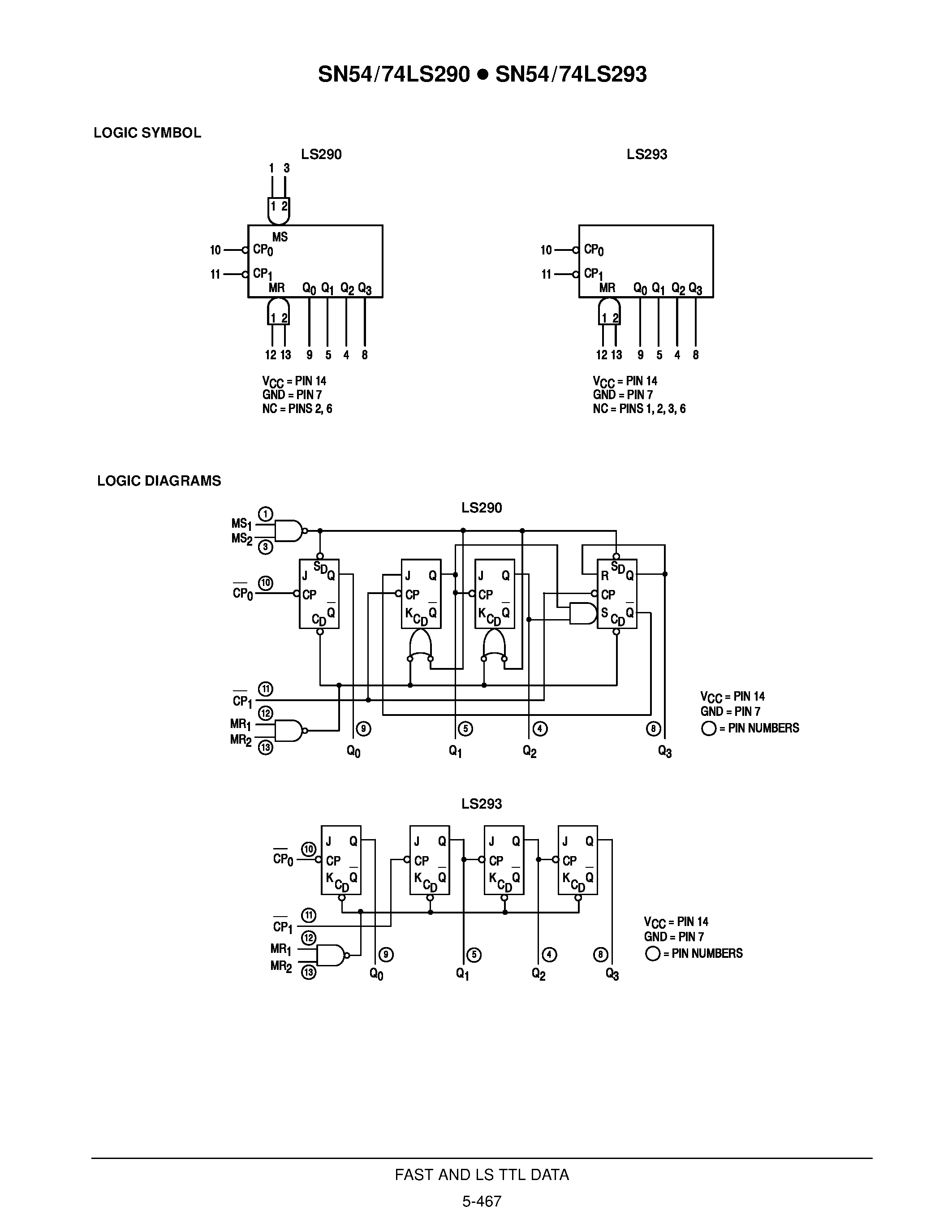
SN74LS293D-DECADE COUNTER 4-BIT BINARY COUNTER

Наименование:SN74LS293D
Производитель:Motorola
Скачать даташит (datasheet):
Описание:DECADE COUNTER 4-BIT BINARY COUNTER
Другие, ссылающиеся на этот файл: SN74LS293D
Даташит SN74LS293D - DECADE COUNTER 4-BIT BINARY COUNTER страница 1
Даташит SN74LS293D - DECADE COUNTER 4-BIT BINARY COUNTER страница 2