В данной статье проанализируем возможности применения т. н. "чистого" хаоса - непериодического колебания, непрерывно изменяющегося во времени и имеющего континуальное множество значений. Широкое применение таких сигналов в СПИ могло бы полностью решить вопрос "закрытости" систем от несанкционированного доступа. Однако для непрерывного процесса крайне остро стоит проблема формирования его копии на приемной стороне и, соответственно, получения синхронного отклика в устройстве приема и обработки сигнала.
Первой статьей, послужившей точкой отсчета потока публикаций по передаче информации с использованием хаотических сигналов, является статья [8], в которой была показана возможность специального случая синхронизации между двумя нелинейными системами. Одна из них генерирует хаос, а другая представляет собой нелинейный согласованный фильтр. Таким образом, речь шла не о возможности синхронизации двух хаотических систем [9], а о получении на выходе нелинейного фильтра копии хаотического сигнала, генерируемого передатчиком. Поэтому адекватным становится термин "хаотический синхронный отклик", предложенный в [10]. Начиная с 1992 г. был предложен ряд способов передачи сигналов, использующих хаотическую динамику:
- хаотическая маскировка;
- переключение хаотических режимов;
- нелинейное подмешивание;
- дуальное нелинейное преобразование;
- опережающее управление сечением Пуанкаре;
- частотная модуляция хаотическим сигналом и др.
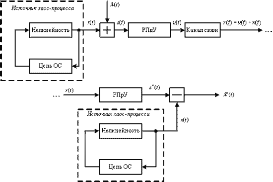
При хаотической маскировке (рис. 1) информационный сигнал λ(t) суммируется с выходным сигналом x(t) хаотической системы [11]. Результирующий сигнал s(t) = x(t) + λ(t) преобразуется в радиосигнал и передается в канал.

Рис. 1. Система передачи информации с хаотической маскировкой
Обладая некоторой степенью конфиденциальности, хаотическая маскировка страдает от одного серьезного недостатка: мощность информационного сигнала λ(t) должна быть много меньше мощности сигнала x(t). Это приводит к низкому отношению сигнал/шум на выходе приемника. Кроме того, параметры источника хаоса с низкой фрактальной размерностью могут быть определены с помощью методов оценки параметров, поскольку в этом случае статистика хаотического носителя определяется непосредственно по наблюдению в канале. По этим причинам система не является достаточно конфиденциальной.
При переключении хаотических режимов [12, 13, 14] в случае бинарного информационного сигнала символ "1" кодируется одним типом хаотического сигнала, а символ "0" - другим (рис. 2). В интересах конфиденциальности эти хаотические сигналы выбираются таким образом, чтобы иметь схожие статистические характеристики.

Рис. 2. Система передачи информации с переключением хаотических режимов
Переключение хаотических режимов обеспечивает возможность реализации простой конфигурации приемного устройства и более высокий уровень конфиденциальности, чем системы с применением ПСП. Главный недостаток подобной системы заключается в том, что при изменении значения параметра λ блок хаос-генераторов в приемном устройстве должен быть синхронизирован, для чего требуется определенное время. Поэтому скорость передачи данных относительно низкая и спектральная эффективность невелика; отношение полосы информационного сигнала к полосе передачи мало.
При нелинейном подмешивании (рис. 3) информационный сигнал непосредственно участвует в формировании сложного хаотического поведения автоколебательной системы [10, 15, 16, 17] и такой ввод информации нельзя назвать ни аддитивным наложением, ни обычным суммированием.

Рис. 3. Система передачи с нелинейным подмешиванием информации
В автоколебательной системе на передающем конце информационный сигнал нелинейно подмешивается к собственному сигналу системы. На рис. 3 информационный сигнал вводится в кольцо обратной связи кольцевого автогенератора (сравните с рис. 1). Хаотический модуль приемника реализуется на базе копии того же генератора хаоса путем размыкания петли обратной связи и добавления в цепь вычитателя. По сути, для извлечения информации в приемнике реализуется обобщенный нелинейный фильтр, осуществляющий тот же вид нелинейного преобразования, что и в передатчике. Функционирование системы обеспечивается при полной идентичности хаос-генераторов передатчика и приемника.
В системах с дуальным нелинейным преобразованием [18, 19, 20] передатчик состоит из хаотической системы, в которую вводится информационный сигнал. Приемник является инверсной системой по отношению к передатчику. Системы с дуальным нелинейным преобразованием потенциально обеспечивают более высокие скорости передачи, чем системы с переключением хаотических режимов, поскольку по достижении синхронизации передатчик и приемник остаются синхронизированными в течение всего сеанса связи и не десинхронизируются при смене типа информационного бита. Системы с дуальным нелинейным преобразованием могут использоваться для передачи как аналоговых, так и цифровых информационных сигналов.
Опережающее управление сечением Пуанкаре (рис. 4). В этом виде модуляции для кодирования и декодирования используется символический анализ [21]. В сечении Пуанкаре аналоговой хаотической системы идентифицируются две или более разделенные области и им присваиваются определенные значения для кодирования информации (например, одной траектории хаос-процесса условно присваивается "0", другой - "1"). С помощью соответствующего метода управления фазовая траектория передающей системы направляется через одну из областей сечения Пуанкаре так, что реализуются траектории, соответствующие информационному сигналу, который должен быть передан. Управление можно осуществить, например, изменяя в незначительных пределах один из параметров р стохастической автоколебательной системы в соответствии с передаваемым символом из алфавита сообщения λ.

Рис. 4. Система передачи с опережающим управлением сечением Пуанкаре
На приемной стороне идентичная хаотическая система будет приблизительно синхронизироваться с передающей системой. Информационный сигнал в синхронизированном приемнике может быть извлечен путем идентификации выбранных областей сечения Пуанкаре при посещении траекторией этих областей. Для того чтобы "спрятать" информацию, содержащуюся в передаваемом сигнале, передается состояние или функция состояния, которые не обязательно имеют отношение к положению сечения Пуанкаре. Путем предсказания будущего пересечения сечения Пуанкаре траекторией системы передатчик может использовать высокую чувствительность системы к возмущениям и с помощью небольшого по уровню сигнала обеспечивать передаваемый хаос-процесс, близкий к хаос-процессу в невозмущенной системе, и таким образом поддерживать режим синхронизации в приемнике.
Еще одним способом передачи информации является применение хаотических систем с фазовой автоподстройкой частоты [22, 23, 24]. В таких системах информация вводится в низкочастотную хаотическую цепь контроля фазы. Достоинством систем с фазовой автоподстройкой является непосредственное расширение спектра хаотических колебаний и относительная простота реализации в радиодиапазоне.
Значительное количество работ посвящено методам обработки и хранения информации с помощью хаоса [25, 26, 27, 28], однако наибольший интерес представляют собой системы по передаче данных с использованием хаотических сигналов. Имеются сведения, что уже к третьему десятилетию нашего века 80 % информации, передаваемой по каналам систем мобильной радиосвязи, будут составлять данные Интернет, и только 20 % - данные речевого трафика. Поэтому в настоящее время основной упор разработчиков должен делаться на проектирование многопользовательских систем с высокоскоростной передачей данных. Этой теме посвящено некоторое количество монографий и публикаций [2, 3, 5, 29, 30, 31], но в целом проблема еще далека от завершения.
По этим причинам в следующей статье будет предложен метод передачи цифровых данных с помощью хаотических сигналов. Подобная задача должна решаться в комплексе: необходимо учитывать помехи в канале, причем не только шумовые, но и импульсные (узкополосные и широкополосные, преднамеренные и непреднамеренные); нужно учесть возможность уплотнения каналов по форме хаос-сигнала; сигналы в системе должны формироваться цифровыми методами; система должна быть защищенной и работать по возможности "под шумом"; на этапе практической реализации необходимо применение исправляющих одиночные ошибки кодов, перемежения и т.д. Выполнение подобных требований и обеспечивает успех системы при практическом использовании в будущем.
Кроме всего сказанного, генераторы хаос-процессов легко реализуемы в радиочастотном и СВЧ диапазонах. Алфавит используемых символов при использовании ШХС в принципе ничем не ограничен (как и ансамбль сигналов), в отличие от М-последовательностей или иных бинарных последовательностей. Это открывает широкие возможности для построения высокоскоростных СПИ, используя, например, многоуровневые ортогональные последовательности (МОП). Правда, в этом случае расширяется динамический диапазон (ДД) как одиночного, так и группового сигнала, однако выигрыш очевиден. Как было сказано в предыдущей статье, конфиденциальность СПИ с ШХС намного выше обычных систем - "закрытость" системы лежит в самой природе широкополосных хаотических сигналов.
Список источников см. здесь.
Автор:dvv
Дубровский Василий
г. Минск, Беларусь
