Этой статьёй, я хотел бы ответить на наиболее часто задаваемые радиолюбителями вопросы, пояснить особенности монтажа однотактных ламповых усилителей, сравнить звучание различных ламп в выходном каскаде, поговорить об использовании разных радиоэлементов усилителя и влиянии их на звучание и т.д.
Несмотря на то, что в предыдущих моих статьях описаны основные принципы конструирования и использования радиоэлементов, письма, поступающие регулярно, говорят о недостаточном освещении этих вопросов. Мы с Вами попытаемся подробно разобраться по каждой группе проблем, подстерегающих начинающих (и не очень) конструкторов высококачественных ламповых усилителей. Сразу скажу, что статья не претендует на истину в последней инстанции, а отражает моё видение проблемы. Мысли изложенные ниже прошли многократную проверку временем и моими друзьями и я счел нужным поделиться ими с Вами, уважаемые читатели.
Для удобства, используем схему однотактного усилителя, изображенную на рис.1.

Рис. 1. Схема однотактного усилителя
Схема не нова и много раз была опубликована в радиолюбительских журналах и в Интернете. Несмотря на это, она актуальна до сих пор, так как обеспечивает, при относительной простоте конструкции, отличное качество звучания.
Итак, начнем. Первая группа вопросов связана с регулятором громкости. Как вы видите, входной сигнал поступает прямо на него и от качества этого элемента зависит звучание всего усилителя уже начиная со входа.
Я применяю дорогой спаренный ALPS, потому что, с моей точки зрения:
- удобно регулировать громкость одной ручкой в двух каналах сразу. "разбаланс" сопротивлений двух резисторов этого регулятора минимален.
- "плавность хода" вне конкуренции.
- нет влияния (что очень важно) на характер входного сигнала.
Для справки, стоимость этого радиоэлемента 30-50$ (как повезет).Теперь поговорим об его замене. Можно использовать обычные переменные резисторы группы "В" (желательно проволочные), по одному на каждый канал. В этом случае громкости каналов подбираются индивидуально. Естественно, резисторы придется многократно отслушивать по наилучшему звучанию, но никто не обещал легких путей. Регулятор громкости, по возможности, не должен вносить никакой "окраски" во входной сигнал, я уже не говорю о дребезге контактов, шуршании, заедании и т.д.Хороший результат дает применение ступенчатого регулятора громкости (применялся в усилителе "Бриг", предварительном усилителе "Радиотехника" и т.д.). Выбор за Вами.
Вторая группа вопросов связана с применением ламп первого каскада усилителя. Для этого подойдут 6Н2П или её октальный вариант 6Н9С, 6Н1П или её октальный вариант 6Н8С, 6Г7 (у кого остались со старых времен) и их зарубежные аналоги (полистайте справочник). Хочу сразу сказать о звуке. Лампа 6Н9С звучит "теплее", а 6Н8С более "аналитично", 6Г7 звучит очень детально и мягко. Коэффициенты усиления и внутреннее сопротивление у всех этих ламп различны (специально не привожу, посмотрите справочник), поэтому и различны номиналы резисторов, применяемых в каскаде. Выбор за Вами, уважаемые конструкторы. Чтобы Вы не "изобретали велосипед", приведу данные анодного резистора для различных типов ламп, о которых я сказал.
- 6Н8С=6Н1П - 20-30 ком
- 6Н9С=6Н2П - 47-51 ком
- 6Г7 - 100-110 ком
Катодные резисторы подбираются по напряжению на катоде (относительно корпуса естественно) в пределах 1,45-1,5 вольта.
Сразу скажу и о типах постоянных резисторов, применяемых в высококачественных усилителях. Наилучшие результаты получаются при применении углеродистых резисторов. Это старые, почти забытые ВС, БЛП,УЛИ, или новые Р1-71. Я применяю последние. Делает их Нижний Новгород, предприятие называется "Резистор-НН".
Можно применить С2-33Н или, в крайнем случае МЛТ, но есть и ограничения, все резисторы класса точности 1-2% .
Третья группа вопросов связана с типами и номинальными ёмкостями применяемых конденсаторов. Этот вопрос будет условно разделен на три части:
- Разделительный конденсатор
- Электролитические конденсаторы
- Конденсаторы постоянной ёмкости
Будем отвечать последовательно на каждую часть вопроса.
Разделительный конденсатор - это наиважнейший, как и выходной трансформатор, элемент схемы. (Вообще, все элементы важны, обращаю на это Ваше внимание, мелочей здесь не бывает). От его качества очень сильно зависит звучание усилителя в целом.
В радиолюбительской литературе, как вариант, описано применение в качестве разделительных конденсаторов К71, К78, К73, К40У-9, К40У-2, К42У-2, ФТ на соответствующее напряжение - от 250 вольт. Хочу сказать сразу, каждый тип конденсатора имеет свое неповторимое звучание, выбор опять же за Вами. Моё мнение однозначно, только бумага в масле. Я предпочитаю Jensen. Эти конденсаторы бывают медными и алюминиевыми, медный звучит теплее и мягче, а алюминиевый ярче и контрастнее. Звучание усилителя с этими типами конденсаторов имеет прекрасный тональный баланс и сбалансированность. Для справки, стоимость одного конденсатора 20-30$ за алюминий и 30-40$ за медь. Далее привожу формулу для расчета разделительного конденсатора.
где С - ёмкость в мкФ, F - нижняя граничная частота в Гц, R - резистор в управляющей сетке следующей (выходной) лампы в кОм. Как видите, расчет очень простой и позволяет Вам различные вариации.
Электролитические конденсаторы фильтров в цепях блока питания могут быть попроще. (Это Teapo, Samsung и т.д.), а вот в цепях автоматического смещения - наоборот, как можно лучшего качества. Идеальный вариант - Black Gate, они на сегодняшний день лучшие в мире электролитов. У них два "недостатка" - требуют 10-15 минутного прогрева и высокая цена (10-100$), в зависимости от ёмкости и рабочего напряжения). При применении Black Gate, шунтировать электролиты конденсаторами постоянной емкости, не надо. Кстати о них. Шунтирование электролитов конденсаторами постоянной емкости улучшает звукопередачу в области высоких частот. Ёмкость их выбирают на один - два порядка меньше ёмкости электролитических. Тип этих конденсаторов - плёночные К73, К78 и т.д. Для расчета ёмкости конденсатора в цепи автоматического смещения, следует воспользоваться формулой
где С - ёмкость конденсатора в мкФ, F - нижняя граничная частота в Гц (как правило 10 Гц), R - резистор автоматического смещения в Ом.
Переходим к четвертой группе вопросов, связанных уже с выходным каскадом. Вначале о резисторе R6, на рис.1. Величина этого резистора (180-500ком), с одной стороны, должна быть как минимум в 5-10 раз выше выходного сопротивления предыдущего каскада, а с другой, не может быть больше максимального сопротивления управляющей сетки конкретной выходной лампы (справочное значение). Поскольку с изменением величины этого резистора меняется и частота среза Г-образного фильтра, образованного С3 и R6, увеличение его приводит к увеличению низких частот и к возможному уменьшению ёмкости разделительного конденсатора и наоборот (см. формулу). "Поиграйтесь" с ним, и Вы сами убедитесь в справедливости моих слов. Для некоторых типов ламп, склонных к возбуждению, полезно между управляющей сеткой выходной лампы и точкой соединения C3 и R6 включить резистор 1-3 ком. (На схеме не показан). На звучание это практического влияния не оказывает, а возбуждение (если оно есть) будет устранено. Резистор, соединяющий анод лампы и вторую сетку, переводит пентод (или тетрод, как хотите) в режим триода. Сопротивление этого резистора находится в пределах 100-560 ом и зависит от типа лампы. Важно, чтобы напряжение на второй сетке всегда было несколько меньше анодного. Я считаю, что применение триодного включения, наиболее предпочтительно, и не надо переводить лампу в пентодный или ультралинейный режим (тем более, что для этого случая нужен дополнительный отвод с первичной обмотки выходного трансформатора), хотя некоторые авторы с успехом применяют в своих конструкциях именно такое включение.
Пятая группа вопросов связана с различным звучанием ламп в выходном каскаде. Тут есть одна сложность. Дело в том, что оценивая звучание, мы используем термины, в основе которых лежат эмоциональные критерии. Как можно оценить "прозрачность", "музыкальность", "теплоту" и т.д. и т.п.? Сложность этого вопроса состоит еще и в том, что каждый из нас слышит по-разному. Я изложу моё восприятие звучания различных типов ламп, наиболее часто применяемых в выходных каскадах.
6П13С - абсолютно нейтральный звук. Из-за этого многим не нравится. Несмотря на это, линейность лампы и как следствие относительно малый коэффициент нелинейных искажений, вне конкуренции. Плюс к этому, из-за относительно низкого внутреннего сопротивления, мощность однотактного каскада на этой лампе будет около 4 вт.
6П3С - очень "певучая" лампа, специально предназначенная для работы в выходных каскадах УНЧ. Звучание немного окрашено, высокие и низкие частоты на краях звукового диапазона несколько приглажены. Если Вам нравится звучание ламповых приёмников и радиол пятидесятых годов, то это удачный выбор. Мощность каскада на ней 2-2,5 вт.
6П14П - звучит немного резче 6П3С. Лампа пальчиковая и разогревается очень сильно. Многие ламповые телевизоры и радиолы прошлых лет имели в выходном каскаде именно эту лампу. Мощность около 1,5-1,7 вт.
6П43П - хороший выбор. Лампа очень линейна, звучание достаточно детальное и гармоничное. Недостатков я не заметил. Цоколь - как у 6П14П. Мощность каскада около 2,5 вт. Звучание выходного каскада значительно лучше, чем на 6П14П. Моя статья об усилителе на этой лампе (автор схемы - А.И.Манаков) опубликована в №9 журнала "Радиолюбитель" за 2003 год.
6П7С - по сравнению с 6П3С имеет более прозрачное звучание на высоких частотах.В радиолюбительской литературе и на различных форумах лампу 6П7С часто приравнивают к 6П3С. Это несколько не так. 6П7С - это октальный вариант лампы Г-807 и звучит она больше как Г-807, а не как 6П3С. Звучание, с моей точки зрения, немного аналитичное, но в целом - неплохой выбор. Мощность 2-2,5 вт.
EL 34 - очень распространенная лампа, применявшаяся во многих эстрадных усилителях ( Regent 60, Beag и т.д.) Имеет богатое, "сладкое" (иногда даже слишком) звучание, но очень многим нравится, тем более что позволяет получить мощность в однотактном включении около 3-3,5 вт.
6L6 GA - по параметрам и цоколёвке, полный аналог 6П3С. Очень часто её называют гитарной лампой. Наверное потому, что во многих зарубежных инструментальных комбо усилителях стояли именно эти лампы. Параметры параметрами, а звучание у лампы 6L6 при сохранении "певучести" 6П3С, характеризуется удивительной "воздушностью" и детальностью. Такое ощущение, что акустических систем просто нет. Мощность - около 2,5 вт.
Отдельно нужно сказать о 6Ф3П, 6Ф5П. Имея такие лампы, можно создать очень компактный аппарат, так как в одном баллоне содержится и триод и пентод. Схемы и особенности работы многократно описаны в литературе и на сайтах, поэтому вдаваться в подробности не буду. Мощность усилителя в этом случае 2 вт, звучание достаточно ровное и детальное. С моей точки зрения, немного не хватает "напора", зато джаз, соул, ритм энд блюз - очень неплохо.
Очень часто в выходных каскадах ламповых однотактных усилителей применяются прямонакальные триоды 300В, 6С4С, 2А3, ГМ 70 и т.д. Звучанию этих ламп, схемам и особенностям их работы, будет посвящена отдельная статья, так как оконечные каскады, выполненные на них, имеют свои специфические особенности.
При выборе ламп, предпочтение следует отдавать новым, не работавшим лампам, выпущенным до 1970 года (качество было выше), желательно с большими колбами и чёрными анодами. В любом случае, выбирать и слушать Вам, уважаемые читатели.
Переходим к шестой группе вопросов, связанных с особенностями монтажа. Для достижения наилучших параметров усилителя существует ряд общих рекомендаций, которые я попытаюсь изложить.
Как вы знаете, трансформаторы и другие моточные изделия, имеют большие поля рассеивания, которые взаимодействуя с радиоэлементами схемы и друг с другом, могут давать различные наводки в виде фона, призвуков и т.д. Поэтому, для начала, лучше всего располагать их как можно дальше друг от друга, следя за тем, чтобы сердечники магнитопроводов были взаимно перпендикулярны. Хорошие результаты получаются при вертикальной разноске этих элементов (например, выходные трансформаторы в подвале шасси, если высота позволяет). Прежде чем сверлить шасси, хорошо бы попробовать различные варианты взаимного расположения элементов усилителя, используя 2х сторонний скотч (продаётся в автомагазинах). Сэкономите силы и время.
Для монтажа используйте провод достаточного сечения (2,5 мм) и не допускайте замкнутых контуров. Вы ведь конструируете высококачественный усилитель, а не радиоприемник. Естественно, все провода должны быть, по возможности, короткими.
Отдельно скажу о разводке "земляной" шины. Очень многие были наказаны неудовлетворительной работой усилителя именно из-за неправильного монтажа "земляных" шин. Монтаж выполняется проводом (можно голым) большого сечения и имеет контакт с шасси в одной точке, желательно рядом со входом. Все "земляные" соединения выполняются "звездой". Это означает, что из точки контакта с шасси, к каждому каскаду усилителя, источнику питания, входному и выходному разъёму, идет отдельный провод и в этой точке получается соединение, похожее на паука или звезду. Все гнёзда, входные и выходные, не имеют контакта с шасси.
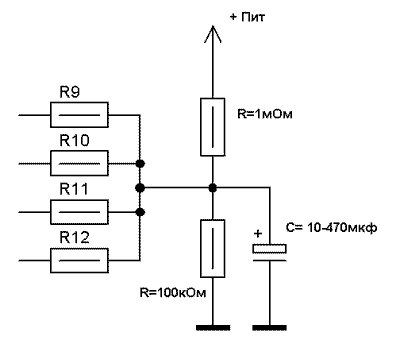
Для соединения входных гнёзд с выводами переменного резистора, отлично подходит медный одножильный провод, сечением 0,5-0,7 мм. Провода перевиты между собой и изолированы друг от друга тонким шнурком для обуви. Перевиты так же и провода цепей накала ламп. Это нужно для уменьшения фона переменного тока. Для этих же целей служат и резисторы R9-R12. Для еще большего подавления фона цепей накала ламп следует применить схему, изображённую на рис.2. Это делитель напряжения 1:10.

Рис. 2. Подавление фона цепей накала ламп
Посредством него, на накалы ламп подается положительное смещение, которое "запирает" участок накал-катод. Варьируя сопротивлениями резисторов делителя, нужно следить за тем, чтобы запирающее напряжение, подаваемое на R9-R12, было на 8-10 вольт больше напряжения автоматического смещения (на резисторе R8) конкретной выходной лампы. Вместо пар резисторов R9R10 и R11R12, можно применить переменные на 100-200ом, соединённые средним контактом с делителем. Вращением движка переменного резистора, в этом случае, достигается наименьший уровень фона (можно контролировать на слух).
Седьмая группа вопросов связана с выходными трансформаторами. От качества их изготовления, как Вы понимаете, звучание усилителя зависит в наибольшей степени. Очень неплохое качество звучания дают выходные трансформаторы, намотанные на железе от трансформаторов ОСМ.
Если Вы не в силах о самостоятельно осуществить намотку выходных трансформаторов, можно обраться на audioportal.spb.ru где есть готовые с хорошим звучанием, также в этой фирме могут осуществить намотку выходных трансформаторов по вашим расчётам на каркасах, присланных Вами.
Безусловно, Tango, Tamura и т.д. - намного лучше. Выбор опять же за Вами. Но цены на эти изделия исчисляются сотнями долларов, и далеко не каждый может позволить себе такое удовольствие.
Отдельно нужно сказать про акустические и межблочные кабели. Многие почему-то недооценивают влияние этих компонентов на звучание вашей системы в целом. А зря. Плохой кабель может свести на нет все усилия конструктора, даже если усилитель правильно настроен и хорошо звучит. Для акустических систем применяйте OFC провода сечением от 2,5 кв.мм, желательно известного производителя. В качестве межблочных, тоже лучше всего воспользоваться изделиями известных фирм (например Atlas,Daxx и т.д.) Хороший кабель только подчеркнёт достоинства Вашего усилителя.
Также (бюджетный вариант), в качестве межблочных с неплохим звучанием можно применить компьютерный провод UTP-5 (витая пара 5й категории), UTP-6 или радиопровод ПРППМ.
Восьмая группа вопросов связана с особенностями настройки усилителя. Я не думаю, что подбор рекомендованных мною напряжений, вызовет затруднения у людей, хоть раз державших паяльник в руках. Единственное, вольтметр должен иметь высокое входное сопротивление. Ток лампы удобно контролировать по падению напряжения на катодном резисторе. Зная сопротивление этого резистора и падение напряжения на нём, по закону Ома легко вычисляем ток I=U/R.
Для правильной фазировки (очень важно), нужно иметь генератор и 2-х лучевой осциллограф. Если осциллограф однолучевой, то можно настроить по фигурам Лиссажу, подав сигналы с выхода усилитея на входы "Х" и "Y". Вместо генератора можно воспользоваться тестовым диском, с записанными на нем сигналами. Выпущены они редакциями журналов "Салон AV" и "Радиохобби". Смысл фазировки: фаза сигнала на входе усилителя = фазе сигнала на его выходе. Если это не так, меняйте местами выводы вторичной обмотки выходного трансформатора.
Девятая группа вопросов затрагивает схемотехнику. Чаще всего применяется три разновидности схем.
- Резистивный входной каскад.
- Входной каскад SRPP.
- Усилитель по схеме "Лофтин-Уайт".
Каждая схема имеет свои достоинства и недостатки, поэтому коротко скажу об особенностях.
Усилитель на резисторах - наиболее простой и, как правило, хорошо звучащий. Мне такое включение нравится больше всего.
Усилитель со входным каскадом SRPP (каскад с динамической нагрузкой) был подробно описан в моей статье "И снова ламповый, однотактный", опубликованной в журнале "Радиолюбитель" №3 за 2004 год (стр.35-37). Статья достаточно большая и подробная, поэтому её лучше прочитать целиком. На сайтах она тоже есть, пересказывать нет никакого смысла.
Усилитель по схеме "Лофтин-Уайт" не имеет разделительного конденсатора, поэтому можно немного сэкономить. Но есть и особенности звучания, например более "рыхлый" и, как следствие, плохо артикулируемый низкочастотный диапазон, из-за большого номинала катодного резистора.
Не очень нравится и сильная зависимость звучания от сопротивления в цепи катода выходной лампы и повышенное (из-за схемотехнических особенностей) напряжение питания, как правило от 350 вольт и выше. Но есть и ярые поклонники этой схемы, которые отмечают удивительную "чистоту и заоблачную прозрачность" (цитата не моя) в прорисовке музыкальных образов, так что выбор снова за Вами, уважаемые читатели.
Существуют также схемы с разделительными межкаскадными трансформаторами. Но хороший "межкаскадник" стоит дороже хорошего разделительного конденсатора, его применение должно быть оправдано в каких-то конкретных случаях. Обратитесь к литературе, если интересно, попробуйте.
Десятая группа вопросов связана с акустическими системами, применяемыми совместно с однотактными усилителями.
Общее правило - чувствительность акустики от 90 дб, так как мощности усилителей небольшие. Хорошо применять системы, динамики которых имеют бумажные диффузоры, потому что "бумажник" наилучшим образом "обращается" с музыкальным сигналом (можно сказать, очень бережно и деликатно). Некоторые используют давно забытую открытую акустику, но имейте ввиду, что звучание таких систем настолько не привычно и не похоже на современное, что может оттолкнуть Вас от применения этих изделий, а также их большие габариты и акустическое короткое замыкание на низких частотах.
Слушайте и выбирайте сами. Из-за нехватки места в наших квартирах, очень часто применяется полочная акустика (например KEF Q1 и т.д.), которая дает очень неплохие результаты.
Для тех, кто самостоятельно хочет изготовить акустические системы, нужно сказать, что процесс этот очень долгий и сложный, требующий немалых знаний, столярных навыков, терпения и аккуратности. Вряд ли кого-то устроит, как предмет интерьера, безобразный угловатый ящик без отделки, но опять же - выбирать Вам.
В заключении я хотел бы поблагодарить моего друга А.И.Манакова за консультации при подготовке этой статьи, В.Зимакова (Z-Audio) за предоставленные лампы 6L6 GA (1964 год). Пробуйте, экспериментируйте, слушайте ваши конструкции и результат не заставит себя долго ждать, ведь качественное звучание - это целый мир, которого вы все достойны.
Автор: В.В.Пузанов, г.Брянск
caravan@online.bryansk.ru
