Индикатор ИК излучения (IR-индикатор) предназначен для определения работоспособности инфракрасных излучателей, а также для ремонта устройств, работа которых основана на излучении в инфракрасной области спектра - пультов управления бытовой техникой, датчиков копировальных аппаратах, факсов и т.п. Свечение таких излучателей глаз человека не воспринимает, поэтому описываемый индикатор дает возможность проверить их работу.
Схема прибора представлена на рис. 1.

Рис. 1
При облучении фототранзистора VТ1, служащего датчиком ИК излучения, он открывается и положительный потенциал поступает на усилитель тока на транзисторах VТ2-VТ4, нагрузкой которого является светодиод НИ. Свечение последнего и свидетельствует об исправности проверяемого устройства.
При проверке пультов дистанционного управления бытовой техники светодиод индикатора мигает с частотой следования импульсов управления, а при проверке датчиков наличия бумаги копиров/факсов — светится постоянно.
Индикатор питается от выносного сетевого блока питания (адаптера) с выходным напряжением 5 В. Для увеличения мобильности прибора в качестве элементов питания можно использовать батарейки или дисковые аккумуляторы. Эксперимент показал, что индикатор вполне удовлетворительно работает и при питании от источника напряжением 3 В. Подбор необходимой чувствительности индикатора производится резисторами R1 и R4 (номинал последнего резистора можно уменьшить до 100 Ом).
А теперь о деталях и налаживании устройства. В качестве датчика ИК излучения использован фототранзистор из оптопары неисправной компьютерной мыши.
Налаживание индикатора заключается в установке его чувствительности подбором сопротивления резистора R1. Необходимо отметить, что датчик индикатора реагирует на яркое солнечное и электрическое освещение, поэтому установка слишком большой чувствительности нежелательна. В идеале индикатор должен четко показывать работу ИК устройств и не реагировать на излучение осветительных устройств в помещении.

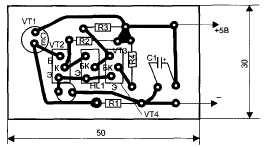
Рис. 2
Чертеж печатной платы ИК индикатора показан на рис. 2.
