В этой статье автор дает методику определения количества светодиодов, необходимых для реализации автомобильных светосигнальных фонарей, удовлетворяющих требованиям международных стандартов.
Светодиоды - это полупроводниковые устройства, преобразующие электроэнергию в электромагнитное излучение видимого, ультрафиолетового или инфракрасного спектров. Светодиоды видимого спектра выпускаются серийно, они имеют различные цвета и мощность от 0,05 Вт для индикаторов до сотен ватт для прожекторов. По сравнению с лампами накаливания светодиоды обладают большими быстродействием, сроком службы, экономичностью, естественно, что их начали применять в автомобильных светосигнальных и осветительных приборах.
В автомобильных светосигнальных приборах сегодня применяют светодиоды небольшой мощности, как правило, 0,2...0,6 Вт, и устанавливают по несколько штук в блоке. Рассмотрим методику определения количества светодиодов, необходимых для реализации автомобильных светосигнальных фонарей, удовлетворяющих требованиям международных стандартов.
Световые потоки, создаваемые автомобильными светосигнальными приборами, нормируются в соответствии с правилами SAE (Международное общество автомобильных инженеров) в США и правилами ЕЭК (ЕСЕ) в Европе и России. В таблице 1 приведены требования к световым потокам, создаваемым светосигнальными фонарями европейских автомобилей [1].
Таблица 1. Светотехнические характеристики автомобильных светосигнальных приборов
Назначение фонаря | Цвет | Сила света на оптической оси, кд | Минимальный световой поток, лм | |
Макс. | Мин. | |||
Передние указатели поворота в зависимости от расстояния до лампы ближнего света L (мм):
L > 40 20 < L < 40 L < 20 | Оранжевый |
600 700 800 |
175 250 400 |
15,9 22,6 36,3 |
Передний габаритный фонарь | Белый | 60 | 4 | 0.41 |
Стоп-сигнал: днем ночью | Красный |
520 185 |
130 60 |
11.8 5,5 |
Фонарь заднего хода | Белый | 300 | 80 | 15,2 |
Центральные повторители стоп-сигнала | Красный | 80 | 25 | 3,1 |
Фонари дневного света | Белый | 800 | 400 | 37,8 |
Применяемые в данном светосигнальном приборе светодиоды должны обеспечить требуемый минимальный световой поток. При этом учитываются потери светового потока в оптической системе фонаря и тепловой режим светодиодов. Опыт показывает, что в автомобильных светосигнальных фонарях со светодиодами используется только 12-25% создаваемого светового потока, для ламп накаливания ситуация еще хуже [1]. При нагреве светодиоды уменьшают световую отдачу.
Для определения минимального числа N светодиодов выбранного типа в световом приборе следует знать световой поток источника света ФREAL в фонаре, достаточный для его нормальной работы с учетом потерь в элементах оптики и световой поток светодиода в конкретных условиях светового прибора ФLED. Тогда зависимость выражается следующей формулой:
N = ФREAL / ФLED (1)
Такая методика определения минимального числа светодиодов для реализации светосигнальных автомобильных приборов наглядна и изложена, например, в [1, 2]. Сначала рассчитывают световой поток источника света ФREAL по эмпирической формуле из [1]:
ФREAL = 1.25 · (ФSPEC / KΣ) (2)
где ФSPEC - световой поток, создаваемый фонарем согласно спецификации (см. таблицу 1), KΣ - суммарный коэффициент пропускания оптической системы, который выражается формулой:
KΣ = KLENS · KGLASS · (1 - KFLUX) (3)
где KLENS - коэффициент пропускания светового потока в пластиковых линзах и рассеивателях фонаря. Коэффициент KGLASS учитывает дополнительное поглощение светового потока, если фонарь размещен за стеклом, например, повторитель стоп-сигнала в салоне. Величина KGLASS зависит от угла наклона стекла и уменьшается от значения 0,93 для вертикального стекла до 0,65, когда заднее стекло имеет наклон 20°. Коэффициент KFLUX учитывает уменьшение фактического светового потока из-за неточности его распределения.
Численные значения коэффициентов KFLUX, KGLASS, KLENS получаются путем обобщения экспериментальных данных и приводятся, например, в документации одного из разработчиков светодиодных автомобильных световых приборов фирмы Lumileds Lighting из США [1].
Определим в качестве примера световой поток источника света в двухрежимном сигнале торможения. По таблице 1 ФSPEC = 11,8 лм днем и ФSPEC = 5,5 лм ночью. Коэффициент пропускания пластиковых линз для красного света KLENS = 0,9. Это не дополнительный стоп-сигнал, размещаемый в салоне за стеклом, поэтому KGLASS = 1, KFLUX = 0.3 [1]. Имеем для варианта днем:
ФREAL = (11.8 · 1.25) / (0.9 · 1 · (1 - 0.3 )) = 23 лм (4)
В темное время суток расчет по (2) дает значение ФREAL = 10,9 лм.
Для сравнения, в фонарях стоп-сигнала и передних указателей поворота обычно используется лампа накаливания А12-21 (P21W), создающая гораздо больший световой поток (около 300 лм [3]). Объясняется это тем, что лампа накаливания генерирует световой поток в более широком оптическом спектре, чем светодиод, часть этого потока задерживается цветным рассеивателем фонаря.
При определении светового потока ФLED, создаваемого светодиодом в конкретных условиях светового прибора, учитывается тепловой режим диода, сильно влияющий на его характеристики. Генерируемый светодиодом световой поток уменьшается при увеличении температуры p-n-перехода (кристалла). Для современных светодиодов на основе сложных композитных полупроводников - соединений галлия (Ga), мышьяка (As), фосфора (Р), индия (In), алюминия (Al) и других элементов зависимости светового потока от температуры кристалла примерно экспоненциальные, они приводятся в технических характеристиках. В качестве примера на рис. 1 приведены зависимости нормированного светового потока от температуры кристалла для светодиодов XLamp XP-E LED фирмы Cree [4].
Создаваемый светодиодом световой поток производители указывают для температуры кристалла 25°С. Рабочая температура обычно выше, например, при температуре кристалла 100°С световой поток красного светодиода уменьшается на 35% (рис. 1).

Рис. 1. Зависимость светового потока от температуры кристалла
Допустимая температура кристалла ограничивается значением 125...150°С, так как при большей температуре меняются механические и оптические свойства прозрачного компаунда, которым залит кристалл в светодиоде. На практике светодиоды в изделиях должны работать при температурах p-n перехода не более 80...90°С, в противном случае ускоряется деградация светодиода и сокращается его срок службы [5].
При нагреве кристалла рост температуры на каждые 10°С приводит к увеличению длины волны излучаемого света примерно на 1 нм [5]. Для красных автомобильных фонарей допустим разброс доминантной длины волны спектра в пределах 90 нм, поэтому тепловой сдвиг спектра будет незаметен. В желтых фонарях допустим сдвиг доминантной длины волны спектра на 5...10 нм, и тепловое влияние на излучаемый спектр может быть заметно.
Таким образом, если основная задача теплового расчета световых приборов с лампами накаливания заключается в недопущении перегрева пластиковых арматуры и оптики интенсивным тепловым потоком от лампы, то в световом светодиодном приборе в защите от перегрева нуждается, прежде всего, светодиод.
Методы расчета теплового режима полупроводниковых приборов создаются в соответствии с закономерностями теории теплообмена. Тепло распространяется в пространстве тремя способами: за счет конвекции,теплопроводности и излучения. В инженерном расчете все эти три вида теплообмена учитываются в тепловом сопротивлении кристалл-среда Rja, которое связывает между собой температуры внешней среды Та и кристалла Tj, а также преобразуемую светодиодом в тепло мощность Р.
Tj = Та + Rja · P (5)
Светодиод преобразует в излучение только 10-15% своей электрической мощности, остальное - в тепло, поэтому:
P ≈ I·U, (6)
где U и I - рабочие ток и напряжение на светодиоде.
Современные светодиоды ведущих производителей имеют схожую конструкцию [5]. Кристалл крепится токопроводящим клеем к медной подложке относительно больших размеров, имеющей высокую теплопроводность. Полимерная линза защищает светодиод от внешних воздействий и формирует световой поток. Светодиод в фонаре припаивается на печатную плату из фольгированного алюминия, керамики или стеклотекстолита. При необходимости печатные платы светодиодов монтируются на дюралюминиевые или медные охладители (радиаторы). Охладитель делает теплообмен между кристаллом диода и внешней средой более интенсивным. В некоторых вариантах светодиод крепится непосредственно к радиатору.
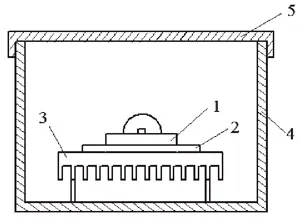
На рис. 2 упрощенно показано размещение светодиода в автомобильном светосигнальном приборе.

Рис. 2. Светодиод в светосигнальном приборе, где 1 - светодиод, 2 - печатная плата, 3 - радиатор, 4 - корпус фонаря, 5 - рассеиватель
Тепло, вырабатываемое p-n-переходом светодиода, распространяется по цепи: кристалл - подложка светодиода - припой или токопроводящий клей между подложкой светодиода и печатной платой - печатная плата - соединение печатной платы с радиатором - радиатор - окружающая среда за пределами фонаря. Каждый этап характеризуется своим тепловым сопротивлением, на схеме замещения они, в данном случае, включаются последовательно.
В светосигнальных фонарях используются относительно маломощные светодиоды, для которых тепловые сопротивления соединений "подложка - печатная плата" и "плата - радиатор" гораздо меньше теплового сопротивления "кристалл - подложка". Это позволяет использовать более простые модели теплового сопротивления (рис. 3) [5].

Рис. 3. Схемы замещения теплового сопротивления "светодиод - внешняя среда" с радиатором (а) и без радиатора (б), где Tj - температура p-n-перехода, Tc - температура соединения "подложка-печатная плата", Ta - температура внешней среды, Ts - температура соединения "печатная плата - радиатор"; Rjc, Rcs, Rsa, Rca - тепловые сопротивления соответственно "кристалл - подложка" (корпус), "печатная плата - радиатор", "радиатор - среда", "печатная плата - среда"
Результирующее тепловое сопротивление "кристалл - среда" для варианта с радиатором:
Rjа = Rjc + Rcs + Rsa (7)
Без радиатора:
Rjа = Rjc + Rса (8)
Величина теплового сопротивления Rjc "кристалл - подложка" (корпус) светодиода обычно приводится в технических характеристиках диода. Тепловое сопротивление Rjа "кристалл - среда" для конкретной конструкции осветительного прибора может быть определено экспериментально по следующей методике:
- К катоду светодиода, соединенному с печатной платой в фонаре, припаивают компактную термопару диаметром до 0,25 мм. Если в фонаре несколько светодиодов, выбирают нагревающийся наиболее сильно, обычно он находится в середине платы.
- Термопарой измеряют температуру корпуса светодиода Tc, а также температуру окружающей среды Ta через 30 минут после включения фонаря, когда тепловой режим стабилизируется.
- По формуле (5) определяют тепловое сопротивление "корпус (подложка) светодиода - среда"
Rса = (Tc - Ta) / P ,
где Р - мощность светодиода.
- По выражению (5) вычисляют Rjа.
Температуру p-n перехода светодиода можно также определять по величине прямого напряжения на диоде при постоянном токе.
На начальном этапе проектирования светодиодного фонаря, когда еще нет макета, используют оценки теплового сопротивления, полученные в результате обобщения имеющейся экспериментальной информации и моделирование на компьютере. В таблице 2 приведены оценки теплового сопротивления "кристалл - среда" для типовых конструкций автомобильных светосигнальных приборов на базе маломощных светодиодов [5].
Таблица 2. Тепловое сопротивление "кристалл - среда"
Конструкция фонаря | Rjа, °С/Вт |
Светодиоды расположены в один ряд, токоограничивающий резистор или драйвер размещены вне печатной платы | 325 |
Светодиоды расположены в один ряд, токоограничивающий резистор или драйвер размещены на той же печатной плате | 400 |
Светодиоды образуют массив, токоограничивающий резистор или драйвер размещены вне печатной платы | 500 |
Светодиоды образуют массив, токоограничивающий резистор или драйвер размещены на той же печатной плате | 650 |
Светодиоды располагают в один ряд, например, в повторителях стоп-сигнала, массивы используются в фонарях сигнала торможения.
В таблице 3 приведены характеристики некоторых маломощных светодиодов, применяемых в автомобильных светосигнальных приборах, они взяты с сайтов ведущих производителей www.lumileds.com и www.сree.com.
Таблица 3. Характеристики маломощных светодиодов
Параметр | Тип светодиода,производитель | ||||||
CLM4B-PKW, Cree | HPWT-MH00, Lumileds Lighting | HPWT-ML00, Lumileds Lighting | CP42T-RKS, Cree | CLM1B-RKW/ AKW, Cree | LAT68B-T2V1- 24, OSRAM | CLP6C-RKW/AKW, Cree, 3 светодиода | |
Световой поток, лм | 6,3 | 5,0 | 2,5 | 4,4 | 2,0 | 1,9 | 15 |
Излучаемый цвет | красный | красный | оранжевый | красный | красный | оранжевый | красный, оранжевый |
Тепловое сопротивление Rjc, °С/Вт | 150 | 125 | 125 | 125 | 300 | 180 | 3х150 |
Рабочий ток, мА | 70 | 70 | 70 | 70 | 50 | 50 | 3х80 |
Рабочее напряжение, В | 2,4 | 2,6 | 2,6 | 2,6 | 2,1 | 2,1 | 2,4 |
Tj макс., °С | 110 | 125 | 125 | 125 | 110 | 125 | 110 |
Габариты, мм | 3,2х2,7 | 7,6х7,6 | 7,6х7,6 | 7,6х7,6 | 3,2х2,7 | 3,4х3,0 | 5,0х6,0 |
Тип корпуса | BLCC | Р4 | Р4 | Р4 | BLCC | BLCC | BLCC |
Световой поток, создаваемый светодиодом в фонаре ФLED определяется по выражению:
ФLED = ФLEDCPEC · KT · KI · KUTIL, (9)
где ФLEDCPEC - типовое значение светового потока для данного светодиода при температуре p-n-пе-рехода 25 °С и номинальном токе, коэффициенты KT и KI учитывают отличие температуры кристалла Tj, и тока светодиода I от номинальных значений, коэффициент KUTIL ≈ 0,75 учитывает недоиспользование части светового потока конструкцией фонаря [5].
Для маломощных светодиодов в технических характеристиках иногда вместо светового потока приводятся плоский угол охвата δ и сила света J. В этом случае сначала определяется телесный угол Ω ≈ 2р · (1 - cos δ), затем световой поток ФLEDCPEC = J·Ω.
Например, определим световой поток ФLED светодиода HPWT-MH00 в фонаре сигнала торможения, ФLEDCPEC = 5 лм (таблица 3). В стоп-сигнале используется массив светодиодов, поэтому Rjа = 500 °С/Вт (таблица 2), положим Tj = 90 °С для обеспечения умеренной деградации светодиодов, тогда KT = 0,6. Величина KT определена по графику зависимости светового потока от температуры кристалла (рис.1). Допустимый рабочий ток диода:
I = (Tj - Ta) / (Rjа - U) = (90 - 65) / (500 · 2.6) = 20 мА (10)
Предельную температуру окружающей среды Ta для стоп-сигнала выбираем равной 65°С, как для электрооборудования автомобилей, устанавливаемого в кабине или снаружи [3]. Для ориентировочного расчета зависимость нормированного светового потока диода от нормированного тока можно считать линейной [5], поэтому
KI ≈ I / Imax ≈ 20мА / 70мА ≈ 0.3.
Таким образом ФLED = 5 · 0,6 · 0,3 · 0,75 = 0,675 лм, в фонарь стоп-сигнала для обеспечения работы днем необходимо поместить в соответствии с выражением (1)
N = 23 / 0.675 = 34
светодиода. Если использовать в расчете предельно допустимое значение температуры Tj = 125 °С, как это сделано в [5], с учетом повторно-кратковременного режима работы светосигнального прибора, N = 23.
В таблице 4 приведено расчетное количество маломощных светодиодов, необходимых для реализации фонаря сигнала торможения. Аналогичные результаты для светодиодов фирмы Lumileds Lighting приведены в [1].
Таблица 4. Количество светодиодов для стоп-сигнала
Параметр | Тип светодиода, производитель | ||||||
CLM4B-PKW, Cree | HPWT-MH00, Lumileds Lighting | HPWT-ML00, Lumileds Lighting | CP42T- RKS, Cree | CLM1B-RKW/ AKW, Cree | LAT68B-T2V1-24, OSRAM | CLP6C- RKW/AKW, Cree, 3 светодиода | |
Кол-во диодов при Tj = 125 °С | 15 | 23 | 31 | 17 | 25 | 23 | 7 |
Кол-во диодов при Tj = 90 °С | 23 | 34 | 63 | 36 | 46 | 42 | 11 |
Мощность фонаря при Tj = 125 °С, Вт | 1.4 | 2.8 | 3.7 | 2.1 | 2.5 | 2.7 | 1.9 |
В настоящее время производится большое число типов светодиодных ламп для автомобильных световых приборов для вторичного рынка. Автовладелец заменяет светодиодной лампой лампу накаливания в уже имеющейся арматуре, хотя это и незаконная операция, т.к. в соответствии с правилами ЕЭК световые приборы транспортного средства должны иметь тот тип и мощность ламп, которые установил завод-изготовитель. Например, на сайте www.netuning.ru приведено описание светодиодных аналогов А12-21. Лампа P21W-27s50 обеспечивает световой поток 162 лм, собрана на 27 светодиодах SMD5050, лампа P21W-60s35 имеет световой поток 200 лм и состоит из 60 светодиодов SMD3028.
Отметим, что SMD5050 и SMD3028 - это не типы светодиодов, а размеры посадочных мест 5,0х5,0 мм и 3,0х2,8 мм в технологии поверхностного монтажа. Заявленные высокие значения светового потока эти лампы смогут выдать в идеальных условиях при Tj = 25 °С. В реальных условиях автомобильных светосигнальных фонарей световой поток будет гораздо меньше. Число светодиодов в P21W-27s50 и P21W-60s35 не противоречит расчетам в таблице 4, следовательно, и режимы работы диодов примерно совпадают. Светодиодная лампа для замены А12-21 и не должна создавать световой поток 200 лм.
Тепловое сопротивление "кристалл-среда" Rjа определяется конструкцией фонаря. Для уменьшения Rjа на печатной плате сохраняют максимум металлизации, под основанием светодиода высверливают отверстия диаметром 0,4 мм и заполняют их припоем, материалом платы может являться алюминий вместо стеклотекстолита.

Рис. 4. Корпуса маломощных светодиодов: а - Р4, Пиранья, для монтажа в отверстия,
б - РLCC для поверхностного монтажа
Светодиоды размещают на максимально возможном расстоянии друг от друга, в фонаре дополнительного стоп-сигнала светодиоды размещают в один ряд на расстоянии ≈ 15 мм. В сигналах указателей поворота и торможения, где используются массивы светодиодов, расстояния между диодами ≈ 10 мм.
Представленные материалы подтверждают, что для применения светодиодов в автомобильных светосигнальных приборах на первичном и вторичном рынках уже нет нерешенных технических проблем.
Литература и интернет-источники
1. Using SuperFlux LEDs in automotive signal lamps. Application brief AB20-1, Lumileds Lighting (www.lumileds.com), 2004. - 16 pp.
2. LED luminaries design guide. Application note CLD-AP15.000, Cree Inc. (www.cree.com), 2007. - 16 pp.
3. Ютт В.Е. Электрооборудование автомобилей: Учеб. Для студентов вузов. - 2-е изд., пере-раб. и доп. - М.: Транспорт, 2007. 320 с.
4. Cree XLamp ХРЕ LED Data Sheet CLD-DS18 Rev 11, Cree Inc. (www.cree.com), 2008. - 16 pp.
5. Thermal management considerations for SuperFlux LEDs. Application brief AB20-4, Lumileds Lighting (www.lumileds.com), 2004. - 14 pp.
Автор: Владимир Яковлев (г. Самара)
Источник: Ремонт и сервис
