Бесколлекторные DC-двигатели получили широкое распространение в различных областях электроники благодаря своей компактности, высокой эффективности и небольшой стоимости. Для управления такими двигателями производители полупроводников сегодня предлагают несколько микросхем управления (например, Motorola - МС33035/33033, Hitachi - ECN3030/3035, Tl -UC3625/UCC3626).

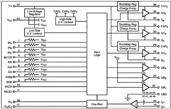
Рис. Блок-схема контроллера SI9979
SI9979 - интегрированный контроллер управления бесколлекторными двигателями с 3-фазной обмоткой и датчиками положения ротора со встроенным драйвером высокого и низкого плеча. Контроллер предназначен для работы с датчиками положения, которые расположены по дуге 60 или 120 градусов (выбор осуществляется регулировкой внешнего резистора). Если датчики Холла имеют выходы с открытым коллектором, датчики подключаются к контроллеру напрямую. Если датчики имеют дифференциальный выход, необходимо использовать дополнительную схему преобразования сигналов.
Функционально контроллер SI9979 состоит (см. блок-схему) из модуля обработки данных с датчиков, драйвера затвора, регулятора напряжения и схем защиты. Контроллер обрабатывает данные с датчиков положения на эффекте Холла. Драйвер верхнего плеча с обеспечивает управление N-канальными полевыми транзисторами. Для обеспечения максимальных возможностей управления контроллер имеет ШИМ вход для регулировки скорости вращения двигателя, функцию выбора направления сдвига фазы, тормозные прерыватели, а также выход тахометра. Встроенный регулятор низкого напряжения обеспечивает широкий диапазон входных DC-напряжений (от 20 до 40 В). Защитные функции включают в себя защиту от перекрестной проводимости, ограничение по току и блокировку при снижении напряжения. Выход FAULT информирует о возникновении одной из неисправностей в работе.
Контроллер SI9979 выпускается в 48-выводном корпусе SQFP для работы в расширенном диапазоне температур от -40°С до +85°С.
| Питание | |
| Диапазон напряжения питания | 20...40 В |
| Напряжение логической части | 16В |
| Ток питания | 4,5 мА |
| Ток потребления логической части | 20 мА |
| Опорное напряжение | 4,2 В |
| Напряжение высокого состояния | 4В |
| напряжение низкого состояния | 1 В |
| Выход | |
| Драйвер верхнего плеча, высокое состояние | 16 В |
| Драйвер верхнего плеча, низкое состояние | 0,1 В |
| Напряжение конденсатора | 55 В |
| Время включения | 100нс |
| Время выключения | 40 нс |
| Выход тахометра | 0,15 В |
| Ширина импульса тахометра | 300...600 нс |
| Защита | |
| Блокировка низкого напряжения низкого плеча | 12,2 В |
| Гистерезис низкого плеча | 08В |
| Блокировка низкого напряжения высокого плеча (напряжение питания логики | | 3,3 В |
