Термоэлектрические охлаждающие устройства (ТОУ) применяются для охлаждения и термостатирования термочувствительных элементов радиоэлектронной и оптической аппаратуры, а также в бытовых и транспортных холодильниках, термостатах, медико-биологических приборах и др. Эти устройства имеют ряд принципиальных преимуществ перед обычными системами принудительного охлаждения: компактность, легкость регулировки температуры, малую инерционность. ТОУ обладают удобной и гибкой характеристикой и несложным переводом из режима охлаждения в режим нагревания. Они отличаются простотой управления, возможностью точного регулирования температуры, бесшумностью, хорошими массо-габаритными показателями, высокой надежностью работы и имеют практически неограниченный срок службы.
ТОУ — это устройства для переноса тепловой энергии от теплопе-редатчика с низкой температурой к теплоприемнику с высокой температурой, действие которых основано на эффекте Пельтье. Основным функциональным узлом ТОУ является термоэлектрическая батарея, набранная из электрически соединенных между собой термоэлементов. При прохождении электрического тока (от внешнего источника) через термоэлемент возникает разность температур между горячим и холодным спаями термоэлемента. При этом на холодном спае теплота поглощается из охлаждаемого вещества и передается горячему сплаю и далее в окружающую среду.
Эффект Пельтье объясняется тем, что в разнородных проводниках кинетическая энергия электронов различна. Если направление тока таково, что электроны с большей энергией переходят в проводник с меньшей энергией электронов, то происходит выделение тепла на контакте за счет передачи избыточной энергии электрона кристаллической решетке. Если же направление тока таково, что электроны с меньшей энергией переходят в проводник с большей энергией электронов, происходит охлаждение контакта, так как пришедший электрон должен восполнить недостающую энергию за счет энергии решетки.
Количество выделенного или поглощенного тепла
Q = P·I·t,
где Р — коэффициент Пельтье (ЭДС Пельтье); I - сила тока; t -время.
Одновременно в цепи термоэлемента выделяется теплота, которая передается к холодному спаю за счет теплопроводности.

Рис. 1. Зонная диаграмма контакта полупроводника с металлом
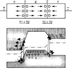
Особенно ярко эффект Пельтье проявляется на границе полупроводников с дырочной и электронной проводимостью (рис. 1). Разница кинетической энергии носителей по обе стороны контакта при этом особенно велика. При движении электронов из электронного полупроводника в дырочный в месте контакта (конт. 2) происходит рекомбинация электронов и дырок. Электрон при этом из зоны проводимости попадает в валентную зону и энергия взаимодействия электрона и дырки переходит в тепло. Оно выделяется на контакте, и температура контакта становится больше температуры окружающей среды То, то есть Т2 > То.
Электроны в n-области и дырки в р-области оттягиваются от конт. 1. При этом электроны из валентной зоны дырочного полупроводника втягиваются полем р-n перехода в зону проводимости электронного полупроводника. Возникающие в результате термогенерации электроны и дырки движутся в сторону от контакта, а поскольку на создание электронно-дырочных пар была затрачена энергия Ае, то она восполняется за счет энергии решетки. Это приводит к охлаждению контакта.
Термоэлементы характеризуются эффективностью охлаждения
Z=α2·σ/λ,
где α — термоэлектрический коэффициент; а σ и λ — удельные электро- и теплопроводности соответственно.
Очевидно, что КПД термоэлемента тем больше, чем выше электропроводность полупроводникового материала, так как при этом уменьшается внутреннее сопротивление и потери на тепло, и тем меньше, чем больше его теплопроводность, так как при этом увеличивается поток тепла от горячего спая к холодному. Параметр Z является функцией температуры и концентрации носителей заряда, причем для каждой заданной температуры существует оптимальное значение концентрации, при которой величина Z максимальна. Наибольшей эффективностью охлаждения обладают полупроводники. При изготовлении термоэлементов обычно используют такие полупроводниковые материалы как халькогениды висмута и сурьмы. Такие соединения являются узкозонными полупроводниками с высокой подвижностью носителей.
Тепловой баланс контактов термоэлемента складывается из теплоты Пельтье, поглощаемой на них, и джоулева тепла, выделяемого при прохождении тока. При этом температура охлаждаемого спая будет понижаться при отборе тепла до тех пор, пока поток тепла, вызванного эффектом Пельтье, не уравновесится встречным потоком, вызванным теплопроводностью и стремящимся выровнять температуры холодного и горячего спаев. Максимальная разность температур, получаемая на концах термоэлемента при пропускании через него тока, связана с величиной эффективности выражением
ΔTмакс=Z·T02/2,
где То-температура холодного спая термоэлемента.
Современные полупроводниковые ТОУ обеспечивают снижение температуры от +20 до -200°С, их холодопроизводительность, как правило, не более 100 Вт.
От правильного конструктивного решения единичного термоэлемента в значительной степени зависит качественная работа всего термоохлаждающего устройства. Основным требованием, которому должна удовлетворять рациональная конструкция термоэлемента, является устранение или значительное уменьшение механических напряжений, возникающих в последнем в результате сжатия холодных и расширения горячих коммутационных пластин.
При подключении к термоэлементу питающего напряжения верхняя коммутационная пластина начинает охлаждаться и соответственно сжиматься. Нижняя, наоборот, начинает нагреваться и расширяться. В результате этого возникает пара сил. Под влиянием этих сил в термоэлементе создаются значительные механические напряжения, которые могут привести к разрушению последнего.
Поскольку полностью устранить механические напряжения не представляется возможным, было разработано несколько конструкций термоэлементов, в которых механические напряжения снижены настолько, что они не приводят к выходу термоэлемента из строя. Одна из них предусматривает использование возможно более короткой холодной коммутационной пластины. В соответствии с этим ветви термоэлемента не должны быть далеко разнесены одна от другой.
Второй из возможных конструктивных вариантов термоэлемента состоит в том, что холодная коммутационная пластина изготавливается в виде рессоры (рис. 2, а). В этом случае под влиянием возникающих в термоэлементе механических напряжений она будет изгибаться, не выходя за пределы упругой деформации. Естественно, что сечение рессоры должно быть таким, чтобы проходящий через нее рабочий ток не выделял заметного количества джоулева тепла.
![]() | ![]() | ![]() | ![]() |
| Рис. 2(а-г) Конструкции термоэлементов,предусматривающие снижениемеханических напряжений | |||
На рис. 2, б изображена другая конструкция холодной коммутационной пластины, в которой сделано два идущих навстречу друг другу смещенных тонких пропила. В месте А образуется достаточно тонкая перемычка небольшой длины, выполняющая роль упругой пластины. Благодаря незначительной длине перемычка не вносит значительного сопротивления в электрическую цепь термоэлемента.
Другой путь уменьшения вредного влияния механических напряжений, возникающих в термоэлементе, предусматривает создание демпфирующих слоев между ветвями термоэлемента и коммутационными пластинами. Демпфирующий слой должен быть изготовлен из материала, обладающего достаточной пластичностью и малым омическим сопротивлением.
На рис. 2, в изображена конструкция подобного термоэлемента. К обеим ветвям 3, предварительно залуженным легкоплавким коммутационным припоем,припаиваются свинцовые пластинки 2 и 4. Затем к ним припаиваются верхняя 1 и нижняя 5 коммутационные пластины. В результате хорошей пластичности свинца применение таких демпфирующих прокладок практически полностью снимает механические напряжения, возникающие в термоэлементе.
На рис. 2, г показан термоэлемент, в котором роль демпфера выполняют сравнительно толстые прослойки висмута 3 и 5, нанесенные на ветви термоэлемента 4 и 8. Припайка ветвей к коммутационным пластинам 1 и 7 осуществляется легкоплавким коммутационным сплавом 2 и 6.
Термоэлектрические батареи собираются из последовательно соединенных термоэлементов, состоящих из ветвей р- и n-типа, связанных через коммутационные пластины, при этом количество термоэлементов может достигать нескольких сотен. Обычно термоэлементы располагаются таким образом,чтобы все холодные спаи выходили на одну сторону батареи, а все горячие — на другую (рис. 3, а-б).
![]() | ![]() | ![]() |
![]() | ||
| Рис. 3.(а-г) Виды соединений термоэлементорв в термобатарею | ||
Иногда термоэлементы соединяются в батарею так, что ток проходит по ним, не меняя своего направления (рис. 3,в). Коммутационные пластины, служащие ребрами, выводятся в разные стороны для холодных и горячих спаев соответственно. Эта схема позволяет уменьшить потери от выделения тепла в коммутационных пластинах, так как длина пути тока в этом случае минимальна. Напряжения изгиба в полупроводниках, возникающие от различного расширения холодной и горячей сторон батареи, которые бывают довольно значительными в обычной схеме, в этом случае отсутствуют. Однако при такой схеме больше потери от перетекания тепла с горячей стороны на холодную по теплоизоляции вокруг термоэлементов. Кроме того, более длинный путь для теплового потока вдоль коммутационной пластины, при меньшем поперечном сечении для одинаковых коммутационных пластин, вызывает повышенные перепады температур по сравнению с обычной схемой. Термоэлектрическая батарея может быть создана и без коммутационных пластин из одного монокристалла (рис. 3, г).
Полупроводниковые термоэлектрические модули (ПТМ) представляют собой унифицированные одно-или многокаскадные батареи из последовательно или параллельно-последовательно включенных термоэлементов. Многокаскадные (многоуровневые) модули позволяют получить перепад температур значительно больший, чем однокаскадные. В ряде приборов, где тепловая нагрузка на термоэлементы невелика, широко используются двухкаскадные модули. При конструировании их основные задачи сводятся к осуществлению то-коподвода ко второму каскаду и созданию электроизоляционного перехода между горячими спаями второго каскада и холодным спаем первого каскада. Создание токоподводов для питания второго каскада термоэлектрического модуля - весьма ответственная задача, так как токоподвод должен удовлетворять двум исключающим друг друга условиям. С одной стороны, он должен обладать достаточным сечением, чтобы в нем не выделялось в значительном количестве джоулево тепло, которое будет создавать вредную тепловую нагрузку на термоэлементы, и, с другой стороны, токоподвод должен обладать большим тепловым сопротивлением, чтобы свести к минимуму приток тепла через него из окружающей среды к термоэлементам.
Электрическое соединение каскадов может производиться последовательно или параллельно. При последовательном соединении каскады (рис. 4, а) разделяются тепло-переходами. Соединение верхнего каскада с нижним производится путем замыкания их коммутационных пластин: горячей - верхнего каскада и холодной - нижнего.
![]() | ![]() |
![]() | |
| Рис. 4.(а-в) Способы каскадного соединения термобатарей | |
При параллельном соединении (рис. 4, б) теплопереходы не нужны, так как каждая пара верхнего каскада подключена параллельно к холодным спаям двух пар нижнего каскада. Однако при этом возникает несогласованность по напряжению, так как оптимальные падения напряжения в различных температурных интервалах различны. Это несколько снижает эффективность работы по сравнению с последовательным соединением. Можно соединить параллельно целиком верхний и нижний каскады, что устраняет несогласованность, но тогда необходимы теплопереходы, так как оптимальное число элементов в каскадах будет разное (рис. 4, б).
Для распределения тепла при переходе от одного каскада к другому, при разном числе элементов в каскадах, между теплопереходами каскадов помещают пластину из материала с хорошей теплопроводностью.
Теплообмен внешней среды с ТОУ наиболее просто осуществляется воздухом при пропускании его вдоль оребренных коммутационных пластин. Движение воздуха производится как естественной конвекцией, так и принудительной подачей с помощью вентилятора.
Наиболее предпочтительным является теплообмен при естественной циркуляции воздуха, так как при этом не требуется никаких движущихся частей, а также специальных теплоотво-дящих сред, что обеспечивает наибольшую надежность. Бесшумность работы при таком теплообмене также составляет, в ряде случаев, существенное преимущество. Зазоры между ребрами при естественном теплообмене относительно велики, вследствие чего они мало подвержены засорению. Однако теплоотвод с естественной конвекцией требует очень громоздких и тяжелых оребрений. Перепады температур на таких ореб-рениях достаточно велики вследствие небольших значений коэффициента теплоотдачи и малого количества воздуха, проходящего через оребрение. Это вызывает сильный нагрев воздуха и повышение средней его температуры между ребрами. Ребра нельзя располагать слишком тесно из-за ухудшения теплоотдачи, что ограничивает величину теплопередающеи поверхности. При наличии толстой теплоизоляции для передачи тепла от спаев к оребрению необходимы массивные теплопроводы.

Рис. 5. Конструкция трехкаскадного модуля
Улучшить теплообмен можно, применив искусственный продув воздуха вентилятором. При этом сильно возрастают коэффициенты теплоотдачи, понижается средняя температура потока (из-за сброса тепла на большее количество воздуха), и ребра можно располагать с очень небольшими зазорами между ними, что позволяет разместить большую поверхность теплоотдачи. Оребрение получается более легким и компактным, но оно более сложно в изготовлении, может засоряться при длительной эксплуатации, требует дорогих узлов — электродвигателя и вентилятора, при работе возникает шум, двигатель потребляет электроэнергию. Наличие движущихся частей вызывает необходимость в специальном уходе за установкой.
Если тепло передается излучением, то для увеличения теплопередачи на излучающие поверхности желательно наносить покрытия с большой степенью черноты.
Для локального охлаждения и стабилизации температуры малогабаритных элементов радиоэлектронной аппаратуры отечественной промышленностью разработан и выпускается унифицированный ряд полупроводниковых термоэлектрических модулей типа ТМ. Параметры некоторых из них приведены в табл. 1-4. Эти модули характеризуются следующей системой параметров:
- Iмакc, А — ток модуля, при котором достигается максимальный перепад температур ΔTмакс в отсутствии тепловой нагрузки;
- Uмакс, В — напряжение на модуле, при котором достигается ΔTмакс
- Qмакс, Вт — холодопроизводительность модуля при максимальном токе и ΔTмакс = 0;
- ΔTмакс, К - максимальный перепад температур при Iмакс и отсутствии тепловой нагрузки.
На рис. 6 представлены типы маркировок термоэлектрических модулей типа ТМ.

Рис. 6. Типы маркировок термоэлектрических модулей типа ТМ
В некоторых модулях после максимального значения тока в маркировке указываются конструктивные особенности исполнения:
- М — с повышенной виброустойчивостью;
- С — с антикоррозийным покрытием;
- S — с дополнительной защитой от влаги.
Важным узлом электронных устройств охлаждения является источник электропитания ПТМ. Относительно большие постоянные токи и малые рабочие напряжения ПТМ создают определенные проблемы при проектировании для них высокоэкономичных источников электропитания.
Таблица 1
| Тип | Параметры | Размер, мм | |||||
| Iмакс, А | Uмакс, В | Qмакс, Вт | ΔTмакс, K | Холодная сторона | Горячая сторона | Высота | |
| ТМ-7-1,0-2,5 | 2,5 | 0,9 | 1,3 | 73 | 8x8 | 8x8 | 4,2 |
| ТМ-17-1,0-2,5 | 2,5 | 2,1 | 3 | 73 | 12x12 | 12x12 | 4,2 |
| ТМ-31-1,0-2,5 | 2,5 | 3,8 | 5,5 | 73 | 15x15 | 15x15 | 4,2 |
| ТМ-63-1,0-2,5 | 2,5 | 7,6 | 10,9 | 73 | 15x30 | 15x30 | 4,2 |
| ТМ-71-1,0-2,5 | 2,5 | 8,9 | 12,4 | 73 | 22,4x22,4 | 22,4x22,4 | 4,2 |
| ТМ-127-1,0-2,5 | 2,5 | 15,5 | 22 | 73 | 30x30 | 30x30 | 4,2 |
| ТМ-7-1,0-3,0 | 3,0 | 0,9 | 1,5 | 72 | 8x8 | 8x8 | 3,8 |
| ТМ-17-1,0-3,0 | 3,0 | 2,1 | 3,5 | 72 | 12x12 | 12x12 | 3,8 |
| ТМ-31-1,0-3,0 | 3,0 | 3,8 | 6,5 | 72 | 15x15 | 15x15 | 3,8 |
| ТМ-63-1,0-3,0 | 3,0 | 7,6 | 13,1 | 72 | 15x30 | 15x30 | 3,8 |
| ТМ-71-1,0-3,0 | 3,0 | 8,6 | 14,9 | 72 | 22,4x22,4 | 22,4x22,4 | 3,8 |
| ТМ-127-1,0-3,0 | 3,0 | 15,5 | 26,5 | 72 | 30x30 | 30x30 | 3,8 |
| ТМ-7-1,0-3,9 | 3,9 | 0,9 | 1,9 | 71 | 8x8 | 8x8 | 3,6 |
| ТМ-17-1,0-3,9 | 3,9 | 2,1 | 4,6 | 71 | 12x12 | 12x12 | 3,6 |
| ТМ-31-1,0-3,9 | 3,9 | 3,8 | 8,5 | 71 | 15x15 | 15x15 | 3,6 |
| ТМ-63-1,0-3,9 | 3,9 | 7,6 | 17,1 | 71 | 15x30 | 15x30 | 3,6 |
| ТМ-71-1,0-3,9 | 3,9 | 8,6 | 19,3 | 71 | 22,4x22,4 | 22,4x22,4 | 3,6 |
| ТМ-127-1,0-3,9 | 3,9 | 15,5 | 34,5 | 71 | 30x30 | 30x30 | 3,6 |
| ТМ-7-1,4-3,7 | 3,7 | 0,9 | 1,9 | 73 | 12x12 | 12x12 | 4,7 |
| ТМ-17-1,4-3,7 | 3,7 | 2,1 | 4,6 | 73 | 15x15 | 15x15 | 4,7 |
| ТМ-31-1,4-3,7 | 3,7 | 3,8 | 8,5 | 73 | 20x20 | 20x20 | 4,7 |
| ТМ-35-1,4-3,7 | 3,7 | 4,2 | 9,5 | 73 | 15x30 | 15x30 | 4,7 |
| ТМ-71-1,4-3,7 | 3,7 | 8,6 | 19,3 | 73 | 30x30 | 30x30 | 4,7 |
| ТМ-127-1,4-3,7 | 3,7 | 15,5 | 34,5 | 73 | 40x40 | 40x40 | 4,7 |
| ТМ-7-1,4-6,0 | 6,0 | 0,9 | 2,9 | 72 | 12x12 | 12x12 | 3,8 |
| ТМ-17-1,4-6,0 | 6,0 | 2,1 | 7,1 | 72 | 15x15 | 15x15 | 3,8 |
| ТМ-31-1,4-6,0 | 6,0 | 3,8 | 12,9 | 72 | 20x20 | 20x20 | 3,8 |
| ТМ-35-1,4-6,0 | 6,0 | 4,2 | 14,6 | 72 | 15x30 | 15x30 | 3,8 |
| ТМ-71-1,4-6,0 | 6,0 | 8,6 | 29,6 | 72 | 30x30 | 30x30 | 3,8 |
| ТМ-127-1,4-6,0 | 6,0 | 15,5 | 53 | 72 | 40x40 | 40x40 | 3,8 |
| ТМ-7-1,4-8,5 | 8,5 | 0,9 | 3,9 | 71 | 12x12 | 12x12 | 3,4 |
| ТМ-17-1,4-8,5 | 8,5 | 2,1 | 9,5 | 71 | 15x15 | 15x15 | 3,4 |
| ТМ-31-1,4-8,5 | 8,5 | 3,8 | 17,3 | 71 | 20x20 | 20x20 | 3,4 |
| ТМ-35-1,4-8,5 | 8,5 | 4,2 | 19,9 | 71 | 15x30 | 15x30 | 3,4 |
| ТМ-71-1,4-8,5 | 8,5 | 8,6 | 40 | 71 | 30х30 | 30х30 | 3,4 |
| ТМ-127-1,4-8,5 | 8,5 | 15,5 | 72 | 71 | 40x40 | 40x40 | 3,4 |
Таблица 2
| Тип | Параметры | Размер, мм | |||||
| Iмакс, А | Uмакс, В | Qмакс, Вт | ΔTмакс, K | Холодная сторона АхВ | Горячая сторона СхD | Высота | |
| 2ТМ-4-11-1,2 | 1,3 | 2 | 0,46 | 97 | 2,0x2,0 | 6,0x6,0 | 4,2 |
| 2ТМ-4-17-1,3 | 1,3 | 2 | 0,54 | 102 | 2,0x2,0 | 8,0x8,0 | 4,2 |
| 2ТМ-8-31-1,3 | 1,3 | 3,6 | 1,05 | 101 | 4,0x4,0 | 10,0x10,0 | 4,2 |
| 2ТМ-12-31-1,2 | 1,2 | 3,7 | 1,35 | 96 | 4,0x4,0 | 10,0x10,0 | 4,2 |
| 2ТМ-18-59-1,3 | 1,3 | 7 | 2,24 | 99 | 6,0x6,0 | 12,0x12,0 | 4,2 |
| 2ТМ-4-11-1,5 | 1,5 | 1,3 | 0,55 | 96 | 2,0x2,0 | 6,0x6,0 | 3,6 |
| 2ТМ-4-17-1,6 | 1,6 | 2 | 0,63 | 102 | 2,0x2,0 | 8,0x8,0 | 3,6 |
| 2ТМ-8-31-1,6 | 1,6 | 3,6 | 1,24 | 101 | 4,0x4,0 | 10,0x10,0 | 3,6 |
| 2ТМ-12-31-1,4 | 1,4 | 3,2 | 1,59 | 95 | 4,0x4,0 | 10,0x10,0 | 3,6 |
| 2ТМ-18-59-1,5 | 1,5 | 7 | 2,64 | 98 | 6,0x6,0 | 12,0x12,0 | 3,6 |
| 2ТМ-4-11-1,8 | 1,8 | 1,3 | 0,66 | 94 | 2,0x2,0 | 6,0x6,0 | 3,2 |
| 2ТМ-4-17-2,0 | 2 | 2 | 0,78 | 100 | 2,0x2,0 | 8,0x8,0 | 3,2 |
| 2ТМ-8-31-1,9 | 1,9 | 3,6 | 1,51 | 99 | 4,0x4,0 | 10,0x10,0 | 3,2 |
| 2ТМ-12-31-1,7 | 1,7 | 3,7 | 1,93 | 93 | 4,0x4,0 | 10,0x10,0 | 3,2 |
| 2ТМ-18-59-1,9 | 1,9 | 7 | 3,22 | 97 | 6,0x6,0 | 12,0x12,0 | 3,2 |
| 2ТМ-4-11-2,3 | 2,3 | 1,3 | 0,84 | 92 | 2,0x2,0 | 6,0x6,0 | 2,8 |
| 2ТМ-4-17-2,5 | 2,5 | 2 | 1 | 98 | 2,0x2,0 | 8,0x8,0 | 2,8 |
| 2ТМ-8-31-2,5 | 2,5 | 3,6 | 1,93 | 97 | 4,0x4,0 | 10,0x10,0 | 2,8 |
| 2ТМ-12-31-2,3 | 2,3 | 3,7 | 2,48 | 91 | 4,0x4,0 | 10,0x10,0 | 2,8 |
| 2ТМ-18-59-2,4 | 2,4 | 7 | 4,11 | 95 | 6,0x6,0 | 12,0x12,0 | 2,8 |
| 2ТМ-4-11-2,7 | 2,7 | 1,3 | 0,98 | 91 | 2,0x2,0 | 6,0x6,0 | 2,6 |
| 2ТМ-4 17-2,9 | 2,9 | 2 | 1,15 | 98 | 2,0x2,0 | 8,0x8,0 | 2,6 |
| кГМ-8-31-2,9 | 2,9 | 3,6 | 2,25 | 95 | 4,0x4,0 | 10,0x10,0 | 2,6 |
| 2ТМ-12-31-2,6 | 2,6 | 3,7 | 2,66 | 90 | 4,0x4,0 | 10,0x10,0 | 2,6 |
| 2ТМ-18-59-2,9 | 2,9 | 7 | 4,8 | 93 | 6,0x6,0 | 12,0x12,0 | 2,6 |
Таблица 3
| Тип | Параметры | Размер, мм | |||||
| Iмакс, А | Uмакс, В | Qмакс, Вт | ΔTмакс, K | Холодная сторона АхВ | Горячая сторона СхD | Высота | |
| 3ТМ-4-11-31-0,9 | 0,9 | 3,5 | 0,42 | 115 | 2,0x4,0 | 10,0x8,0 | 6,7 |
| 3ТМ-4-17-59-1,0 | 1,0 | 6,7 | 0,5 | 122 | 2,0x4,0 | 12,0x12,0 | 6,7 |
| 3ТМ-4-11-31-0,9 | 1,1 | 3,5 | 0,51 | 114 | 2,0x4,0 | 10,0x8,0 | 5,8 |
| 3ТМ-4-17-59-1,0 | 1,2 | 6,7 | 0,61 | 121 | 2,0x4,0 | 12,0x12,0 | 5,8 |
| 3ТМ-4-11-31-0,9 | 1,3 | 3,5 | 0,6 | 113 | 2,0x4,0 | 10,0x8,0 | 5,2 |
| 3ТМ-4-17-59-1,0 | 1,2 | 6,7 | 0,72 | 120 | 2,0x4,0 | 12,0x12,0 | 5,2 |
| 3ТМ-4-11-31-0,9 | 1,6 | 3,5 | 0,83 | 112 | 2,0x4,0 | 10,0x8,0 | 4,6 |
| 3ТМ-4-17-59-1,0 | 1,7 | 6,7 | 0,88 | 118 | 2,0x4,0 | 12,0x12,0 | 4,6 |
| 3ТМ-4-11-31-0,9 | 2,0 | 3,5 | 0,93 | 109 | 2,0x4,0 | 10,0x8,0 | 4,0 |
| 3ТМ-4-17-59-1,0 | 2,2 | 6,7 | 1,12 | 116 | 2,0x4,0 | 12,0x12,0 | 4,0 |
| 3ТМ-4-11-31-2,4 | 2,4 | 3,5 | 1,09 | 107 | 2,0x4,0 | 10,0x8,0 | 3,7 |
| 3ТМ-4-17-59-2,6 | 2,6 | 6,7 | 1,31 | 114 | 2,0x4,0 | 12,0x12,0 | 3,7 |
Таблица 4
| Тип | Параметры | Размер, мм | |||||
| Iмакс, А | Uмакс, В | Qмакс, Вт | ΔTмакс, K | Холодная сторона АхВ | Горячая сторона СхD | Высота | |
| 4ТМ-4-11-31-59-0,8 | 0,8 | 8,9 | 0,43 | 125 | 2,0x4,0 | 12,0x12,0 | 8,7 |
| 4ТМ-4-11-31-59-1,0 | 1,0 | 8,9 | 0,53 | 124 | 2,0x4,0 | 12,0x12,0 | 7,5 |
| 4ТМ-4-11-31-59-1,1 | 1,1 | 8,9 | 0,62 | 123 | 2,0x4,0 | 12,0x12,0 | 6,7 |
| 4ТМ-4-11-31-59-1,4 | 1,4 | 8,9 | 0,76 | 121 | 2,0x4,0 | 12,0x12,0 | 5,9 |
| 4ТМ-4-11-31-59-1,7 | 1,7 | 8,9 | 0,96 | 118 | 2,0x4,0 | 12,0x12,0 | 5,1 |
| 4ТМ-4-11-31-59-2,0 | 2 | 8,9 | 1,11 | 116 | 2,0x4,0 | 12,0x12,0 | 4,7 |
При работе ПТМ в нем возникает противо-ЭДС, поэтому источник питания должен обладать характеристиками источника тока. Для изменения температурного режима этот ток должен быть регулируемым. При необходимости стабилизации температурного режима такой источник должен легко включаться в систему автоматического регулирования.
Этим требованиям удовлетворяет схема, выполненная на базе регулятора параллельного типа и испытанная в одном из устройств охлаждения [2].

Рис. 7. Принципиальная схема регулируемого источника электропитания ПТМ
Такой источник позволяет обеспечить оптимальный режим работы силового ключа, выполненного на полевом транзисторе, некритичность к режиму короткого замыкания нагрузки, содержит минимальное количество элементов и обеспечивает гальваническую развязку между питающей и выходной цепями. Так как количество тепла, отводимого ПТМ, зависит от величины пропускаемого через него тока, то регулируя ток источника питания с помощью переменного резистора, можно изменять температурный режим охлаждаемой поверхности.
При необходимости использования принудительного обдува горячей грани воздухом с помощью малогабаритного вентилятора, его питание может осуществляться непосредственно от этого же источника тока.
Литература
- Термоэлектрические охладители. Под ред. А.Л. Вайнера. - М.: Радио и связь, 1993.
- В.П. Дьяконов, А. А. Максим-чук, A.M. Ремнев, В.Ю. Смердов. Энциклопедия устройств на полевых транзисторах. - М.: СОЛОН-Р, 2002.
Автор: В.Дьяконов, А.Ремнев, В.Смердов











