Микросхема AN7168 представляет собой двухканальный усилитель мощности низкой частоты, обеспечивающий выходную мощность 2x5,8 Вт на нагрузке 4 Ом при напряжении питания 13,2 В. Схема имеет встроенные цепи защиты и стабилизации. 12-выводной корпус типа SIL позволяет создать компактное высокоинтегрированное устройство.
Таблица 1
| Номер вывода | Обозначение | Назначение |
| 1 | NFB 1 | Вход обратной связи усилителя 1 |
| 2 | IN 1 | Вход усилителя 1 |
| 3 | RF | Вывод фильтра |
| 4 | GND(IN) | Общий (входных каскадов) |
| 5 | IN2 | Вход усилителя 2 |
| 6 | NFB 2 | Вход обратной связи усилителя 2 |
| 7 | OUT 2 | Выход усилителя 2 |
| 8 | BS2 | Вход компенсации обратной связи усилителя 2 |
| 9 | GND (OUT) | Общий (выходных каскадов) |
| 10 | Vcc | Напряжение питания |
| 11 | BS1 | Вход компенсации обратной связи усилителя 1 |
| 12 | OUT1 | Выход усилителя 1 |

Рис. 1 Внешний вид микросхемы
Особенности ИС:
- - высокая стабильность работы;
- - низкий уровень нелинейных искажений;
- - малый ток покоя;
- - низкий уровень собственных шумов;
- - малое число внешних элементов;
- - защита от короткого замыкания выхода на корпус и на источник питания;
- - защита от соединения обоих выходов между собой;
- - защита от превышения напряжения питания;
- - подавление щелчка при включении и выключении;
- - встроенная схема защиты от перегрева.

Рис. 2 Структурная схема микросхемы
Таблица 2
| Название параметра, единица измерения | Обозначение | Min | Nom | Мах | Режим измерения |
| Ток покоя, мА | Ico | 30 | 55 | 100 | V1=0 |
| Коэффициент усиления по напряжению, дБ | KV | 52 | 54 | 56 | Рout=0,5 Вт |
| - | 0,1 | 0,5 | Рout=0,5 Вт, f=1 кГц | ||
| Коэффициент нелинейных искажений, % | КНИ | - | 0,1 | - | Рout=0,5 Вт, f=100 Гц |
| - | 0,2 | - | Рout= 0,5 Вт, f=10 кГц | ||
| 5 | 5,7 | - | Кни=10% | ||
| Максимальная выходная мощность, Вт | Ро | - | 8,9 | - | Кни= 10%, Rнагр=2 Ом |
| - | 3,1 | - | Кни= 10%, Rнагр=8 Ом | ||
| Напряжение шумов на выходе, мВ | VNO | - | 0,8 | 1,5 | RG=10 кОм, Δf = 15..30000 Гц |
| - | 1,1 | - | RG=10 кОм, фильтр отключен | ||
| Разбаланс каналов, дБ | Св | - | 0 | 1 | Рout=0,5 Вт |
| Разделение каналов, дБ | Cs | 40 | 50 | - | Рout=0,5 Вт |
| Смешение входного напряжения, мВ | VOFF | - | 0 | 200 | V1=0 |

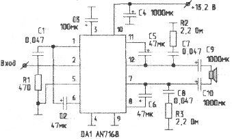
Рис 3 Типовая схема включения микросхемы
Таблица 3
| Наименование параметра, единица измерения | Обозначение | Величина |
| Максимальное напряжение питания, В | Vcc мах | 24 |
| Максимальный потребляемый ток, А | Icc MAX | 4 |
| Выброс напряжения питания (длительностью не более 0,2 с), В | Vcc МАХ | 50 |
| Диапазон рабочих температур, °С | TOPR | -30...+75 |
| Температура хранения, °С | TSTG | -40...+150 |

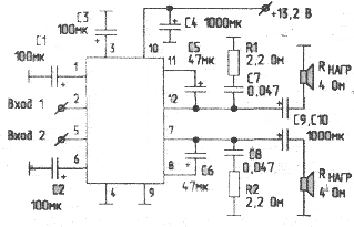
Рис. 4 Мостовая схема включения
Цоколевка ИС приведена на рис.1, ее структурная схема — на рис.2, типовая схема включения — на рис.3, мостовая схема включения — на рис.4. В табл.1 приведено назначение выводов, в табл.2 — основные электрические параметры (при напряжении питания Vcc=13,2 В, сопротивлении нагрузки RL=4 Ом, частоте входного сигнала f=1 кГц и температуре окружающей среды ТА=25°С), в табл.3 — предельно допустимые значения параметров.
