Микросхемы ВТ7106 и ВТ7107 представляют собой высококачественные 3,5-разрядные аналого-цифровые преобразователи с малым энергопотреблением и прямым выходом на индикатор. Все активные компоненты, необходимые для работы преобразователя, содержатся в кристалле КМОП-микросхемы. В нее включены: блок аналого-цифрового преобразования напряжение — код; дешифратор семисегментных индикаторов; интерфейсная схема, управляющая индикатором (только для ВТ7106); источник опорного напряжения и тактовый генератор. ВТ7106 предназначена для работы с жидкокристаллическим индикатором, а ВТ7107 — со светодиодным. Микросхема сочетает в себе высокую точность и экономичность. Величина ухода нуля не превышает 100 мкВ для диапазона 2 В и 10 мкВ для диапазона 200 мВ, величина входного тока — 10 дА, ошибка счета — одну единицу младшего разряда. Встроенная система корректировки нуля устраняет его смещение без использования внешней системы установки. Микросхемы размещаются в 40-выводных корпусах типа ДИП, их цоколевка приведена на рис.1. Функциональное назначение выводов приведено в табл.1, предельные режимы эксплуатации (при температуре 25°С) — в табл.2, электрические параметры схемы (при напряжении питания 10В, температуре 25°С, частоте тактовых импульсов 48 кГц, если не оговорено иное) — в табл.3.
Особенности микросхем:
- нулевые показания индикатора при нулевом входном напряжении;
- правильное определение полярности входного сигнала при очень малом, в пределах точности измерений, входном сигнале;
- малый уровень входного шума;
- небольшая мощность (6 мВт), потребляемая микросхемой от источника питания (без учета энергии, расходуемой ЖКИ или светодиодным индикатором);
- высокоомный дифференициальный КМОП-вход (входное сопротивление — порядка 1012 Ом);
- прямой выход на ЖКИ-индикатор для ВТ7106 и на светодиодный индикатор для ВТ7107;
- отсутствие дополнительных активных компонентов;
- высокая линейность преобразования (ошибка — менее единицы младшего разряда);
- наличие внутреннего источника опорного напряжения с малым температурным дрейфом;
- возможные применения: щитовые цифровые измерительные приборы, цифровые мультиметры, термометры, измерители емкости, РН-метры, фотометры и т.п.

Рис. 1
Корпус микросхем типа ДИП
Таблица 1
| Номер вывода | Обозначение вывода | Описание вывода |
| 1 | V+ | Положительный вывод источника питания |
| 2 | D1 | Вывод управления секцией D индикатора единиц |
| 3 | С1 | Вывод управления секцией С индикатора единиц |
| 4 | В1 | Вывод управления секцией В индикатора единиц |
| 5 | А1 | Вывод управления секцией А индикатора единиц |
| 6 | F1 | Вывод управления секцией F индикатора единиц |
| 7 | G1 | Вывод управления секцией G индикатора единиц |
| 8 | Е1 | Вывод управления секцией Е индикатора единиц |
| 9 | D2 | Вывод управления секцией 0 индикатора десятков |
| 10 | С2 | Вывод управления секцией С индикатора десятков |
| 11 | В2 | Вывод управления секцией В индикатора десятков |
| 12 | А2 | Вывод управления секцией А индикатора десятков |
| 13 | F2 | Вывод управления секцией F индикатора десятков |
| 14 | Е2 | Вывод управления секцией Е индикатора десятков |
| 15 | D3 | Вывод управления секцией D индикатора сотен |
| 16 | ВЗ | Вывод управления секцией В индикатора сотен |
| 17 | F3 | Вывод управления секцией F индикатора сотен |
| 18 | ЕЗ | Вывод управления секцией Е индикатора сотен |
| 19 | АВ4 | Вывод управления обеими половинами индикатора 1 тысячи |
| 20 | POL | Вывод управления знаком минус индикатора |
| 21 | ВР GND | Общий вывод индикатора ЖКИ (для ВТ7106) Общий провод ("земля") цифровой части (для ВТ7107) |
| 22 | G3 | Вывод управления секцией G индикатора сотен |
| 23 | A3 | Вывод управления секцией А индикатора сотен |
| 24 | СЗ | Вывод управления секцией С индикатора сотен |
| 25 | G2 | Вывод управления секцией G индикатора десятков |
| 26 | V- | Отрицательнй вывод источника питания |
| 27 | VINT | Выход интегратора |
| 28 | VBUF | Вывод подключения интегрирующего резистора |
| 29 | CAZ | Вывод подключения конденсатора автоматической установки нуля |
| 30 | V-N | Аналоговый вход низкого уровня |
| 31 | V+N | Аналоговый вход высокого уровня |
| 32 | АС | Аналоговая "земля" |
| 33 | C-REF | Вывод подключения конденсатора опорного напряжения |
| 34 | C+REF | Вывод подключения конденсатора опорного напряжения |
| 35 | V-REF | Вывод подключения внешнего опорного напряжения |
| 36 | V+REF | Вывод подключения внешнего опорного напряжения |
| 37 | TEST | Контрольный выход |
| 38 | OSC3 | Вывод подключения конденсатора генератора тактовых импульсов |
| 39 | OSC2 | Вывод подключения резистора генератора тактовых импульсов |
| 40 | OSC1 | Общая точка соединения резистора и конденсатора генератора тактовых импульсов |
Таблица 2
| Наименование параметра, единица измерения | Обозначение | Параметр |
| Напряжение питания от V-доV+,В | VMAX | 15 |
| Входное аналоговое напряжение, В | VВХ MAX | от V-доV+ |
| Опорное входное напряжение, В | VОП MAX | от V-доV+ |
| Амплитуда тактовых импульсов, В | VА MAX | от GND доV+ |
| Рассеиваемая мощность, Вт | NMAX | 0,8 |
| Рабочая температура кристалла, °С | TOPR | 0...70 |
| Температура хранения, °С | TSTG | -55...+150 |
Таблица 3
| Наименование параметра, единица измерения | Обозначение | Норма | Режим измерения | ||
| Мин | Тип | Макс | |||
| Напряжение питания (ВТ7106), В | VПИТ | 7 | 10 | 12 | — |
| Напряжение обоих источников питания (ВТ7 107), В | VПИТ | 3,5 | 5 | 6 | — |
| Ток, потребляемый от источника питания (исключая ток светодиодов для ВТ7107), мА | IDD | — | 0,6 | 1,0 | VN=0 |
| Входной ток утечки, пА | ILEAK | 1 | 10 | VN=0 | |
| Напряжение управления сегментом АВ4 (ВТ7106), В | VLCDS | 4 | 5 | 6 | — |
| Ток управления сегментом (кроме АВ4, ВТ7107), мА | ILED | 5 | 7 | — | Напряж. на сегменте 3В |
| Ток управления сегментом АВ4 (ВТ7107), мА | ILED1 | 10 | 15 | — | Напряж. на сегменте 3В |
| Напряжение аналоговой "земли" (по отношению к выводу положит. источника питания), В | VANACOM | 2,7 | 3,0 | 3,3 | 25 кОм между землей и положительным выводом источника питания |
| Уровень шумов (от пика до пика), мкВ | VN | — | 15 | — | При VN=0 на диапазоне 200 мВ |
| Показания счетчика при нулевом входном напряжении | -000,0 | ±000,0 | +000,0 | При VN=0 на диапазоне 200 мВ | |
| Относительные показания счетчика | 999 | 999/1000 | 1000 | При VN=VREF=100мВ | |
| Линейность преобразования (максимальное отклонение от идеальной прямой линии), число единиц младшего разряда | -1 | ±0,2 | +1 | На диапазоне 200мВ или 2В | |
| Дрейф нуля мкВ/ °С | — | 0,2 | 1 | VN=0,TOPR=0...70 °C | |
| Ошибка разбалансировки, число единиц младшего разряда | -1 | ±0,2 | +1 | V-N=V+N=200 мВ | |
| Нелинейность коэффициента преобразования, мкВ/В | CMRR | — | 50 | 200 | VCM=±1 В, VN=0 В, диапазон 200 мВ |

Рис. 2
Схема включения БИС BT7106

Рис. 2
Схема включения БИС BT7107
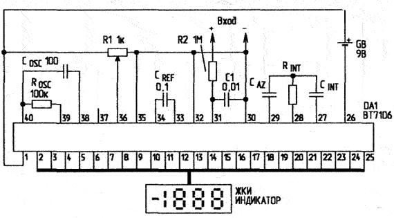
Микросхема ВТ7106 питается от одного источника напряжением 9... 10 В, положительный полюс которого подключается к выводу 1, отрицательный — к выводу 26. Для питания ВТ7107 необходимы два источника по 5 В. Общей точкой обоих источников является вывод 21, +5 В подается на вывод 1, -5 В — на вывод 26. Схема включения БИС ВТ7106 приведена на рис.2, а ВТ7107 — на рис.3.
Микросхемы работают следующим образом (рис.4). Измеряемое напряжение подается на интегрирующий конденсатор CINT в течение фиксированного интервала времени, определяемого тактовым генератором. Накопленный конденсатором заряд будет пропорционален входному напряжению при условии постоянства тактовой частоты и входного тока.

Рис. 4
Принцип работы миекросхем
Затем этот конденсатор разряжается до нуля опорным сигналом с полярностью, противоположной входному. Интервал времени, необходимый для разряда интегрирующего конденсатора, измеряется счетчиком счетных импульсов, для того чтобы вывести результат на дисплей. Он пропорционален средней величине входного сигнала в течение времени интегрирования.
