Микросхемы представляют собой сдвоенный коммутатор напряжения, ориентированный на системы с использованием универсального последовательного интерфейса (USB). Микросхемы используются в схемах управления питанием интерфейса USB, резервирования источников питания и зарядных устройствах. Зарубежный аналог этих микросхем — MIC2526-X. Коммутаторы удовлетворяют следующим требованиям интерфейса USB: каждый канал обеспечивает коммутацию тока до 500 мА; низкое сопротивление внутренних ключей в открытом состоянии; ток при возникновении неисправности ограничен до 1,2 А, при этом низкий уровень на выводе FLGB указывает на неисправность в выходных целях (короткое замыкание или термоперегрузка). В микросхемах предусмотрена защита при термоперегрузке для предотвращения выхода из строя коммутатора при перегрузке по току и отключение при недопустимом понижении уровня входного напряжения. Входы разрешения микросхем совместимы с логическими уровнями ТТЛ и КМОП схем.
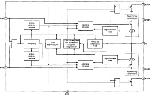
Микросхема КР1184КН1 включается высоким уровнем на выводах EN А/В, а КР1184КН2 — низким. Блок-схема микросхемы показана на рис. 1, а расположение выводов — на рис. 2. Микросхемы состоят из следующих узлов: схема накачки заряда (подает питание на схему драйвера и обеспечивает напряжения на затворе МОП-транзистора выше уровня истока); генератор; узел термозащиты (отключает коммутатор питания, когда темпе-ратура кристалла достигает 150°С); узел блокировки при понижении входного напряжения; драйвер затвора коммутатора питания; источник опорного напряжения; схема ограничения по току; коммутатор напряжения (КМОП-транзистор).

Рис. 1
Блок-схема микросхемы
Исполнение микросхем: корпус типа 2101.8-1 (масса - не более 1 г) и бескорпусной вариант.

Рис. 2
Расположение выводов микросхемы
- 1,4 — логически совместимые входы разрешения каналов А и В;
- 2, 3 — выходы сигналов флага ошибки каналов А и В;
- 5,8 — выходы коммутатора каналов А и В;
- 6 — общий;
- 7 — вход питания.
| Входное напряжение, В | 3...5,5 |
| Пороговое напряжение входа разрешения КР1184КН1, В: включение | >2,4 |
| выключение | <0,8 |
| Пороговое напряжение входа разрешения КР1184КН2, В: выключение | >2,4 |
| включение | <0,8 |
| Гистерезис входа разрешения, мВ | 200 |
| ок потребления(все ключи включены, выход отключен), мкА | <160 |
| Выходной ток утечки, мкА | <10 |
| Постоянный ток нагрузки каждого входа, А | >0,5 |
| Ток короткого замыкания на выходе, А | 0,5 1,25 |
| Пороговое значение предельного тока, А | <2,2 |
| Задержка включения на выходе при Rн = 10 Ом, мс | 0,5 |
| Время нарастания при включении при R = 10 Ом, мс | 1 |
| Задержка выключения на выходе,время спада при включении при Rн = 10 Ом, мкс | <20 |
| Сопротивление ключа мОм, при Uвх = 5 В, Iвых = 0,5 А | <140 |
| Uвх = 3,3B, Iвых = 0,5А | <180 |
| Емкость входов разрешения, пФ | 1 |
| Пороговое значение температуры отключения, °С | 135 |
| Входное напряжение, В | <6 |
| Напряжение на выводах флага ошибки, В | <6 |
| Выходное напряжение, В | <6 |
| Напряжение входа управление, В | -0,3...+12 |
| Ток на выводах флага ошибки, мА | <50 |
| Температура пайки выводов (5 с), °С | 260 |
| Температура окружающей среды, °С | -10...+70 |
