Общее описание
Семейство телевизионных звуковых процессоров STV82x7 базируется на ядре цифрового процессора обработки сигналов (ЦПОС), который используется для реализации различных алгоритмов обработки звука, что позволяет добиться высококачественного цифрового звучания. Данные устройства имеют в своем составе все необходимые ресурсы для автоматического определения стандарта и демодуляции аналоговых аудиосигналов звукового сопровождения европейских и азиатских систем наземного ТВ вещания. Возможности создания реального, либо виртуального многоканального звучания делают данное семейство аудиопроцессоров идеальным для применения в недорогих аналоговых и цифровых ТВ системах. Начиная с улучшенного стереозвука и заканчивая независимым управлением пяти колонок и одного сабвуфера (стандарт 5.1), семейство STV82x7 предоставляет как стандартные,так и дополнительные возможности звукового сопровождения ТВ программ, включая эффекты пространственного и виртуального звучания, что значительно улучшает потребительские характеристики телевизора.
Семейство процессоров STV82x7 сочетает в себе многостандартный цифровой демодулятор ТВ звукового сигнала и аудиопроцессор, поддерживающий следующие цифровые стандарты воспроизведения звука: SRS® WOW™, SRS® TruSurround XT™, Dolby® Pro Logic®, Dolby® Pro Logic II®, Virtual Dolby® Surround (VDS) и Virtual Dolby® Digital (VDD). Также поддерживаются фирменные (STMicroelectronics) алгоритмы обработки звука ST OmniSurround (сертифицирован Dolby® для использования в VDS и VDD), ST WideSurround и ST Dynamic Bass. В качестве дополнительных функций аудиообработки выступают эквалайзинг, тонкомпенсация, управление балансом и громкостью. Чип поддерживает автоматическое определение стандарта модуляции звукового сигнала, поэтому не требуется специальных настроек микросхемы через интерфейс I2C. Семейство STV82x7 хорошо подходит для используемых в настоящее время и проектируемых цифровых ТВ платформ, основанных на аудио- и видеочипах STD2000, DTV100, которые включают встроенный цифровой декодер (MPEG, Dolby® Digital и т.п.). Для ТВ платформ на основе CTV100/120 семейство STV82x7 представляет альтернативу использованию более старой серии STV82x6.
Типовыми техническими приложениями, в которых могут найти применение микросхемы серии STV82x7, являются аналоговые и цифровые телевизоры с поддержкой виртуального пространственного звучания, домашние кинотеатры с поддержкой 6-канального пространственного звука 5.1, DVD-и HDD-рекордеры, портативные телевизоры.
Микросхемы выпускаются в 80-выводном корпусе PQFP. Сравнительные характеристики и отличительные особенности микросхем семейства STV82x7 приведены в табл. 1.
Таблица 1. Основные отличительные особенности микросхем семейства STV82x7
Основная группа | STV8217 | STV8237 | STV8247 | STV8257 | STV83267 | STV8277 | STV8287 | ||||||
Подгруппа | - | - | D | DSX | D | DSX | SX | D | DSX | D | DSX | D | DSX |
Демодуляция | |||||||||||||
FM, NICAM | Поддерживается всеми представителям семейства | ||||||||||||
Поддержка многоканального воспроиведения | |||||||||||||
Количество выходных каналов (стандарт) | 2.1 | 2.1 | 2.1 | 2.1 | 2.1 | 2.1 | 2.1 | 5.1 | 5.1 | 5.1 | 5.1 | 5.1 | 5.1 |
Количество каналов управления I2S | 1 | 1 | 1 | 1 | 3 | 3 | 3 | 1 | 1 | 3 | 3 | 3 | 3 |
S/PDIF-выход | 1 | 1 | 1 | 1 | 1 | 1 | 1 | 1 | 1 | 1 | 1 | 1 | 1 |
Поддержка стандарта Virtual Dolby® Surround | - | - | ✓ | ✓ | ✓ | ✓ | - | ✓ | ✓ | ✓ | ✓ | VDS PLII | VDS PLII |
Поддержка стандарта Virtual Dolby ® Digital* | - | - | - | - | ✓ | ✓ | ✓ | - | - | ✓ | ✓ | ✓ | ✓ |
Поддержка стандартов Dolby® Pro Logic® (DPLI) или Dolby® Pro Logic II® (DPLII) | - | - | DPLI | DPLI | DPLI | DPLI | - | DPLI | DPLI | DPLI | DPLI | DPLII | DPLII |
Аудиообработка | |||||||||||||
SRS® WOW™ | - | ✓ | - | - | - | - | - | - | - | - | - | ||
SRS® TruSurround XT™ | - | - | - | ✓ | - | ✓ | ✓ | - | ✓ | - | ✓ | - | - |
ST Voice, ST Dynamic Bass | Поддерживается всеми представителям семейства | ||||||||||||
ST WideSurround, OmniSurround** | |||||||||||||
* - возможно только при использовании внешнего декодера Dolby® Digital;
** - при использовании Virtual Dolby® Digital или Virtual Dolby® Surround совместно с ST OmniSurround или SRS® TruSurroundXT™ обязательно применение декодера Dolby® Digital/Pro Logic ® /Pro Logic II®.
В табл.2 приводится функциональное назначение выводов микросхем семейства STV82x7.
Таблица 2. Назначение выводов микросхем семейства STV82x7
№ вывода | Обозначение | Тип* | Функциональное назначение |
1 | SC1_0UT_L | A | Выход левого канала SCART1 |
2 | SC1_0UT_R | A | Выход правого канала SCART1 |
3 | VCC_H | AP | Напряжение питания 8 В для аудиовходов/выходов и защиты от статического разряда |
4 | GND_H | AP | "Земля" для аудиовыходов |
5 | SC3_0UT_L | A | Выход левого канала SCART3 |
6 | SC3_0UT_R | A | Выход правого канала SCART3 |
7 | VCC33_SC | AP | Напряжение питания 3,3 В для аудиобуферов и АЦП/ЦАП |
8 | GND33_SC | AP | "Земля" для аудиобуферов и АЦП/ЦАП |
9 | SC1_IN_L | A | Выход левого канала SCART1 |
10 | SC1_IN_R | A | Выход правого канала SCART1 |
11 | VREFA | A | Напряжение смещения 1,55 В |
12 | GND_SA | AP | "Земля" ЦАП |
13 | VBG | A | Опорное напряжение развязки 1,2 В |
14 | SC2_IN_L | A | Выход левого канала SCART2 |
15 | SC2_IN_R | A | Выход правого канала SCART2 |
16 | VCC33_LS | AP | Напряжение питания 3,3 В для аудио ЦАП |
17 | GND33_LS | AP | "Земля" для аудио-ЦАП |
18 | SC2_0UT_L | A | Выход левого канала SCART2 |
19 | SC2_0UT_R | A | Выход правого канала SCART2 |
20 | VCC_NIS0 | AP | Напряжение питания аналоговой части 3,3 В |
21 | VSS33_C0NV | AP | "Земля" для ЦАП (преобразователи 1,8/3 В) |
22 | VDD33_C0NV | AP | Напряжение питания 3,3 В для ЦАП (преобразователи 1,8 В / 3 В) |
23 | SC3_IN_L | A | Вход левого канала SCART3 |
24 | SC3_IN_R | A | Вход правого канала SCART3 |
25 | SCL_FLT | A | Фильтр левого канала SCART |
26 | SCR_FLT | A | Фильтр правого канала SCART |
27 | LS_C | A | Выход центрального канала |
28 | LS_L | A | Выход левого канала |
29 | LS_R | A | Выход правого канала |
30 | LS_SUB | A | Выход сабвуфера |
31 | HP_LSS_L | A | Выход левого канала для наушников или левого канала Surround |
32 | HP_LSS_R | A | Выход правого канала для наушников или правого канала Surround |
33 | VSS18_C0NV | DP | "Земля" для цифровой части ЦАП/АЦП |
34 | VDD18_C0NV | DP | Напряжение питания 1,8 В для ЦАП/АЦП |
35 | HP_DET | I | Контрольный сигнал "наушники включены" |
36 | ADR_SEL | I | Аппаратный выбор адреса шины I2C |
37 | VSS18 | DP | "Земля" для цифровой части |
38 | VDD18 | DP | Напряжение питания 1,8 В для цифровой части |
39 | SCL | OD | Вход тактового сигнала шины I2C |
40 | SDA | OD | Вход/выход данных шины I2C |
41 | VSS18 | DP | "Земля" для цифровой части |
42 | VDD18 | DP | Напряжение питания 1,8 В для цифровой части |
№ вывода | Обозначение | Тип* | Функциональное назначение |
43 | RST | I | Вход сигнала сброса |
44 | S/PDIF_IN | I | Последовательный вход аудиоданных |
45 | S/PDIF_0UT | O | Последовательный выход аудиоданных |
46 | VDD33_I01 | DP | Напряжение питания 3,3 В для цифровой части |
47 | VSS33_I01 | DP | "Земля" для цифровой части |
48 | CK_TST_CTRL | D | Соединяется с "землей" |
49 | VSS18 | DP | "Земля" для цифровой части |
50 | VDD18 | DP | Напряжение питания 1,8 В для цифровой части |
51 | CLK_SEL | I | Выбор формата входной тактовой частоты |
52 | XTALIN_CLKXTP | I | Вход тактового генератора / Положительный дифференциальный вход |
53 | XTALOUT CLKXT M | O | Выход тактового генератора / Отрицательный дифференциальный вход |
54 | VCC18_CLK1 | AP | Напряжение питания 1,8 В для аналоговой ФАПЧ тактового генератора |
55 | GND18_CLK1 | AP | "Земля" для аналоговой ФАПЧ тактового генератора |
56 | GND18_CLK2 | DP | "Земля" для цифровой ФАПЧ тактового генератора |
57 | VCC18_CLK2 | DP | Напряжение питания 1,8 В для цифровой ФАПЧ тактового генератора |
58 | VSS33_I02 | DP | "Земля" для цифровых входов/выходов (выв. 60-69) |
59 | VDD33_I02 | DP | Напряжение питания 3,3 В для цифровых входов/выходов (выв. 60-69) |
60 | I2S_PCM_CLK | I/O | Вход ведомого тактового генератора PS/выход каналов 1, 2 и 3 |
61 | I2S_SCLK | I/O | Вход тактового генератора PS/выход каналов 1, 2 и 3 (выход шины данных I2S) |
62 | I2S_LR_CLK | I/O | Вход выбора формата слова шины PS/выход каналов 1, 2 и 3 |
63 | I2S_DATA0 | I/O | Вход данных PS/выход стерео канала 1 |
64 | I2S_DATA1 | I | Вход данных I2S стерео канала 2 |
65 | I2S_DATA2 | I | Вход данных I2S стерео канала 3 |
66 | VDD18 | DP | Напряжение питания 1,8 В для ядра ЦПОС и входов/выходов |
67 | VSS18 | DP | "Земля" для ядра ЦПОС и входов/выходов |
68 | BUS_EXP | O | Функция расширения шины |
69 | IRQ | O | Выход сигнала прерывания |
70 | GND_PSUB | AP | "Земля" подложки |
71 | VDD18_ADC | DP | Напряжение питания 1,8 В для АЦП (цифровая часть) |
72 | VSS18_ADC | DP | Дополнительная "земля" для АЦП (VDD 1,8 В) |
73 | SIF_P | A | Вход дифференциального сигнала звуковой ПЧ |
74 | SIF_N | A | |
75 | GNDPW_IF | AP | Поляризация для блока ПЧ |
76 | VCC18_IF | AP | Напряжение питания 1,8 В для АРУ и АЦП |
77 | GND18_IF | AP | "Земля" для АРУ ПЧ и АЦП |
78 | M0N0_IN | A | Вход монофонического сигнала с AM |
79 | SC4_IN_L | A | Вход левого канала SCART4 |
80 | SC4_IN_R | A | Вход правого канала SCART4 |
* А - аналоговый (analog); B - двунаправленный (bi-directional); OD - открытый сток (opened-drain); I - входной (input); O - выходной (output); AP - Uпит аналоговой части (analog power); DP - Uпит цифровой части (digital power).
Основные особенности микросхем семейства STV82x7
Особенности ядра ЦПОС:
- вход ПЧ и/или аналоговый стереовход (SCART);
- возможность получения до шести синхронных выходных каналов (5.1 получается за счет использования трех каналов шины I2S);
- автоматическая регулировка уровня (АРУ) для входного сигнала ПЧ;
- цифровой демодулятор с автоматическим распознаванием стандарта модуляции;
- поддержка стандартов модуляции NICAM, AM, FM (моно) и FM (стерео);
- цифровая обработка звука на тактовых частотах 32, 44,1 или 48 кГц со следующей поддержкой:
- Для колонок:
- декодер Dolby® Pro Logic II ® со схемой управления низкими частотами;
- SRS® WOW™ или TruSurround XT™ включая Virtual Dolby® Surround и Virtual Dolby®Digital;
- ST WideSurround;
- ST OmniSurround;
- ST Dynamic Bass;
- 5-полосный эквалайзер или темброблок;
- тонкомпенсация;
- интеллектуальная схема контроля громкости звука;
- плавный контроль баланса и выключения звука;
- устройство звуковой сигнализации;
- компенсация задержки обработки видеосигнала.
- Для наушников:
- SRS® TruBass™;
- темброблок;
- тонкомпенсация;
- интеллектуальная схема контроля громкости звука;
- плавный контроль баланса и выключения звука;
- устройство звуковой сигнализации;
- компенсация задержки обработки видеосигнала;
- общий выход для канала наушников и колонок;
- аналоговый селектор, объединяющий: пять внешних входов (четыре SCART + один аналоговый моно), один внутренний вход (от цифрового селектора через ЦАП), три внешних выхода, один внутренний выход (для цифрового селектора, используя АЦП);
- цифровой селектор, поддерживающий: три входных режима (демодулятор/SCART, только SCART и I2S), три стереовыхода (колонки, наушники и SCART);
- высокопроизводительный ЦАП;
- встроенный мультиплексор для S/PDIF выходов;
- специальный автономный режим работы чипа;
- управление через I2С-шину;
- системная ФАПЧ и тактовый генератор используют один и тот же кварцевый резонатор.
Режимы работы:
- демодулятор (fS = 32 кГц);
- демодулятор и SCART (fS = 32 кГц);
- SCART (fS = 48 кГц);
- I2S (fS = 32, 44,1 или 48 кГц).
Другие особенности:
- возможность работы от источника питания с напряжением 1,8, 3,3 или 8 В;
- потребление энергии составляет менее 1 Вт в рабочем режиме и 200 мВт - в режиме ожидания.
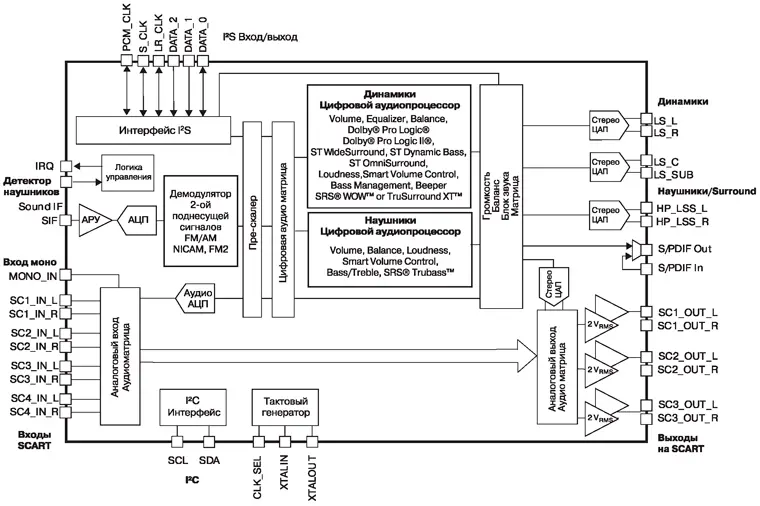
Функциональная схема
Обобщенная функциональная схема телевизионных аудиопроцессоров ST82х7 приведена на рис. 1. Опишем назначение основных блоков.

Рис. 1. Обобщенная функциональная схема телевизионных аудиопроцессоров семейства ST82x7
Тактовый генератор (Clock Generator)
Тактовый генератор включает в себя два независимых синтезатора частот. Первый синтезатор может использоваться в одном из двух режимов работы: Mode 1 -для работы с цифровым демодулятором с тактовой частотой 49,152 МГц, а Mode 2 - для работы с шиной I2S с тактовой частотой 49,152 МГц (fS = 32 и 48 кГц) и 45,1584 МГц (fS = 44,1 кГц). Второй синтезатор предназначен для синхронизации работы ядра ЦПОС. Его частота подстраивается в диапазоне 100...150 МГц в зависимости от приложения. В качестве опорной частоты разработчики рекомендуют использовать 27 МГц, так как это позволит уменьшить уровень потенциальных ВЧ-помех. Выбор источника тактовой частоты производится с помощью установки сигнала CLK_PIN (CLK_PIN = 1 - внутренний, CLK_PIN = 0 - внешний тактовый генератор).
Блок АРУ (Automatic Gain Control)
Перед аналого-цифровым преобразованием входной ПЧ сигнал подается на блок АРУ, который масштабирует уровень входного сигнала в соответствии с разрядностью АЦП. Блок обладает широким динамическим диапазоном, что делает возможным его работу со всеми стандартами модуляции. Управление конфигурацией и работой блока АРУ осуществляется с помощью регистров AGC_CTRL и AGC_GAIN.
Интерфейс I2C (I2C Interface)
Интерфейс I2C предназначен для управления текущей конфигурацией аудиопроцессора. При этом в качестве основного режима работы используется ведомый режим (Slave), который полностью совместим со стандартным быстрым режимом I2C (максимальная частота 400 кГц).
Интерфейс I2S (I2S Interface)
Основное назначение интерфейса I2S - обеспечение обмена данными с внешним устройством (например, цифровым декодером звука). Микросхемы семейства STV82x7 поддерживают три режима работы по интерфейсу I2S:
- один вход (DATA_0) при работе с внешними стерео или Dolby® ProLogic® сигналами;
- три входа (DATA_0-2) при работе с многоканальным звуком (до шести каналов);
- один выход (DATA_0).
Синхронизация работы STV82x7 с внешним устройством осуществляется через сигналы LR_CLK, S CLK и PCM CLK.
Логика управления (Control Logic)
Данный блок предназначен для выполнения трех операций: контроля за включением/выключением наушников, генерации прерываний и обслуживании дополнительного вывода BUS_EXP шины I2C, использующегося для подключения внешних ПАВ фильтров ПЧ.
При включении наушников генерируется сигнал HP_DET (активный уровень - низкий), который отключает громкость на динамиках и сабвуфере. Каждое изменение HP_DET генерирует прерывание. Всего доступно четыре прерывания IRQ0-IRQ3, причем при каждой генерации прерывания устанавливается высокий уровень на выводе IRQ. Прерывание IRQ0 генерируется в случае изменения стандарта кодирования звукового ТВ сигнала, IRQ1 - в случае потери синхронизации при работе с внешним цифровым устройством по интерфейсу I2S, IRQ2 - в случае изменения сигнала HP_DET (включение/выключение наушников), а IRQ3 - при переключении с наушников на динамики, тем самым обеспечивается плавное увеличение громкости.
Цифровой демодулятор (Digital FM/AM/NICAM Demodulation)
Данный блок состоит из двух каналов: первый канал - демодуляции сигналов FM и AM, второй - для FM и NICAM. Параметры каждого из каналов запрограммированы во встроенную автоматическую систему распознавания стандарта модуляции. Однако параметры каналов могут также быть запрограммированы вручную через интерфейс I2C (в случае работы со специфическими стандартами).
В этом блоке имеются следующие управляющие регистры:
- AUTOSTD_STANDARD_DETECT, содержит информацию о поддерживаемых стандартах модуляции;
- AUTOSTD_STATUS, хранит имя последнего распознанного стандарта;
- AUTO_CTRL, содержит текущие настройки автоматической системы распознавания стандарта.
Входной/выходной аналоговый аудиоселектор (Input/Output Analog Audio Martix)
Данный блок служит для коммутации входных/выходных аналоговых аудиоданных. Через входной аналоговый аудиоселектор сигнал подается на цифровой аудиоселектор с предварительной оцифровкой и последующей обработкой ЦПОС, либо непосредственно на выходной аудиоселектор.
Цифровой аудиоселектор (Digital Audio Matrix)
По своему функциональному назначению данный блок ничем не отличается от предыдущего. Отличие состоит в коммутации исключительно цифровых сигналов.
Блок цифровой аудиообработки (Loudspeakers/Headphones Digital Audio Processing)
В основе данного блока лежит 24-разрядный ЦПОС, архитектура которого оптимизирована для реализации различных алгоритмов цифровой обработки звука. Все поддерживаемые алгоритмы были перечислены выше. Возможность реализации большого числа современных алгоритмов цифрового звучания делает семейство STV82x7 универсальным для применения в различных приложениях.
Блок управления балансом и громкостью звучания (Volume Balance Mute Matrix)
Назначение этого блока ясно из его названия. Пределы регулирования громкости звучания составляют + 11,875...-116 дБ с шагом 0,125 дБ, что значительно шире типичных "домашних" приложений ("60 дБ). Блок может работать в одном из двух режимов: дифференциальном (громкость и баланс всех каналов изменяются одновременно) и независимом (громкость левого и правого каналов регулируется раздельно).
Предельные и типовые электрические характеристики телевизионных аудиопроцессоров ST82х7 приведены в табл. 3, 4.
Таблица 3. Предельные электрические характеристики телевизионных аудиопроцессоров Б782х7
| Обозначение | Параметр | Значение | Единица измерения |
VXX_18 | Uпит = 1,8 В (аналоговая и цифровая части) (VCC18_CLK1, VCC18_CLK2, VCС18_IF, VDD18, VDD18_CONV, VDD18_ADC) | 2,5 | В |
VXX_33 | Uпит = 3,3 В (аналоговая и цифровая части) (VCC33_SC, VCC33_LS, VDD33_IO1, VDD33_IO2, VDD33_CONV, VCC_NISO) | 4,0 | В |
HVCC | Напряжение аналогового источника питания (VCCH) | 8,8 | В |
VESD | Защита от статического разряда | 4 | кВ |
TOPER | Рабочий диапазон температур | 0...+70 | °С |
TSTG | Температура хранения | -55...+150 | °С |
RthJA | Температурное сопротивление перехода | 42 | °С/Вт |
Таблица 4. Типовые электрические характеристики телевизионных аудиопроцессоров Б782х7
Обозначение | Параметр | Значение | Единица измерения | ||
Мин. | Тип. | Макс. | |||
VXX_18 | Uпит = 1,8 В (аналоговая и цифровая части) (VCC18_CLK1, VCC18_CLK2, VCC18_IF, VDD18, VDD18_CONV, VDD18_ADC) | 1,70 | 1,80 | 1,90 | В |
VXX_33 | Uпит = 3,3 В (аналоговая и цифровая части) (VCC33_SC, VCC33_LS, VDD33_IO1, VDD33_IO2, VDD33_CONV, VCC_NISO) | 3,13 | 3,30 | 3,47 | В |
HVCC | Напряжение аналогового источника питания (VCC_H) | 7,6 | 8,0 | 8,4 | В |
IVDD18 | Потребление тока цифровой части питания Uпит = 1,8 B (VCC18_CLK2, VDD18, VDD18_CONV, VDD18_ADC) | - | 230 | 280 | мА |
IVDD33 | Потребление тока цифровой части питания Uпит = 3,3 В (VDD33_IO1, VDD33_IO2) | - | 10 | 12 | мА |
IVCC18 | Потребление тока аналоговой части питания Uпит = 1,8 В (VCC18_CLK1, VCC18_IF) | - | 50 | 60 | мА |
IVCC33 | Потребление тока аналоговой части питания Uпит = 3,3 В (VCC33_SC, VCC33_LS, VDD33_CONV, VCC_NISO) | - | 65 | 78 | мА |
IVCC_H | Потребление тока аналоговой части питания (VCC_H) | - | 4 | 7 | мА |
PDTOT | Общая рассеиваемая мощность | - | 780 | 965 | мВт |
fP | Частота кварцевого резонатора (С21, С22 = 27 пФ) | - | 27 | - | МГц |
DF/FP | Допустимое отклонение частоты кварцевого резонатора при 25°С | -0,03 | - | +0,03 | % |
DF/FT | Стабильность частоты кварцевого резонатора при температуре 0...70°С | -0,03 | - | +0,03 | % |
RINSIF | Входное сопротивление (по входу ПЧ) | 60 | 72 | 85 | кОм |
DCINSIF | Уровень сигнала (по входу звуковой ПЧ) | - | 0,9 | - | В |
CINSIF | Входная емкость (по входу звуковой ПЧ) | - | 3 | - | пФ |
VSIFFM | Чувствительность (FM) | 350 | - | - | мкВ |
VSIFAM | Чувствительность (AM) | 19 | - | - | мВ |
AGCstep | Шаг АРУ | 1,4 | 1,5 | 1,6 | дБ |
SNRFM | Отношение сигнал/шум (ОСШ) для FM | 66 | - | - | дБ |
THDFM | Коэффициент нелинейных искажений (КНИ) для FM | - | - | 0,05 | % |
SEPFM | Развязка стереоканалов для FM | 48 | - | - | дБ |
SNRNIC | ОСШ для NIC-модуляции | 74 | - | - | дБ |
Обозначение | Параметр | Значение | Единица измерения | ||
Мин. | Тип. | Макс. | |||
THDNIC | КНИ для NIC-модуляции | - | - | 0,04 | % |
SNRAM | ОСШ для AM | 60 | - | - | дБ |
THDAM | КНИ для AM | - | - | 0.4 | % |
RINSCART | Входное сопротивление SCART | 29 | 34 | 39 | кОм |
ROUTSCART | Выходное сопротивление SCART | - | 40 | 75 | Ом |
VDCINSCART | Уровень входного сигнала SCART | 1,45 | 1,57 | 1,65 | В |
VDCOUTSCART | Уровень выходного сигнала SCART | 3,4 | 3,64 | 3,8 | В |
THDSCART | КНИ SCART | - | 0,02 | 0,05 | % |
SNRSCART | ОСШ SCART | 82 | 90 | - | дБ |
XTALKL/R | Развязка левого/правого каналов SCART | 80 | 90 | - | дБ |
XTALKIN | Развязка по входным каналам SCART | 80 | 90 | - | дБ |
XTALKOUT | Развязка по выходным каналам SCART | 80 | 90 | - | дв |
THDADC | КНИ АЦП | - | 0,006 | 0,05 | % |
SNRADC | ОСШ АЦП | 62 | - | - | дБ |
ROUTDAC | Выходное сопротивление ЦАП | - | 90 | 140 | Ом |
VDCOUTDAC | Выходное напряжение ЦАП | 1,4 | 1,55 | 1,8 | В |
THDDAC | КНИ ЦАП | - | - | 0,06 | % |
SNRDAC | ОСШ ЦАП | 75 | - | - | дБ |
VIL | Нижний уровень входного напряжения | - | - | 0,5 | В |
VIH | Верхний уровень входного напряжения | 2,0 | - | - | В |
IIN | Входной ток | - | - | 1 | мкА |
VOL | Нижний уровень выходного напряжения | - | - | 0,3 | В |
VOH | Верхний уровень выходного напряжения | 3,0 | - | - | В |
VI2C_IL | Нижний уровень входного напряжения шины I2C | -0,3 | - | 1,5 | В |
VI2C_IH | Верхний уровень входного напряжения шины I2C | 2,3 | - | 5,5 | В |
fI2C_SCL | Тактовая частота шины I2C | - | - | 400 | кГц |
tR | Время нарастания импульса шины I2C | - | - | 300 | нс |
tF | Время спада импульса шины I2C | - | - | 300 | нс |
VI2S_IL | Нижний уровень входного напряжения шины I2S | - | - | 0.8 | В |
VI2S_IH | Верхний уровень входного напряжения шины I2S | 2 | - | - | В |
ZI2S | Входной импеданс шины I2S | - | - | 5 | пФ |
fI2S_SCL | Входная тактовая частота шины I2S | 2,048 | - | 3,072 | МГц |
VI2S_OL | Нижний уровень входного напряжения шины I2S | - | - | 0,4 | В |
VI2S_OH | Верхний уровень входного напряжения шины I2S | 2,4 | - | - | В |
fI2S_OSCl | Выходная тактовая частота шины I2S | 0,512 | - | 3,072 | МГц |
Автор: Евгений Кузнецов (г. Рязань)
Источник: Ремонт и сервис
