Унифицированные универсальные трансформаторы питания (УУТП) предназначены для питания радиоэлектронной аппаратуры широкого применения от промышленной сети переменного тока напряжением 220 В и частотой 50 Гц. Только один трансформатор серии Т5 рассчитан на подключение к сети как 127, так и 220 В. Присутствие на трансформаторах нескольких вторичных обмоток, рассчитанных на разные токи и напряжения, и возможность их последовательного и параллельного включения позволяют получить разные сочетания токов и напряжений на выходе трансформатора. Наличие дополнительных отводов в первичной обмотке дает возможность достаточно точно учесть особенности питающей сети.
![]() | ![]() |
| Рис. 1 | Рис. 2 |
![]() | ![]() |
| Рис. 3 | Рис. 4 |
![]() | ![]() |
| Рис. 5 | Рис. 6 |
![]() | |
| Рис. 7 | Рис. 8 |
![]() | |
| Рис. 9 | |
![]() | ![]() |
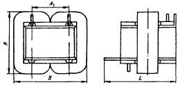
| Рис. 10 | Рис. 11 |
![]() | ![]() |
| Рис. 12 | Рис. 13 |

Рис. 14

Рис. 15
![]() | ![]() |
| Рис. 16 | Рис. 17 |
![]() | ![]() |
| Рис. 18 | Рис. 19 |
Таблица 1
| Типономинал трансф., (схема) | Магнитопровод | Первичная обмотка | Вторичная обмотка | ||||
| Выводы | Ном. напряж., В | Ном. ток, А | Выводы | Ном. напряж., В | Ном. ток, А | ||
| Т1 (рис.1) | ШЛМ:25х25 | 1-2 | 200 | 0,33 | 7-8 | 160 | 0,025 |
| 2—3 | 10 | 8—9 | 20 | 0,025 | |||
| 3—4 | 10 | 9—10 | 20 | 0,025 | |||
| 4—5 | 10 | 11—12 | 3,6 | 2,12 | |||
| 5—6 | 10 | 12—13 | 9 | 2,12 | |||
| 13—14 | 9 | 2,12 | |||||
| 14—15 | 3,6 | 2,12 | |||||
| 16—17 | 3,2 | 1,06 | |||||
| 17—18 | 6,5 | 1,06 | |||||
| 18—19 | 6,5 | 1,06 | |||||
| 19—20 | 3,2 | 1,06 | |||||
| 21—22 | 15 | 0,03 | |||||
| 22—23 | 3 | 0,03 | |||||
| 24—25 | 15 | 0,03 | |||||
| 25—26 | 3 | 0,03 | |||||
| Т2 (рис.2) | ШЛМ 25x25 | 1—2 | 220 | 0,26 | 3—4 | 190 | 0,1 |
| 5—6 | 18 | 0,9 | |||||
| 6—7 | 16 | 0,9 | |||||
| ТЗ (рис.3) | ШЛМ 20x32 | 1—2 | 209 | 0,26 | 7—8 | 11,5 | 1,35 |
| 2—3 | 6 | 8—9 | 11,5 | 1,35 | |||
| 3—4 | 5 | 10—11 | 1,7 | 0,23 | |||
| 4-5 | 6 | 11—12 | 18,1 | 0,23 | |||
| 5—6 | 5 | 12—13 | 18,1 | 0,23 | |||
| 13—14 | 1,7 | 0,23 | |||||
| 15—16 | 100 | 0,03 | |||||
| 16—17 | 80 | 0,03 | |||||
| 17—18 | 20 | 0,03 | |||||
| Т4 (рис.4) | ШЛМ 25x25 | 1—2 | 104,5 | 0,2 | 9—10 | 8,5 | 1,2 |
| 2—3 | 5,5 | 11—12 | 38 | 1,2 | |||
| 3—4 | 5,5 | 12—13 | 4 | 1,2 | |||
| 5—6 | 104,5 | 14—15 | 8,5 | 1,2 | |||
| 6—7 | 5,5 | 16—17 | 38 | 0,05 | |||
| 7—8 | 5,5 | 17—18 | 4 | 0,05 | |||
| Т5 (рис.5) | ШПМ 10x25 | 1-2 | 110 | 0,12(127 В) | 5—6 | 38 | 0,1 |
| 2—3 | 17 | 0,07(220 В) | 7—8 | 7 | 0,06 | ||
| 3—4 | 93 | ||||||
| Т6 (рис.6) | ШЛМ 10x25 | 1—2 | 220 | 0,028 | 3—4 | 34,2 | 0,07 |
| 4—5 | 34,2 | 0,07 | |||||
| 6—7 | 0,85 | 0,45 | |||||
| Т7 (рис.7) | ШЛМ 10x20 | 1—2 | 220 | 0,03 | 3-4 | 38 | 0,08 |
| 5—6 | 0,95 | 0,27 | |||||
| Т8 (рис.8) | ШПМ 10x20 | 1—2 | 220 | 0,033 | 3—4 | 10 | 0,4 |
| Т9 (рис.9) | ШЛМ 10x20 | 1—2 | 220 | 0,045 | 3—4 | 41 | 0,13 |
| 5—6 | 2,5 | 0,1 | |||||
| 6—7 | 2,5 | 0,1 | |||||
| Т10 (рис.9) | ШЛМ 10x25 | 1—2 | 220 | 0,045 | 3—4 | 38 | 0,07 |
| 5—6 | 1,6 | 0,2 | |||||
| 6—7 | 1,6 | 0,2 | |||||
| Т11 (рис.7) | ШЛМ 10x50 | 1—2 | 220 | 0,03 | 3-4 | 33,1 | 0,086 |
| 5—6 | 1,05 | 0,42 | |||||
| Т12 (рис.8) | ШЛМ 12x12,5 | 1—2 | 220 | 0,016 | 3—4 | 5,6 | 0,175 |
| Т13 (рис.8) | ШЛМ 12x12,5 | 1—2 | 220 | 0,016 | 3—4 | 5,6 | 0,175 |
| Т14 (рис.8) | ШЛМ 12x12,5 | 1—2 | 220 | 0,02 | 3—4 | 9,2 | 0,01 |
| Т15 (рис.8) | ШЛМ 12x12,5 | 1—2 | 220 | 0,025 | 3—4 | 8,5 | 0,2 |
| Т16 (рис.7) | ШЛМ 12x25 | 1—2 | 220 | 0,05 | 3-4 | 43,7 | 0,112 |
| 5—6 | 0,85 | 0,85 | |||||
| Т17 (рис.7) | ШЛМ 12x25 | 1—2 | 220 | 0,056 | 03.04.2004 | 38,5 | 0,142 |
| 5—6 | 1,05 | 1,18 | |||||
| Т18 (рис.2) | ШЛМ 12x18 | 1—2 | 220 | 0,03 | 3-4 | 38 | 0,04 |
| 5—6 | 1,6 | 0,2 | |||||
| 6—7 | 1,6 | 0,2 | |||||
| Т19 (рис.2) | ШЛМ 10x20 | 1—2 | 220 | 0,03 | 3—4 | 27 | 0,055 |
| 5—6 | 2,5 | 0,1 | |||||
| 6—7 | 2,5 | 0,1 | |||||
Таблица 2
| Типономинал трансф. | Номер рисунка | Размеры, мм | Масса, г | |||||
| А | А1 | В | Н | L | d | |||
| T1 | 10 | 46 | 58 | 71 | 88 | 82 | 5,5 | 1400 |
| Т2 | 10 | 46 | 58 | 65 | 88 | 82 | 5,5 | 1400 |
| ТЗ | 11 | 48 | 46 | 87 | 72 | 88 | М4 | 950 |
| Т4 | 12 | 35 | 58 | 52 | 62 | 77 | М3 | 750 |
| Т5 | 13 | 34 | 25 | 46 | 37 | 37 | М2,5 | 210 |
| Т6 | 13 | 34 | 25 | 46 | 37 | 37 | М2,5 | 210 |
| Т7 | 14 | - | 24,2 | 39,2 | 37,2 | 41,6 | - | 180 |
| Т8 | 14 | - | 24,2 | 39,2 | 37,2 | 41,6 | - | 180 |
| Т9 | 15 | - | 34,2 | 39,5 | 29 | 34,2 | - | 185 |
| Т10 | 16 | - | 28,5 | 48 | 29,2 | 43,5 | - | 220 |
| Т11 | 14 | - | 24,2 | 39,2 | 37,2 | 41,6 | - | 180 |
| Т12 | 17 | 12 | 17,2 | 30,5 | 40 | 28,5 | - | 110 |
| Т13 | 18 | - | 20 | 42 | 30,5 | 46 | - | 110 |
| Т14 | 18 | - | 20 | 42 | 30,5 | 46 | - | 110 |
| Т15 | 18 | - | 20 | 42 | 30,5 | 46 | - | 110 |
| Т16 | 14 | - | 28,5 | 44 | 37,9 | 45 | - | 280 |
| Т17 | 14 | - | 28,5 | 44 | 37,9 | 45 | - | 280 |
| Т18 | 19 | - | 29,5 | 38 | 33 | 40 | - | 185 |
| Т19 | 14 | - | 24,2 | 39,2 | 37,2 | 41,6 | - | 180 |
В целом УУТП по многим эксплуатационным показателям уступают специализированным трансформаторам питания типа ТА, ТАН, ТН и ТПП. Серия УУТП включает 19 типов трансформаторов, изготавливаемых на магнитопроводах броневого типа ШЛМ. Электрические схемы УУТПприведены на рис.1...9, их конструкция — на рис.10...19, основные электрические параметры — в табл.1, габаритные и установочные размеры — в табл.2.
















