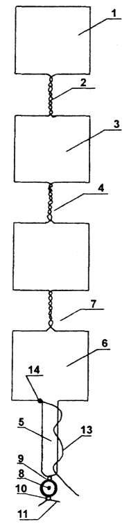
Бывает, что приехав на отдых с палаткой в лес или на берег реки, обнаруживаешь, что переносной телевизор плохо работает на штатную антенну из-за слабого сигнала. Тогда начинаются эксперименты с разными суррогатными антеннами. Найденный кусок провода размещают в разных местах, изгибают всякими петлями. Но это почти ничего не дает. А чтобы сделать более или менее приличную антенну, нужны инструменты, материалы и крепежные элементы. Но оказывается, антенну "Рамочный волновой канал" можно быстро изготовить из одного куска проволоки, без каких-либо креплений, просто ее скрутив. На рис.1 показана развертка антенны (скрутка проволоки), которую затем изгибают (вид сбоку показан на рис.2).

Рис.1. Развертка антенны

Рис.2. Вид сбоку
Для оптимального приема должен использоваться провод с минимальным сопротивлением, и все размеры антенны для конкретного канала нужно брать из справочника. Так как на месте отдыха, скорее всего, не найдется толстой медной проволоки и справочника радиолюбителя, придется ограничиться "среднепотолочными" размерами. Для антенны подойдет любая найденная проволока, даже железная, лишь бы она скручивалась, а изготовленная конструкция была достаточно жесткая и не гнулась под собственным весом и на ветру.
Например, антенна, состоящая из 4-х рамок с длиной стороны 10 см, будет работать вполне прилично, если ее изготовить из железной проволоки 00,6 мм и больше. Проволоку изгибают пополам, а место изгиба выполняют в виде квадрата 1 с длиной стороны, равной половине длины волны принимаемого сигнала. На середине стороны рамки 1, ближней к концам проволоки, выполняют скрутку 2 концов проволоки на длине, равной трети длины волны. Далее вновь выгибается такая же рамка 3, а затем такая же скрутка 4. После выполнения рамок и скруток по всей длине проволоки, концы проволоки выгибаются в виде прямоугольника 5 полуволновой длины, и шириной, равной четверти стороны квадрата 1. Это согласующий трансформатор, он расположен посередине стороны последнего квадрата 6 напротив скрутки 7. При этом должны оставаться еще концы проволоки для выполнения круглой петли 8 диаметром 8 мм (такой диаметр кольцевого контакта антенного гнезда телевизора), отделенной от трансформатора 5 короткой скруткой 9 примерно на 2 оборота. Петля 8 завершается еще одной такой же скруткой 10. Лишний провод нужно отломать, оставив концы 11 длиной примерно 2 см, используемые для крепления антенны на телевизоре.
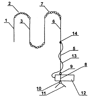
Если расположить плоскости рамок друг против друга на расстоянии четверти длины волны, изогнув для этого скрутки 2, 4, 7 дугой (как показано на рис.2), то получиться антенна "Рамочный волновой канал".
Для подключения антенны к телевизору необходима трубка 12 диаметром 8 мм, скрученная из жести от консервной банки, зачищенной от эмали. Длина трубки такая, чтобы на ее конец можно было надеть изготовленную антенну контактной петлей 8. Концы 11 проволоки упираются в корпус телевизора. За счет этого и тугой посадки петли 8 на трубку 12, антенна крепится на телевизоре. Длина концов 11 должна быть достаточной, чтобы это крепление было достаточно надежным. В центральный контакт антенного гнезда телевизора вставляется зачищенный от изоляции конец провода 13, накрученного двумя витками на одном плече трансформатора 5. Другой конец провода 13, зачищенный от изоляции, прикручен к другому плечу трансформатора 5 в точке 14 его перехода в сторону рамки 6.
Если частота принимаемого сигнала, а следовательно, и длина волны неизвестны, то их можно приблизительно определить по расположению на телевизоре стрелки плавной подстройки частоты принимаемого сигнала. Дециметровый диапазон начинается с канала 21, в котором сигнал имеет частоту 470 МГц и длину волны 64 см, а заканчивается каналом 60 с частотой 790 МГц и длиной волны 38 см.
Запас по длине скруток 2, 4, 7, скрепляющих рамки друг с другом, необходим для подбора размеров рамок с целью улучшения приема сигнала. При необходимости можно раскрутить крайние участки скруток и за счет освободившейся проволоки увеличить размеры рамок. И, наоборот, увеличение длины скруток приводит к уменьшению размера рамок. Если антенное гнездо в телевизоре расположено вертикально или под углом, то можно соответствующим образом согнуть скрутку 9, а если этого окажется недостаточно - то и трансформатор 5.
Описанную конструкцию можно использовать как комнатную антенну, изготовив ее из толстой медной проволоки с соблюдением оптимальных размеров. Количество рамок - чем больше, тем лучше (в пределах 10 штук).
Автор: В.СОЛОНИН, г.Конотоп
