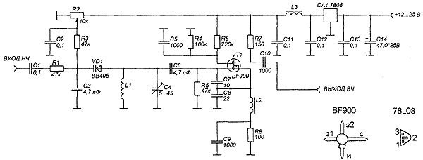
На рис.1 приведена схема электрическая принципиальная ЧМ генератора, способного работать в "FM" диапазоне. Генератор может использоваться совместно с высококачественной звуковоспроизводящей аппаратурой.

Рис.1. Принципиальная схема ЧМ генератора
Непосредственно сам генератор выполнен на полевом тетроде VT1 типа BF900. Применение полевого транзистора с двумя изолированными затворами позволило получить очень стабильный генератор с очень низким уровнем шума в выходном сигнале.
Нужная частота устанавливается подстроечным конденсатором С4. Для обеспечения требуемой девиации частоты и малых нелинейных искажений на варикап VD1 подается постоянное напряжение смещения с движка переменного резистора R2. Входной сигнал низкой частоты поступает в устройство через блокировочный конденсатор С1.
В ходе проведения операции по тестированию генератора были получены следующие результаты:
- выходная частота, МГц ... 100;
- сопротивление нагрузки генератора, Ом ... 50;
- амплитуда выходного напряжения высокой частоты, мВ ... 22,5;
- уход частоты ВЧ сигнала, МГц ... 0,005.
При тестировании генератора на вход подавался сигнал частотой 0,5...55 кГц от стереокодера. Приведенный выше уход частоты был замечен после первого часа работы, в дальнейшем частота изменялась незначительно.
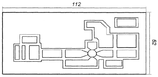
КОНСТРУКЦИЯ И ДЕТАЛИ. На рис. 2 приведен рисунок печатной платы, на рис. 3 - расположение элементов устройства на ней.

Рис.2.

Рис.3.
Под посадочное место транзистора VT1 в печатной плате сделано отверстие, приблизительно, диаметром 6 мм. Со стороны "земли" вокруг отверстия необходимо удалить фольгу диаметром 1...1,5 см.
В устройстве желательно использовать только безвыводные элементы (SMD компоненты). Вместо интегрального стабилизатора DA1 можно применить обычный параметрический стабилизатор на стабилитроне. Однако в этом случае может ухудшиться стабильность работы генератора и возрасти уровень шума в выходном сигнале.
Транзистор VT1 типа BF900 можно заменить на BF905, BF907, КП327А и т.д. Катушка индуктивности L1 намотана медным посеребренным проводом диаметром 1 мм на оправке диаметром 8 мм и содержит 4 витка. Шаг намотки составляет 1 мм. Катушка расположена горизонтально на расстоянии 8 мм от печатной платы. Длина выводов L1 составляет 4 мм. Катушки L2, L3 - широкополосные ВЧ дроссели, индуктивностью 2,5...6 мкГн.
Автор: В.КУРОЧКИН, г. Сморгонь
