Анализируя развитие схемотехники устройств защиты накала катодно-по-догревательного узла (КПУ) электронно-лучевых трубок (ЭЛТ), в основном телевизионных кинескопов, нельзя не обратить внимание на отсутствие новых технических решений в течение последних нескольких лет. Основной проблемой остается удовлетворение всей совокупности требований к устройству защиты, поскольку улучшение одних показателей связано с ухудшением других. Это позволяет сделать следующий вывод: возможности схемотехники, базирующейся на применении традиционной элементной базы, для данного вида устройств практически исчерпаны.
Разработка устройства, представленного в данной публикации, базируется на реализации возможностей элементной базы, появившейся в последние годы. Для обеспечения эффективной защиты накала КПУ, повышения надежности, миниатюризации и исключения необходимости наладки устройства потребовались схемотехнические решения, которые позволили:
- уменьшить число, объем и массу элементов схемы;
- обойтись без дополнительных источников питания;
- снизить тепловыделение;
- выполнить устройство на элементной базе повышенной надежности.
Кроме того, расширена область применения устройства защиты - оно без существенных изменений в схеме мо-жет применяться в любой аппаратуре отображения визуальной информации базирующейся на использовании ЭЛТ например в видеомониторах, дисплея: компьютеров, кинескопных видеопроекторах, осциллографах и т.д. [1].
Отличительными особенностями предлагаемого устройства являются: - использование нелинейного элемента, специально разработанного для сглаживания пускового тока накала ЭЛТ - мощного терморезистора прямого подогрева с отрицательным температурным коэффициентом; - применение твердотельного бесконтактного реле в качестве коммутирующего элемента; - запирание ЭЛТ на время прогрева КПУ.
Далее работа устройства рассматривается на примере защиты КПУ кинес копа 61ЛК5Ц.

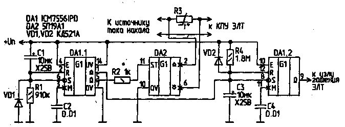
Принципиальная схема устройства показана на рисунке и состоит из терморезистора R3, реле DA2, узла управления реле DA2 на микросхеме DA1.1 и узла формирования сигнала гашения кинескопа на микросхеме DA1.2. Терморезистор R3 типа ТР15-16-0,8 включен последовательно в цепь накала КПУ кинескопа и предназначен для устранения броска тока накала при включении питания телевизора. В холодном состоянии его сопротивление равно 16 Ом, сопротивление холодной нити подогревателя КПУ Ro - около 3 Ом. При этом пусковой ток составляет Io=
пусковая мощность Рo=НoIo=6,3x0,33=2,1 Вт.
Для сравнения: пусковой ток накала незащищенного кинескопа
I=6,3/3=2,1А,
пусковая мощность Ро=6,3 2,1=13,23 Вт.
Таким образом, терморезистор снижает пусковую мощность более чем в 6 раз. Если учесть, что в цепи накала КПУ кинескопа любого современного телевизора уже имеется токоограничиваю-щий элемент - резистор или индуктивность, то практически пусковая мощность снижается в 7...8 раз.
Твердотельное реле DA2 предназначено для шунтирования терморезистора R3 после его выхода на номинальный режим. Сигнал включения реле формируется одновибратором DA1.1, запускаемым при включении напряжения питания. Длительность протекания тока накала через терморезистор R3 задается выбором постоянной времени цепи R1, С1 и вычисляется по формуле t[c]=1.1R [Мом]С[мкФ].
Напряжение гашения кинескопа на время прогрева КПУ вырабатывается вторым одновибратором DA1.2, постоянная времени которого задается цепью R4, СЗ и вычисляется аналогично. Напряжение с выхода DA1.2 подается на узел гашения кинескопа, схема которого определяется моделью телевизора и здесь не приводится, поскольку ее варианты подробно рассмотрены в [З]. Конденсаторы С2, С4 уменьшают до минимума влияние наводок и пульсации по цепям питания на работу одновибраторов. Диоды VD1, VD2 подавляют возможные выбросы напряжения при включении телевизора. Напряжение питания подается от одной из шин телевизора и может находиться в пределах 5...18 В без существенного изменения параметров устройства, необходимо лишь скорректировать номинал резистора R2 из условия обеспечения значения тока управления реле DA2 равного 10 мА. Мощность, потребляемая устройством в длительном режиме после окончания прогрева КПУ кинескопа, не превышает 200 мВт при питании 18 В и 55 мВт при питании 5 В.
При включении телевизора на выходе одновибратора DA1.1 (вывод 5) появляется напряжение низкого уровня, разрядный выход (вывод 1) устанавливается в низкоомное состояние, шунтируя конденсатор СЗ и препятствуя его зарядке. При этом на выходе одновибратора DA1.2 (вывод 9) присутствует напряжение высокого уровня, поступающее на узел гашения кинескопа, ток в цепи управления реле DA2 (выводы 10, 11) отсутствует. В результате этого кинескоп закрыт, пусковой ток накала КПУ протекает через холодный терморезистор R3 и токоограничивающий элемент, предусмотренный схемой телевизора, что уменьшает пусковую мощность в 7...8 раз. По мере прогрева терморезистора R3, его сопротивление снижается, а сопротивление подогревателя КПУ возрастает. Время выхода терморезистора данного типа на номинальный режим составляет 2...3 с, при необходимости его можно увеличить, если приклеить терморезистор на небольшой радиатор, размеры которого определяются экспериментально. Применяемый клей должен быть термостойким. По окончании интервала времени после включения телевизора, определяемого параметрами времязада-ющей цепи R1, С1 и равного примерно 10с, выход одновибратора DA1.1 переключается в состояние высокого уровня напряжения, а его разрядный выход устанавливается в высокоомное состояние. При этом начинает заряжаться конденсатор СЗ, на выходе одновибратора DA1.2 по-прежнему присутствует напряжение гашения кинескопа, в управляющей цепи реле DA2 начинает течь ток управления, а его силовая цепь устанавливается в низкоомное состояние. В дальнейшем, вплоть до момента отключения телевизора, ток накала течет через контакты 2 и 6 реле DA2, а терморезистор R3 быстро остывает, подготавливая устройство к следующему включению телевизора. По окончании интервала времени после начала зарядки конденсатора СЗ, определяемого параметрами времязадающей цепи R4, СЗ и равного примерно 20 с, выход одновибратора DA1.2 переключается в состояние с низким уровнем напряжения. В результате этого кинескоп открывается, и далее телевизор работает в штатном режиме. Таким образом, суммарное время задержки откры-вания кинескопа составляет 30 с.
В устройстве вместо сдвоенного таймера ICM7556IPD фирмы MAXIM можно применить любую из микросхем серии 556, например указанные в [4], либо две микросхемы одиночного таймера КР1006ВИ1 (напряжение питания- 5.-.15 В). Заменять реле 5П19А1 на электромагнитное нецелесообразно ввиду низкого ресурса последнего. Ближайшие зарубежные аналоги: RVG612, PVAZ172N фирмы INTERNATIONAL RECTIFIER. VD1, VD2, кроме указанных на схеме, могут быть типов КД509, КД510, КД522 с любым буквенным индексом. Конденсаторы С1, СЗ должны иметь наработку на отказ в условиях повышенной температуры окружающей среды не менее 10000 часов и минимальный ток утечки. Наиболее подходящими по критерию стоимость/эффективность являются конденсаторы серии SR тайваньского производства. Подходят также К52-16 К53-4, К53-18, К53-19. К53-29, К53-35 [2], но их стоимость существенно выше. Конденсаторы С2, С4 -типа KM, K10-17.
Безошибочно собранное из заведомо исправных элементов, устройство не требует налаживания.
Литература
1. Вуколов Н.И., Гербин А.И„ Котов-щиков Г.С. Приемные электронно-лучевые трубки: Справочник/Под ред. Ула-сюка В.Н. - М.: Радио и связь, 1993.
2. Конденсаторы: Справочник/И.И.Четвертков, М.Н.Дьяконов, В.И.Пресняков и др.: Под ред. И.И.Четверткова. - М.: Радио и связь, 1993.
3. Ветошкин П. Устройство "мягкого" включения кинескопа. - Радио, 1994, N9, С.7.
4. Дудник Ю. ИМС аналоговых таймеров AS555N, AS556N. - Радиолюбитель, 1998, N1.C.40.
