Несмотря на то, что газоразрядные индикаторы в обиходе очень быстро были заменены на более продвинутую и практичную альтернативу, светодиодные индикаторы, они все еще находят свое применение в интересных поделках.
Одним из таких "винтажных" приборов можно назвать ламповые часы. На газоразрядных индикаторах они смотрятся очень оригинально, особенно в полумраке или в темноте.
Для затравки внимания – изображение одной из возможных реализаций.

Рис. 1. Внешний вид устройства
Эффектно, ничего не скажешь. Самое интересное, что в сети можно найти множество готовых вариантов, вплоть до наручных часов с газоразрядными лампами. Команды, занимающиеся реализацией таких проектов, часто находят такую же "теплую ламповую" поддержку со стороны сообщества, потому как конечный продукт - это скорее искусство, чем схемотехника.
Но как же собрать свой вариант ламповых часов? Об этом ниже.
Какие лампы подходят
Здесь нужно начать с того, что ламповые индикаторы уже сняты с производства, как и большинство микроконтроллеров, которые с ними работали в связке. Поэтому придется потратить не один вечер на поиск всех необходимых комплектующих.
В продаже можно найти различные варианты, стоимость зависит от типа индикатора и высоты цифр. К примеру, лампа Z568M с высотой цифр 50 мм обойдется около 250 долларов за каждую.
Конечно, есть и более доступные альтернативы.
Сами лампы могут быть газоразрядными или люминесцентными. У последних люминофор (вещество, обеспечивающее свечение) со временем выгорает, и сама лампа тускнеет, поэтому их лучше не использовать в часах.
При заказе на иностранных сайтах (если будете брать для себя) стоит искать лампы NIXIE CLOCK (газоразрядные). Они лишены недостатка люминесцентных, но имеют свой – для свечения требуется питание минимум 100-110 В (некоторые от 150 В и более). Отсюда сложность в проектировании плат (необходимо согласование уровней, ведь часть схемы, отвечающая за логику работы часов, питается низким напряжением).
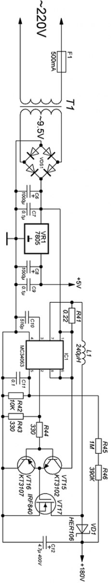
Система питания
Чтобы уменьшить габариты блока питания можно использовать Step-Up преобразователь. То есть после обычного понижающего трансформатора из 220 В получаем 9,5 В (мощность не менее 200мА), и увеличиваем их до 175 В.
Принципиальная схема БП часов.

Рис. 2. Принципиальная схема БП часов
Согласование уровней
На выходе микроконтроллера, управляющего свечением ламп мы имеем всего 5 В. Этого явно недостаточно для того, чтобы зажечь нужную цифру.
Чтобы получить около 180 В на аноде можно применить следующую схему согласования.

Рис. 3. Схема согласования
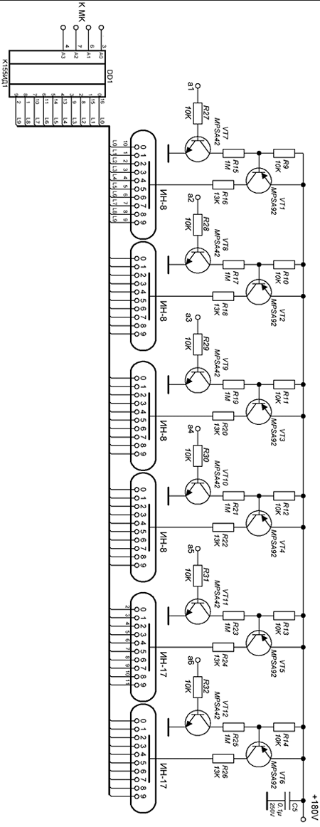
В качестве контроллера управления ламами была выбрана микросхема К155ИД1 (существуют и другие аналоги, она снята с производства на многих заводах, но найти в продаже ее еще можно).
Общая схема управления лампами выглядит так.

Рис. 4. Общая схема управления лампами
При сборке посадочных мест может возникнуть проблема с гнездами для ламп (сложно найти в продаже). Их можно собрать самостоятельно из других разъемов, использовав медные трубки с продольными разрезами. Или, как вариант, припаять напрямую (как микросхему). Но тогда, будет сложно ее заменить при выходе из строя.
Сами часы (блок управления) – микроконтроллер ATMega8
Чтобы логику работы можно было адаптировать под свои нужды, можно использовать программируемый контроллер, например, Mega8.
В качестве задающего генератора было решено использовать DS1307 (это часы реального времени, которые работают в качестве ведомого устройства).
Для дополнительного функционала был подключен термометр DS18B20.
Итоговая схема выглядит следующим образом.

Рис. 5. Итоговая схема устройства
Обратите внимание, в схему включены светодиоды подсветки, они установлены прямо под лампами и создают необходимый антураж. Цвет можно подобрать под лампы – предпочтительно белый или красный. Последний идеально сочетается с лампами ИН-8 и ИН-17, которые использовались в данном приборе.
Логика работы
После сборки часов и установки прошивки (исходники ниже во вложениях) на Mega8 получается следующий функционал:
1.Кнопка "Меню" после кратковременного нажатия меняет текущий режим работы - просто время/время (показывается 2 минуты)-дата (10 сек.)/время-температура (2 мин/10 сек)/время-дата-температура (2мин/10сек/10сек).
2.Длительное нажатие на "Меню" - переход в режим настройки даты/времени (смена настраиваемого элемента – короткое нажатие "Меню").
3.Кнопка "Up" при кратковременном нажатии показывает дату (2 секунды).
4.Длительное нажатие "Up" - включение/отключение светодиодов подсветки.
5.Кнопка "Down" показывает температуру на 2 секунды (на длительное нажатие функции нет).
В исходном коде можно изменить время приглушенного света (по умолчанию это промежуток с полуночи до 7 утра). В настройках этот параметр не меняется.
Расстановка фьюзов на изображении ниже.

Рис. 6. Расстановка фьюзов
В собранном виде часы выглядят так.

Рис. 7. Внешний вид устройства
Архив со схемами находится здесь.
Автор: RadioRadar
