Клавишные выключатели со световой индикацией находят широкое применение в бытовых и промышленных электроприборах для коммутации электрических нагрузок сетевого напряжения. В этих выключателях индикаторную цепь, включённую параллельно нагрузке, образуют миниатюрная лампа тлеющего разряда (неоновая) с токоограничительным резистором (см. Юшин А. Клавишные выключатели со световой индикацией. - Радио, 2005, № 5, с. 52).
В клавишных сетевых выключателях, предназначенных для коммутации ламп освещения, аналогичная цепь подключена параллельно контактам выключателя и индикаторная лампа, наоборот, светит при выключенной нагрузке. Эти схемные решения предельно просты и исключительно экономичны.
Однако они имеют и существенный недостаток. При номинальном сопротивлении токоограничительного резистора срок службы лампы достигает нескольких лет непрерывной работы, но яркость её свечения в ряде практических случаев применения оказывается недостаточной. Повысить яркость можно увеличением тока через лампу, но при этом резко снижается её долговечность. Поэтому нередко можно встретить исправный выключатель с вышедшим из строя индикатором.

Рис. 1
Одним из вариантов выхода из положения является замена неисправной неоновой лампы светодио-дом с включённым встречно параллельно обычным кремниевым диодом, как показано на схеме рис. 1. В качестве примера рассмотрим процесс доработки популярного клавишного сетевого выключателя фирмы Legrand (рис. 2)

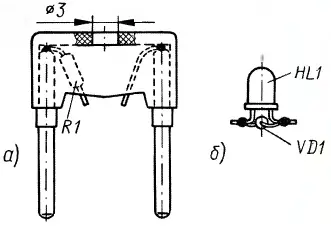
Порядок удаления неоновой лампы и монтажа на её место светодиода проиллюстрирован на рис. 3. С выключателя снимают декоративную переднюю панель, и из подклавишно-го коромысла шилом или тонкой отверткой извлекают индикаторную вилку. Лампу пинцетом вытаскивают из ниши индикаторной вилки и боко-резами откусывают её выводы возле корпуса (рис. 3,а).

Рис. 3
Далее в центре верхнего торца вилки сверлят отверстие диаметром 3 мм и в нишу напротив отверстия помещают светодиод с укороченными и согнутыми, как показано на рис. 3,6, выводами и с припаянным к ним диодом Вместо удалённой лампы к её оставшимся выводам припаивают выводы светодиодного индикатора.
На штыри вилки подают сетевое напряжение и убеждаются в достаточности яркости световой индикации. Остаётся светодиод протолкнуть вглубь ниши вилки таким образом, чтобы он вошёл в подготовленное отверстие и его выводы спрятались в нише, после чего индикатор устанавливают в выключатель.
Чтобы сохранить цвет и яркость световой индикации при номинале токоограничительного резистора 390 кОм в сетевом выключателе "Legrand", я применил светодиод повышенной яркости зелёного свечения L-934SGC. Вместо КД102А подойдут диоды КД102Б, КД104А.
Практически ничем не отличается процесс доработки сетевого выключателя "Legrand" с двумя клавишами. Светодиоды в этом случае можно выбрать разного цвета.
Автор: Е. КОНДРАТЬЕВ, г. Москва
