Во время автопутешествий, жизни в палатках хорошо зарекомендовали себя преобразователи для газоразрядных ламп. Батарейное освещение - вещь очень дорогая. Гораздо дешевле использовать в качестве источника энергии автомобильный аккумулятор. Лампы накаливания в 10 или 15 Вт практически достаточно для освещения внутри палатки. В то же время, при одной и той же энергии световой поток от газоразрядной лампы существенно больше, поскольку ее КПД гораздо выше, чем у традиционной лампы накаливания. Кроме того, дополнительное преимущество газоразрядной лампы состоит в том, что источник света - не точечный, так что освещение будет более равномерным.
Привожу описание двух преобразователей для газоразрядных ламп; для обоих необходимо напряжение питания 12В. Первый из них используется для ламп мощностью 6 Вт, а второй - для ламп 18 Вт.

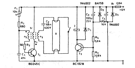
Рис. 1. Принципиальная схема преобразователя для газоразрядных ламп 6 Вт
Преобразователь для газоразрядных ламп 6 Вт. Его принципиальная схема приведена на рис.1. Конденсатор С1 заряжается через резисторы Р1 и R1. Когда напряжение на конденсаторе достигает около 0,6 В, открывается транзистор Т1. Появившийся ток коллектора создает с помощью обмотки п1 магнитное поле. Под действием изменений магнитного потока в обмотке п2 индуцируется напряжение, которое добавляется к напряжению, имеющемуся на конденсаторе С1. Течение процесса обеспечивается надлежащим подключением начала и конца обмотки n2. С увеличением тока базы транзистор Т1 оказывается в состоянии насыщения; увеличение тока коллектора прекращается. Вместе с этим прекращается рост магнитного потока в сердечнике трансформатора. Раз магнитный поток перестает изменяться, индуцированное напряжение не возникает. Ток базы транзистора Т1 резко падает. Вследствие этого уменьшается и ток коллектора. Как только магнитный поток начинает уменьшаться, индуцируемое на концах обмотки обратной связи напряжение меняет полярность,поэтому оно вычитается из напряжения на конденсаторе С1. Транзистор Т1 закрывается. Вследствие наличия положительной обратной связи, процессы открывания и закрывания происходят очень быстро. Описанный процесс повторяется периодически. Частота колебаний зависит от сопротивления потенциометра Р1. Чем меньше сопротивление, тем больше ток зарядки и, следовательно, тем выше частота колебаний. Величина сопротивления R2 определяет ток базы транзистора Т1. С помощью этого сопротивления коэффициент полезного действия блокинг-генератора можно настроить на оптимальную величину. Форма сигнала на коллекторе транзистора схематически показана на рис.2.

Рис. 2. Форма сигнала на коллекторе транзистора T1
Трансформатор Тr наматывается на ферритовом сердечнике. В опытном экземпляре прибора был использован горшковый (сегментный) сердечник с диаметром 26 мм, АL=630, фирмы "Siemens". В этом случае частота колебаний для использованных газоразрядных ламп составляла 40 кГц. Последовательность намотки обмоток трансформатора показана на рис.3. Обмотка nЗ обеспечивает напряжение "зажигания" для газоразрядной лампы. Емкость конденсатора С2 определяет величину протекающего в лампе тока. Чем больше эта емкость, тем меньше емкостное сопротивление ХC и, следовательно, тем больше протекающий в лампе ток. С ростом тока увеличивается и величина светового потока, испускаемого лампой.

Рис. 3. Последовательность намотоки обмоток трансформатора
Газоразрядная лампа представляет собой, по сути дела, заполненную газом разрядную трубку. В ней возникает газовый разряд низкого давления. УФ-излучение преобразуется в видимый свет с помощью люминесцирующего порошка, нанесенного на стенки лампы. Преимущества газоразрядных ламп в том, что их срок службы гораздо больше, чем у ламп накаливания, и при одинаковой потребляемой мощности количество испускаемого света (световой поток) у люминесцентных ламп также гораздо больше.
В отношении работы этих ламп необходимо обратить внимание на следующее. Для возбуждения разряда необходимо так называемое напряжение зажигания. После зажигания разряда по мере увеличения тока необходимо снижать величину напряжения, прикладываемого к клеммам лампы. При работе лампы в обычной сети эту задачу выполняет включенный последовательно с ней дроссель.
В нашем случае это обеспечивается блокинг-генератором. Для запуска лампы существует много возможностей. Суть метода "холодного запуска" в том, что в момент подключения на лампу подается в 5...10 раз большее напряжение. После зажигания лампы на ней оказывается напряжение нормального "горения".
Вторым, гораздо более надежным, является способ "горячего зажигания". В этом случае разогреваются нити накала, находящиеся на концах газоразрядной лампы; затем, в момент их выключения, на лампу подается импульс напряжения, который ее и зажигает. Время задержки обеспечивается специальной лампой тлеющего разряда (стартером), который применяется при использовании ламп в электросети. Недостаток этого метода в том, что срок службы лампы уменьшается. Другим существенным моментом является то, что длительный накал нитей лампы значительно уменьшает КПД преобразователя.
Все эти моменты учитываются в транзисторном блоке зажигания. В момент включения незаряженный электролитический конденсатор СЗ образует своего рода короткое замыкание. Этот конденсатор начинает заряжаться через резистор R4 и переход база-эмиттер транзистора Т2. Возникший под влиянием тока базы ток коллектора приводит к срабатыванию реле J. Контакты реле замыкают электроды газоразрядной лампы, и они разогреваются. Как только конденсатор СЗ заряжается, ток базы транзистора Т2 исчезает. Реле размыкается; возникший на обмотке пЗ скачок напряжения зажигает лампу. Резистор R3 способствует полному закрыванию транзистора Т2. Диод D1 защищает транзистор Т2 от индуктивных скачков напряжения, возникающих в момент выключения реле.

Рис. 4. Печатная плата преобразователя для газоразрядных ламп 6 Вт
Данный преобразователь имеет защиту от подключения аккумулятора с неправильной полярностью. При перемене полярности открывается диод D3 и перегорает предохранитель Bi.

Рис. 5. Схема размещения деталей преобразователя для газоразрядных ламп 6 Вт
Печатная плата преобразователя для газоразрядных ламп 6 Вт приведена на рис.4; схема размещения деталей на ней показана на рис.5. Те дорожки, по которым проходит большой ток, должны иметь увеличенную ширину и быть хорошо залужены. Для улучшения теплоотвода между радиатором (рис.6) и переключающим транзистором Т1 наносится тонкий слой силиконовой смазки. В опытном образце было использовано герконовое реле с сопротивлением обмотки 1 кОм на рабочее напряжение 12 В (типа MGR04-А3). Естественно, здесь можно использовать и другие реле с подобными параметрами. Правда, вследствие другого расположения выводов, необходимо будет несколько модифицировать печатную плату. Во избежание возможных пробоев выводы обмоток трансформатора изолируются тонкими пластиковыми трубками.

Рис. 6. Конструкция радиатора
Параметры трансформатора приведены в табл.1. Горшкообразный сердечник привинчивается к плате медным или алюминиевым винтом. Между сердечником и печатной платой помещается резиновая прокладка - крепление сердечника будет упругим, и он не будет трескаться.
Табл. 1
| Номер обмотки | Число витков | Диаметр провода, мм | Примечание |
|---|---|---|---|
| n1 | 17 | 0,6 | Между обмотками n1 и n2 - изоляция из двух слоев трансформаторной бумаги 0,02 мм |
| n2 | 4 | 0,35 | |
| n3 | 140 | 0,3 |
Преобразователь для газоразрядных ламп можно разместить в пластмассовом корпусе. Во избежание подключения преобразователя в неправильной полярности целесообразно установить на конце кабеля питания разъем от "прикуривателя".

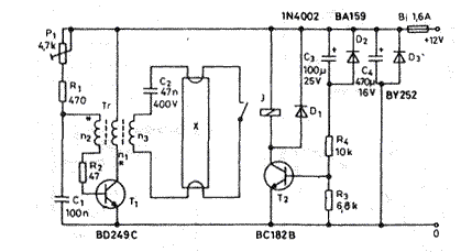
Рис. 7. Принципиальная схема преобразователя для газоразрядных ламп 18 Вт
Настройка прибора очень проста. На собранный преобразователь подается напряжение питания 12 В от блока питания или автомобильного аккумулятора. Замеряется потребляемый ток, и с помощью потенциометра Р1 его величина устанавливается равной 200...220 мА. В этом случае сила света газоразрядной лампы будет довольно значительной. Работа преобразователя была проверена с лампами разных типов; во всех случаях он работал нормально. Необходимо следить, чтобы напряжение аккумулятора находилось в диапазоне 10...14 В; лампа зажигается надежно, и ее световой поток не меняется.

Рис. 8. Последовательность намотоки обмоток трансформатора
Преобразователь для газоразрядных ламп 18 Вт. Его схема приведена на рис.7, и она полностью такая же, как и схема на рис.1; отличаются только типы и номиналы деталей. Естественно, и принцип действия у них одинаков. Поскольку используется лампа 18 Вт, переключающий транзистор должен быть более мощным; горшкообразный сердечник трансформатора также имеет большие размеры. Последовательность обмоток трансформатора схематически показана на рис.8; число витков обмоток и диаметр провода приведены в табл.2. Увеличение ферритового сердечника привело к необходимости модификации печатной платы. Печатная плата преобразователя для газоразрядных ламп 18 Вт приведена на рис.9, а схема размещения деталей на ней - на рис.10. Нити накала газоразрядной лампы 18 Вт имеют большую площадь, а поэтому для надежного зажигания необходимо больше времени, вследствие чего резистор R4 имеет большее сопротивление.

Рис. 9. Печатная плата преобразователя для газоразрядных ламп 18 Вт
Преобразователь для ламп 18 Вт настраивается точно так же как и для ламп 6 Вт. Потенциометром Р1 устанавливается ток 1,1...1,3 А. В этом случае частота колебаний преобразователя примерно равна 10 кГц, а лампа имеет значительную светоотдачу. При такой настройке и напряжении питания в диапазоне 10...14 В лампа надежно зажигается, а световой поток практически равномерен. Данный преобразователь был испытан с лампами разных типов и со всеми хорошо работал.

Рис. 10. Схема размещения деталей преобразователя для газоразрядных ламп 18 Вт
Табл. 2
| Номер обмотки | Число витков | Диаметр провода, мм | Примечание |
|---|---|---|---|
| n1 | 12 | 0,9 | Между обмотками n1 и n2 - два слоя изолирующей трансформаторной бумаги 0,02 мм; между обмотками n2 и n3 - три слоя этой же бумаги |
| n2 | 4 | 0,4 | |
| n3 | 135 | 0,4 | |
| Сердечник: N22 AL600, диаметром 35 мм | |||
Rediotechnika Evkonyve 2000. Перевод А.Бельского.
