При проведении строительных и ремонтных работ нелишней будет информация о наличии и месторасположении различных металлических предметов (гвоздей, труб, арматуры) в стене, полу и т.д. Поможет в этом устройство, описание которого приводится ниже.
Принцип работы устройства основан на свойстве металлических предметов вносить затухание в частотозадающий LC-контур автогенератора. Режим автогенератора устанавливают вблизи точки срыва генерации, и приближение к его контуру металлических предметов (в первую очередь ферромагнитных) заметно снижает амплитуду колебаний или приводит к срыву генерации. Если индицировать наличие или отсутствие генерации, то можно определять месторасположение этих предметов.
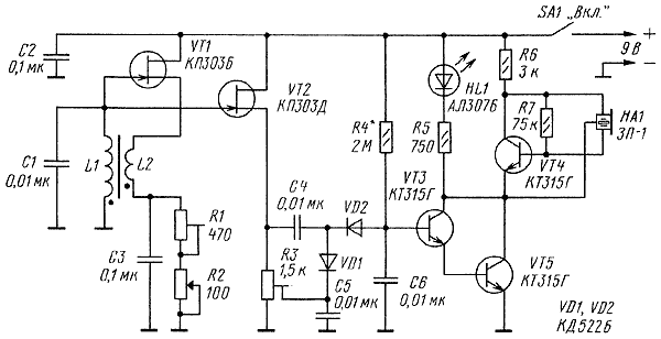
Схема устройства приведена на рис.1. Оно имеет звуковую и световую индикацию обнаруженного предмета. На транзисторе VT1 собран ВЧ автогенератор с индуктивной связью. Частотозадающий контур L1C1 определяет частоту генерации (около 100 кГц), а катушка связи L2 обеспечивает необходимые условия для самовозбуждения. Резисторами R1 (грубо) и R2 (плавно) устанавливают режим работы генератора. На транзисторе VT2 собран истоковый повторитель, на диодах VD1, VD2 - выпрямитель, на транзисторах VT3, VT5 - усилитель тока, а на транзисторе VT4 и пьзоизлучателе BF1 - звуковой сигнализатор.

Рис.1. Принципиальная схема детектора
При отсутствии генерации ток, протекающий через резистор R4, открывает транзисторы VT3 и VT5, поэтому светодиод HL1 будет светить, а пьезоизлучатель издавать тональный сигнал на резонансной частоте пьезоизлучателя (2...3 кГц). Если ВЧ автогенератор будет работать, то его сигнал с выхода истокового повторителя выпрямляется и минусовое напряжение с выхода выпрямителя закроет транзисторы VT3, VT5. Светодиод погаснет, звучание сигнализатора прекратится.
При приближении контура к металлическому предмету амплитуда колебаний в нем будет уменьшаться, либо генерация сорвется. В этом случае минусовое напряжение на выходе детектора будет снижаться и через транзисторы VT3, VT5 начнет протекать ток. Светодиод зажжется, раздастся звуковой сигнал, что укажет на наличие вблизи контура металлического предмета. Причем со звуковым сигнализатором чувствительность устройства выше, поскольку он начинает работать при токе в доли миллиампера, в то время как для светодиода необходим значительно больший ток.
Вместо указанных на схеме, в устройстве можно применить транзисторы КПЗ0ЗА (VT1), КПЗ03В, КП303Г, КП303Е (VT2), КТ315Б, КТ315Д, КТ312Б, КТ312В (VT3-VT5) с коэффициентом передачи тока не менее 50. Светодиод - любой с рабочим током до 20 мА, диоды VD1, VD2 - любые из серий КД503, КД522. Конденсаторы - серий КЛС, К10-17, переменный резистор - СП4, СПО, подстроечные - СПЗ-19, постоянные - МЛТ, С2-33, Р1-4. Устройство питается от батареи с общим напряжением 9 В. Потребляемый ток составляет 3...4 мА, когда светодиод не горит, и возрастает примерно до 20 мА, когда он зажигается. Если прибором пользоваться не часто, то выключатель SA1 можно не устанавливать, подавая напряжение на устройство подсоединением батареи питания.
Конструкция катушки индуктивности автогенератора показана на рис. 2 - она аналогична магнитной антенне радиоприемника. На круглый стержень 1 из феррита диаметром 8...10 мм и проницаемостью 400...600 надевают бумажные гильзы 2 (2...3 слоя плотной бумаги), на них наматывают виток к витку проводом ПЭВ-2 0,31 катушки L1 (60 витков) и L2 (20 витков) - 3. Намотку при этом надо проводить в одном направлении и правильно подсоединить выводы катушек к автогенератору. Кроме того, катушка L2 должна перемещаться по стержню с небольшим трением. Обмотку на бумажной гильзе можно закрепить скотчем.

Рис.2. Конструкция катушки индуктивности автогенератора
Большинство деталей размещают на печатной плате (рис.3) из двусторонне фольгированного стеклотекстолита. Вторая сторона оставлена металлизированной и используется в качестве общего провода. Пьезоизлучатель размещен на обратной стороне платы, но его надо изолировать от металлизации с помощью изоленты или скотча.

Рис.3. Печатная плата
Плату и батарею размещают в пластмассовом корпусе, причем катушку устанавливают ближе к стенке (рис.4). Для повышения чувствительности устройства плату и батарею надо разместить на расстоянии нескольких сантиметров от катушки. Максимальная чувствительность будет с той стороны стержня, на которой намотана катушка L1. Мелкие металлические предметы удобнее обнаруживать с торца катушки, это позволит более точно определять их месторасположение.

Рис.4. Конструктив устройства
Макет устройства имел следующие параметры по обнаружению: большие металлические предметы - 8...10 см, труба диаметром 15 мм - 6...8 см, винт М5х25 - З...4см, гайка М5 - 2,5...3 см, винт М2,5х10 - 1...1,5 см.
Налаживают устройство в следующей последовательности. Сначала подбирают резистор R4. Для этого временно отпаивают один из выводов диода VD2 и устанавливают резистор R4 такого сопротивления (максимально возможного), чтобы на коллекторе транзистора VT5 было напряжение 0,8...1 В. При этом светодиод должен светить, а звуковой сигнал звучать.
Затем устанавливают движок резистора R3 в нижнее по схеме положение и припаивают диод VD2, а катушку L2 отпаивают После этого транзисторы VT3, VT5 должны закрыться (светодиод погаснет). Аккуратно перемещая движок резистора R3 вверх по схеме, добиваются открывания транзисторов VT3, VT5 и включения сигнализации.
После этого устанавливают движки резисторов R1, R2 в среднее положение и припаивают катушку L2. При приближении L2 вплотную к L1 должна возникнуть генерация, а сигнализация выключиться. Катушку L2 удаляют от L1 и добиваются момента срыва генерации, а резистором R1 ее восстанавливают. При этом надо стремиться, чтобы катушка L2 была удалена на максимальное расстояние, а резистором R2 можно было бы добиваться срыва и восстановления генерации. Затем устанавливают генератор на грани срыва и проверяют чувствительность устройства.
Автор: И.НЕЧАЕВ, г.Курск
