В широко распространенных ныне переносных магнитолах производства стран Юго-Восточной Азии и некоторых стран Европы используются коллекторные двигатели постоянного тока (КДПТ) со встроенными регуляторами частоты вращения (с правым или левым вращением) на напряжение 6, 9 и 12В.

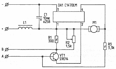
Рис. 1. Регулятор частоты двухскоростного электродвигателя на напряжение 12 В
Надежность этих стабилизаторов, мягко говоря, оставляет желать лучшего, и они довольно часто (особенно при интенсивной эксплуатации) выходят из строя. Стоимость двигателей в сборе довольно существенна. По моему мнению, проще заменить интегральную микросхему стабилизатора. Для упрощения ремонта и возможной модернизации привожу принципиальные схемы наиболее часто встречающихся КДПТ фирм "Matsuschita" и "Mabushi". На рис.1 - регулятор частоты двухскоростного электродвигателя на напряжение 12 В, на рис.2 - односкоростного, на 9 В. Схемы составлены непосредственно по печатным платам стабилизаторов. Включение дополнительных элементов для регулировки скорости вращения в первой схеме показано на рис.3.

Рис. 2. Регулятор частоты односкоростного электродвигателя на напряжение 9 В
Направление вращения вала КДПТ определяется по обозначению в правом нижнем углу заводской таблички: двигатель левого вращения обозначается CCW ("contra clock way" - "против часовой стрелки"), правого вращения - CW ("clock way" - "по часовой стрелке").Описанные здесь стабилизаторы можно использовать и в отечественных кассетных магнитофонах и магнитолах взамен устаревших регуляторов РЧВ-1-02 и РС-1-09. К сожалению, примененные в них интегральные микросхемы не имеют отечественных аналогов.

Рис. 3. Включение дополнительных элементов для регулировки скорости вращения
Автор: В.ХАРЬКОВСКИЙ, г. Лиски, Воронежской обл.
