Предлагаемое устройство предназначено для сигнализации при попытке вскрытия дверей, капота или багажника автомобиля. При разработке учитывались отказы некоторых импортных охранных систем при эксплуатации в российских условиях. Схема сигнализации приведена на рис.1. Система ставится на охрану при помощи магнитного брелока. Включение подтверждается подачей короткого акустического сигнала и зажиганием мигающего светодиода.

Рис. 1. Принципиальная схема автосигнализации
Акустический сигнал при срабатывании охраны подает пьезосирена НА1 любого типа с периодичностью 24 с - сигнал, 24 с - пауза. Одновременно лампой HL1 (21...55 Вт), установленной в салоне,подается световой сигнал с периодичностью 1 с.
Напряжение питания от бортовой сети автомобиля постоянно подается через предохранитель FU1 на стабилизатор R14-VD8-C7-C8 и микросхему DD1. При воздействии магнитного брелока на геркон К4.1, импульс напряжения высокого уровня поступает на вход С (вывод 11) элемента DD1.2, на котором собрана схема подавления дребезга. С ее выхода сигнал проходит на счетный триггер DD1.1 и переводит его в единичное состояние. Высокий уровень с контакта 1 DD1.1 подается на базы VT3 и VT4. Через VT4 включается мигающий светодиод VD9, сигнализируя о постановке системы на охрану.
К эмиттеру VT3 подключена линейка датчиков SB1...SB7. Все датчики - контактного типа, и при срабатывании замыкаются "на массу". При этом открывается VT3, и срабатывает реле К1. Его контакты К1.1 замыкаются, и напряжение питания +9 В подается на DD2. На микросхеме DD2 собраны два мультивибратора. Мультивибратор на DD2.1, DD2.2 обеспечивает импульсный режим включения сигнальной лампы HL1 через VT1 и реле КЗ. Второй генератор на DD2.3, DD2.4 определяет периодичность включения звукового сигнала НА1 через VT2 и реле К2. Длительность сигнала определяется элементами С5, R9, а паузы - С4, R7.
Импульсный генератор для сигнала "Пик" (постановки на охрану) собран на DD3.1 и DD3.2. Напряжение питания DD3 подается от контактов геркона. Длительность сигнала - около 0,5 с.

Рис. 2. Печатная плата автосигнализации
Устройство собрано на печатной плате, чертеж которой изображен на рис.2. Ток потребления устройства в режиме "ожидания" определяется стабилизатором и микросхемой DD1 и примерно равен 14 мА.
Датчики дверей SB1 ...SB4 - штатные, контактного типа; датчики капота и багажника SB5, SB6 - специальные, также контактного типа. Датчик наклона SB7 - самодельный. Он обеспечивает срабатывание сигнализации при несанкционированном наклоне автомобиля в любой плоскости (поддомкрачивание).

Рис. 3. Схема датчика качания первого типа
Рассмотрим два типа датчиков качания, применяемых в таких системах. Один (рис.3) состоит из двух кольцевых анизотропных магнитов, в магнитное поле которых помещена катушка, содержащая 12000... 15000 витков провода 00,01 мм. Нижний магнит жестко закреплен на основании, верхний может перемещаться на стержне. Изменяющееся магнитное поле при наклоне верхнего магнита изменяет величину сигнала в катушке. Снятый сигнал, обычно через компаратор и формирователь, подается в цепь включения сирены. Применяемая некоторыми автолюбителями в качестве датчика качания измерительная головка от магнитоэлектрических приборов, во-первых, ориентирована только в одной плоскости, определяемой осью вращения рамки, во-вторых, сама головка не рассчитана на эксплуатацию в условиях ударов и вибраций, да еще с утяжеленной стрелкой.
Другой тип датчика (рис.4) - с ртутным контактом. Датчик состоит из слегка изогнутой металлической трубки 1, закрытой с двух сторон винтовыми пластмассовыми пробками 2, герметизированными эпоксидным компаундом. Через пробки пропущены металлические электроды-контакты 3. Один конец сигнальной цепи присоединен к трубке, второй соединяет оба контакта. В трубке находится небольшой шарик ртути 4 от медицинского термометра (около 0,5 г). При легком наклоне (менее 10°) шарик, перекатываясь, замыкает один из электродов-контактов, подавая сигнал в систему. Датчик установлен по диагонали относительно продольной оси автомобиля.

Рис. 4. Схема датчика качания второго типа
В данном устройстве применена одна сигнальная лампа (21...55 Вт), установленная внутри салона. Эффект от сигнализации одинаков, но сберегаются нити ламп стояночного света, для которых импульсный режим включения резко уменьшает срок службы.

Рис. 5. Схема датчика качания третьего типа
Не советую вводить цепи блокировки зажигания, они почему-то отказывают в первую очередь и в самом неудобном месте.

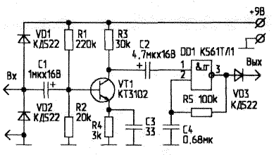
Рис. 6. Принципиальная схема однокаскадного согласующего усилителя
Для любителей "квохтания" автомобиля по каждому поводу, будь то кошка на капоте или упавшая веточка, предлагаю датчик сотрясения (удара). Конструкция датчика показана на рис.5. Чувствительным элементом является круглая пластинка с нанесенным на нее с одной стороны пьезочувствительным слоем. Можно использовать пьезоэлемент ЗП со снятым защитным корпусом. Пластинка одним краем укреплена на стойке, а к диаметрально противоположному краю приделана пружинка. Провода припаяны к стойке и середине пластинки. При вибрации пружинки происходит микродеформация пьезослоя, и на его поверхности возникает ЭДС. Снятый сигнал подается через диодный ограничитель и однокаскадный согласующий усилитель (рис.6) на транзисторе VT1 (h21э>ЗОО) на вход управляемого RC-генератора на триггере Шмитта. С выхода генератора прямоугольные импульсы проходят в цепь управления звуковым сигналом. Брелок выполнен из небольшого анизотропного магнита, зашитого в чехол из мягкой кожи или в сувенирную игрушку. Геркон К4.1 (рис.1) с подпаянными проводниками можно поместить в пластмассовую трубку и укрепить внизу ветрового стекла, замаскировав наклейкой.
Источники
- Андрианов В.И. Соколов А.В. Автомобильные охранные системы. - С.-Петербург, 2000.
- Банников В. Диоды в генераторах и формирователях на микросхемах. - Радиолюбитель, 2001, N4, С.20.
- ЧИП и ДИП. Электронные компоненты и приборы: Каталог. - 2000, С. 100.
Автор: И.Семенов,
г.Дубна, Московской обл.
