Материал предоставлен журналом
Автомобилистам хорошо известно, насколько важна правильная установка начального момента зажигания, а также исправная работа центробежного и вакуумного регуляторов опережения зажигания. Неправильная установка момента зажигания всего на 2-3° и неисправности регуляторов могут явиться причиной повышенного расхода топлива, перегрева двигателя потери мощности и могут даже сократить срок службы двигателя.
Однако проверка и регулировка системы зажигания являются довольно сложными операциями, которые не всегда доступны даже опытному автолюбителю.
Автомобильный стробоскоп позволяет упростить обслуживание системы зажигания. С его помощью даже малоопытный автолюбитель может в течение 5-10 мин проверить и отрегулировать начальную установку момента зажигания, а также проверить исправность центробежного и вакуумного регуляторов опережения.
Работа стробоскопа основана на так называемом стробоскопическом эффекте. Суть его состоит в следующем: если осветит движущийся в темноте объект очень короткой яркой вспышкой, он зрительно будет казаться как бы неподвижно “застывшим’ в том положении, в каком его застала вспышка. Освещая, например, вращающееся колесо вспышками, следующими с частотой, равной частоте его вращения, можно зрительно остановить колесо, что легко заметить по положению какой - либо метки на нем.
Для установки момента зажигания запускают двигатель на холостые обороты и стробоскопом освещают специальные установочные метки. Одна из них - подвижная - размещена на коленчатом валу (либо на маховике, либо на шкиве привода генератора), а другая - на корпусе двигателя. Вспышки синхронизируют с моментами искрообразования в запальной свече первого цилиндра, для чего емкостный датчик стробоскопа крепят на ее высоковольтном проводе.
В свете вспышек будут видны обе метки, причем, если они находятся точно одна против другой, угол опережения зажигания оптимален, если же подвижная метка смещена, корректируют положение прерывателя-распределителя до совпадения меток.
Основным элементом прибора является импульсная безынерционная стробоскопическая лампа Н1 типа СШ-5, вспышки которой происходят в моменты появления искры в свече первого цилиндра двигателя. Вследствие этого установочные метки, нанесенные на маховике или шкиве коленчатого вала, а также другие детали двигателя, вращающиеся или перемещающиеся синхронно с коленчатым валом, при освещении их стробоскопической лампой кажутся неподвижными. Это позволяет наблюдать сдвиг между моментом зажигания и моментом прохождения поршнем верхней мертвой точки на всех режимах работы двигателя, т. е. контролировать правильность установки начального момента зажигания и проверять работоспособность центробежного и вакуумного регуляторов опережения зажигания.
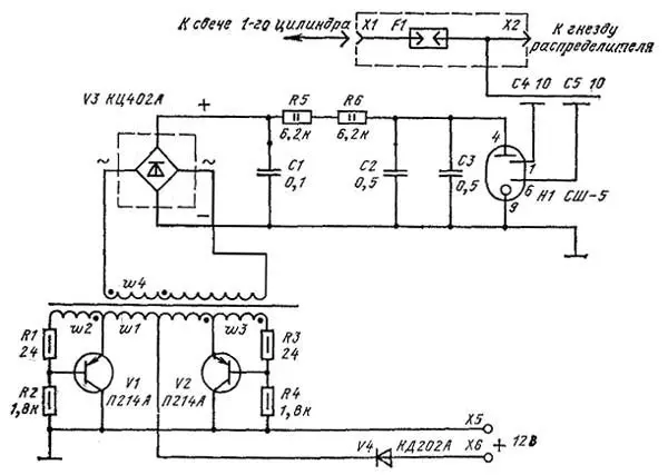
Электрическая принципиальная схема автомобильного стробоскопа приведена на рис. 1. Прибор состоит из двухтактного преобразователя напряжения на транзисторах VI, V2, выпрямителя, состоящего из выпрямительного блока VЗ и конденсатор С1, ограничивающих резисторов R5, R6, накопительных конденсаторов С2, С3, стробоскопической лампы Н1, цепи поджига лампы, состоящей ял конденсаторов С4, C5 и разрядника F1 и защитного диода V4.

Рис.1. Электрическая принципиальная схема автомобильного стробоскопа на германиевых транзисторах.
Прибор работает следующим образом. После подключения выводов Х5, Х6 к аккумулятору начинает работать преобразователь напряжения, представляющий собой симметричный мультивибратор. Первоначальное открывающее напряжение на базы транзисторов V1, V2 преобразователя подается с делителей R2-R1, R4-R3. Транзисторы V1, V2 начинают открываться, причем один из них обязательно быстрее. Это закрывает другой транзистор, так как к его базе при этом с обмотки w2 или wЗ будет прикладываться запирающее (положительное) напряжение. Затем транзисторы V1, V2 поочередно открываются, подключая то одну, то другую половины обмотки w1 трансформатора Т1 к аккумулятору. Во вторичных обмотках w4, w5 при этом индуцируется переменное напряжение прямоугольной формы с частотой около 800 Гц, значение которого пропорционально количеству витков обмоток.
В момент искрообразования в первом цилиндре двигателя высоковольтный импульс от гнезда распределителя через специальную вилку Х2 разрядника и конденсаторы С4, С5 поступает на поджигающие электроды стробоcкопической лампы Н1. Лампа зажигается, и накопительные конденсаторы С2, С3 разряжаются через нее. При этом энергия, накопленная в конденсаторах С2, С3, преобразуется в световую энергию вспышки лампы. После разряда конденсаторов С2, С3 лампа Н1 гаснет, и конденсаторы снова заряжаются через резисторы R5, R6 до напряжения 420-450 В. Тем самым заканчивается подготовка схемы к следующей вспышке.
Резисторы R5, R6 предотвращают закорачивание обмоток w4, w5 трансформатора в момент вспышки лампы диод V4 защищает транзисторы преобразователя при случайном подключении стробоскопа в ошибочной полярности.
Разрядник F1, включенный между распределителем и свечей зажигания, обеспечивает необходимое напряжение высоковольтного импульса для поджига лампы вне зависимости от расстояния между электродами свечи, давления в камере сгорания и других факторов. Благодаря разряднику обеспечивается бесперебойная работа стробоскопа даже при закороченных электродах свечи зажигания.
В случае замены германиевых транзисторов П214А кремниевыми типа КТ837Д(Е) схема преобразователя, да и всего стробоскопа, должна быть существенно изменена. Изменяются данные трансформатора и выдвигаются дополнительные требования к его исполнению. Это связано с тем, что кремниевые транзисторы серии КТ837 более высокочастотны и схема, выполненная на них, склонна к возбуждению. Кроме того, чтобы открыть эти транзисторы, нужно большее напряжение, чем для германиевых транзисторов. Так, например, если в стробоскоп, собранный по схеме рис. 1, впаять вместо транзисторов П214А, например, транзисторы КТ837Д, ничего не изменяя, преобразователь работать не будет, оба транзистора будут закрыты, для того чтобы преобразователь начал работать, сопротивления резисторов R2, R4 надо уменьшить до 200-300 Ом. При этом снижается коэффициент полезного действия преобразователя, а главное, он без каких-либо видимых причин может начать генерировать высокочастотные синусоидальные колебания с частотой 50-100 кГц. питания, предотвращают возникновение высокочастотной генерации.
Мощность, рассеиваемая в транзисторах, резко возрастает, и транзистор через несколько минут выходят из строя.
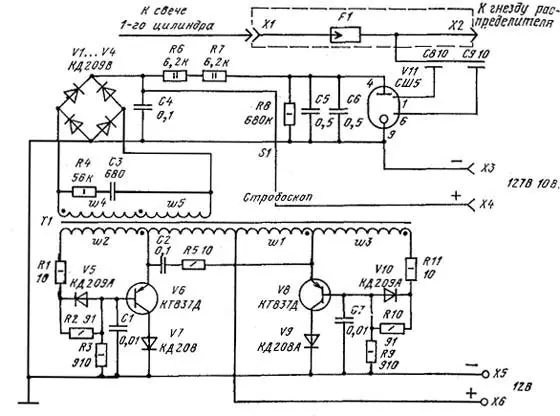
На рис. 2 приведена электрическая принципиальная схема автомобильного стробоскопа на кремниевых транзисторах КТ837д. Мощность, рассеиваемая в транзисторах преобразователя, в данном случае значительно меньше благодаря большему быстродействию транзисторов КТ837Д, и следовательно, большей крутизне фронтов импульсов преобразователя; выше и надежность преобразователя. Рассмотрим особенности этой схемы. Конденсаторы С1, С7, включенные между базами транзисторов преобразователи и минусом источника питания, предотвращают возникновение высокочастотной генерации.

Рис.2. Электрическая принципиальная схема автомобильного стробоскопа на кремниевых транзисторах
Начальное отпирающее смещение на базы транзисторов V6, V7 подается с достаточно высокоомных делителей напряжения R3, R2, R1, R9, R1О, R11 с суммарным сопротивлением около 1000 Ом, нижние плечи которых имеют сопротивление 100 Ом (коэффициент деления 1/10). Однако благодаря диодам V5, V10 базовый ток транзисторов от обмоток w1, w3 протекает через низкоомные резисторы R1, R11 (10 Ом). Таким образом, удается выполнить два противоречивых требования: получить высокоомный делитель для начального смещения при низкоомном резисторе в цепи тока базы.
Цепи С2, R5 и С3, R4 уменьшают до допустимого уровня выбросы напряжения, возникающие при закрывании транзисторов V6, V8, являющиеся следствием их чрезмерного быстродействия. Значения С2, С3, R4, R5 подбираются экспериментально для каждой конкретной конструкции трансформатора Т1. Резистор R8 обеспечивает разряд конденсаторов С4, С5, C6 в промежутках между этими выбросами, благодаря чему напряжение на конденсаторах при остановленном двигателе не превышает нормы. Диоды V7, V9 устраняют обратные выбросы тока коллектора транзисторов V6, V8 в моменты их закрывания. Без этих диодов амплитуда обратного выброса тока достигает 2 А. Кроме того, эти диоды защищают транзисторы V6, V8 в случае ошибочной полярности подключения стробоскопа.
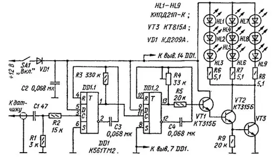
К сожалению, срок службы импульсных ламп невелик, да и приобрести новую, нужного типа непросто. С появлением на рынке отечественных светодиодов с силой света более 2000 мкд (для сравнения - у светодиодов серии АЛЗО7-М при таком же токе значение этого параметра 10...16 мкд) возможным использование их в любительских стробоскопических приборах. В ниже описываемой конструкции использована группа из девяти светодиодов КИПД21П-К красного свечения.
Питают прибор от бортовой сети автомобиля. Диод V1 (см. схему на рис. 3) защищает стробоскоп от ошибочной перемены полярности напряжения питания.

Рис.3. Электрическая принципиальная схема автомобильного стробоскопа на светодиодах.
Емкостным датчиком прибора служит обычный зажим “крокодил”, который прицепляют на высоковольтный провод первой запальной свечи двигателя. Импульс напряжения с датчика, пройдя через цепь С1 R1 R2 поступает на тактовый вход триггера DD1.1, включенного одновибратором.
До прихода импульса одновибратор находится в исходном состоянии, на прямом выходе триггера - низкий уровень, на инверсном - высокий. Конденсатор С3 заряжен (плюс со стороны инверсного выхода), заряжается он через резистор R3. Импульс высокого уровня запускает одновибратор, при этом триггер переключается и конденсатор начинает перезаряжаться через тот же резистор R3 с прямого выхода триггера. Примерно через 15 мс конденсатор зарядится настолько, что триггер будет снова переключен в нулевое состояние по входу R.
Таким образом, одновибратор на последовательность импульсов емкостного датчика реагирует генерацией синхронной последовательности прямоугольных импульсов высокого уровня постоянной длительностью - около 15 мс. Длительность импульсов определяют номиналы цепи RЗСЗ. Плюсовые перепады этой последовательности запускают второй одновибратор, собранный по такой же схеме на триггере DD1.2.
Длительность импульсов второго одновибратора - до 1,5 мс. На это время открываются транзисторы VT1 - VT3, составляющие электронный коммутатор, и через группу светодиодов НL1-НL9 протекают мощные импульсы тока - 0,7...0,8А.
Этот ток значительно превышает паспортное значение максимально допустимого импульсного прямого тока (100 мА), установленное для светодиодов. Однако, поскольку длительность импульсов мала, а их скважность в нормальном режиме не менее 15, перегрева и выхода из строя светодиодов не отмечено. Яркость же вспышек, которую обеспечивает группа из девяти светодиодов, оказывается вполне достаточной для работы со стробоскопом даже днем.
Для того чтобы убедиться в надежности прибора, был проведен контрольный электропрогон светоизлучателя при токе в импульсе 1 А в течение часа. Все светодиоды выдержали испытания, при этом их перегревания не было обнаружено. Заметим, что обычно время пользования прибором не превышает пяти минут.
Экспериментально установлено, что длительность вспышек должна быть в пределах 0,5...0,8 мс. При меньшей длительности увеличивается ощущение недостатка яркости освещения меток, а при большей - увеличивается их “размытость”. Необходимую длительность легко подобрать визуально во время работы со стробоскопом подстроечным резистором R4, входящим во времязадающую цепь R4С4 второго одновибратора.
Назначение первого одновибратора - защитить светодиоды от выхода из строя при случайном увеличении частоты вращения коленчатого вала двигателя в процессе пользования стробоскопом.
Нами была создана модель автомобильного стробоскопа на светодиодном принципе (см. рис. 4 (а, б)). Корпусом является корпус от фонаря.

Рис.4(а). Стробоскоп электрический в сборе.

Рис.4(б). Стробоскоп электрический в сборе.
Испытания собранного прибора были произведены успешно, он используется в гараже Ставропольского Государственного Аграрного Университета.
Функции стробоскопа можно расширить, превратить его тахометр. Т.к. многие автомобили старого образца, которые еще эксплуатируются, не имеют данного прибора на щитке водителя.
С этой целью собран генератор регулируемой частоты (ГРЧ) следования импульсов 10 – 15 Гц, что соответствует частоте вращения коленчатого вала в пределах 600-900 об / мин. В этом диапазоне и лежит обычно минимальная частота вращения коленчатого вала двигателя при холостых оборотах, при которой производится настройка начального угла опережения зажигания.
Рукоятку переменного резистора включенного в частотозадающую цепь RC генератора снабдили шкалой проградуированной с помощью лабораторного цифрового частотомера.
Выходной сигнал ГРЧ поступает на вход вместо датчика на вход стробоскопа.
Автомеханик, подключив прибор, направляет прерывистый световой поток, как и в предыдущем случае настройки зажигания на шкив коленчатого вала и в случае необходимости регулирует ее до значения, указанного заводом-изготовителем для данного транспортного средства.
После настройки частоты вращения коленчатого вала он преступает к настройке момента зажигания по вышеописанной методике см 1-2.
Т.к. точность определения частоты вращения коленчатого вала невысока, то это позволило нам взять такое простое решение, не прибегая к разработке цифрового варианта тахометра.
Список используемой литературы:
- Беляцкий П. Светодиодный автомобильный стробоскоп /П.Беляцкий – "Радио" - 2000 - №9, с. 43
- Синельников А.Х. Электроника в автомобиле/ А.Х. Синельников – Москва: Радио и связь, 1985, с.82
- Ютт В.Е. "Электрооборудование автомобиля" - Москва: Транспорт, 1995
- Чижков Ю.П. Анисимов А.В. "Электрооборудование автомобиля" - Москва: "За рулем", 1999
- Банников С.П. "Электрооборудование автомобиля" - Москва: Транспорт, 1993
- Сига Х. Мидзутани С. "Введение в автомобильную электронику"- Москва: МИР, 1989
