Предлагаемое устройство позволяет перейти от релейного принципа управления вентилятором системы охлаждения двигателя "температура выше нормы - включён, ниже нормы - выключен" к более, по мнению автора, благоприятному для двигателя пропорциональному управлению. Теперь с ростом температуры охлаждающей жидкости частота вращения ротора вентилятора линейно увеличивается.
Сегодня во многих автомобильных двигателях вентилятор охлаждения имеет электрический привод, но управляют им в большинстве случаев по релейному принципу. Такое управление имеет только одно достоинство - простоту реализации. Достаточно иметь датчик температуры с контактным выходом, непосредственно или через промежуточное реле управляющий электродвигателем вентилятора.
Основной недостаток этого метода - резкое снижение температуры охлаждающей жидкости на выходе радиатора после включения вентилятора. Работающий на полную мощность вентилятор понижает температуру охлаждающей жидкости на выходе радиатора на 15...25 оС и более. Поступая в рубашку охлаждения двигателя, существенно охлаждённая жидкость наносит термоудар по горячим поверхностям, что негативно сказывается на работе двигателя. Для его комфортной работы температуру охлаждающей жидкости желательно поддерживать близкой к оптимальной, рекомендуемой заводом-из-готовителем, а резкие скачки температуры (термоудары) должны быть исключены в принципе.
На части автомобилей, имеющих механический привод вентилятора охлаждения, это достигнуто соединением вентилятора с коленчатым валом двигателя через вискомуфту. Она изменяет передаваемый на вал вентилятора крутящий момент в зависимости от температуры охлаждающей жидкости. Это стабилизирует температурный режим.
Предлагаемое устройство представляет собой электронный аналог виско-муфты для вентилятора с электрическим приводом. Оно автоматически регулирует частоту его вращения в зависимости от температуры охлаждающей жидкости.
Устройство работает от бортсети автомобиля при напряжении в ней 10...18 В и может управлять вентилятором с максимальным потребляемым током до 20 А или до 30 А при условии увеличения площади теплоотвода силовых элементов. Собственное потребление тока устройством не превышает нескольких миллиампер. Значения температуры включения вентилятора с минимальной частотой вращения и температуры, при которой частота вращения вентилятора достигает максимума, задают с дискретностью 0,1 оС при программировании микроконтроллера.
При отказе датчика температуры охлаждающей жидкости устройство переходит в аварийный режим, позволяющий безопасно для двигателя доехать до ремонтной мастерской.
Схема устройства изображена на рис. 1. Измеряет температуру цифровой датчик DS18B20 (BK1). Применение этого датчика позволяет отказаться от калибровки изготовленного устройства и улучшает его повторяемость.

Рис. 1. Схема устройства
Информацию о температуре считывает с датчика микроконтроллер ATtiny2313A-PU (DD1), который тактируется импульсами частотой 1 МГц от внутреннего RC-генератора. Пропорционально температуре он регулирует напряжение питания двигателя вентилятора и, следовательно, частоту вращения его ротора. На двигатель поступает импульсное напряжение, постоянная составляющая которого, определяющая частоту вращения, зависит от коэффициента заполнения (отношения длительности импульсов к периоду их повторения). Коэффициент заполнения программа задаёт восьмиразрядными двоичными числами, загружаемыми в регистр сравнения работающего в режиме ШИМ таймера микроконтроллера.
Сформированные микроконтроллером импульсы управляют работой силового ключа на полевом транзисторе VT1, замыкающего и размыкающего цепь питания двигателя вентилятора от бортовой сети автомобиля. При этом постоянная составляющая приложенного к двигателю напряжения равна
U = U0 (N / 255), где U0 - напряжение в бортсети, В; N - число, загруженное в регистр микроконтроллера.
Её можно изменять с шагом ΔU = U0 / 255.
При напряжении в бортсети 12 В ΔU≈0,05 В, что позволяет регулировать частоту вращения вентилятора практически плавно.
Для обеспечения надёжной работы ключевого транзистора VT1 в переходных режимах микроконтроллер управляет им через драйвер TC4420EPA (DA1). Современные полевые транзисторы, имея очень малое сопротивление открытого канала (единицы миллиом), способны коммутировать значительный ток даже без применения теплоотвода. Однако большая входная ёмкость полевого транзистора, доходящая у мощных приборов до нескольких тысяч пикофарад, в процессе его переключения заряжается и разряжается. Это занимает тем больше времени, чем больше выходное сопротивление источника управляющего сигнала.
Плохо то, что в процессе перезарядки ёмкости полевой транзистор находится в активном режиме и сопротивление его канала довольно велико. Поэтому за время переключения в кристалле транзистора выделяется значительная мощность, что может привести к его перегреву и необратимому повреждению. Единственный способ борьбы с этим явлением - ускорение процесса перезарядки. Для этого полевыми транзисторами управляют через специализированные усилители (драйверы), имеющие низкое выходное сопротивление и обеспечивающие большой (до нескольких ампер) импульсный зарядно-разрядный ток. Это обеспечивает быструю перезарядку входной ёмкости полевого транзистора и, следовательно, минимизирует продолжительность его работы в активном режиме и снижает рассеиваемую на нём мощность.
Резистор R4 поддерживает на входе драйвера низкий логический уровень напряжения во время запуска микроконтроллера, пока все его выходы остаются в высокоимпедансном состоянии. Это исключает ненужное в это время открывание транзистора VT1. Диод VD1 устраняет импульсы ЭДС самоиндукции, возникающие в обмотках двигателя вентилятора в моменты закрывания транзистора VT1.
Во время работы программа микроконтроллера постоянно следит за наличием и работоспособностью датчика температуры. Если связи с ним нет, она переходит в аварийный режим работы. В этом режиме независимо от температуры охлаждающей жидкости вентилятор на 33 с будет включён на полную мощность, а затем на такое же время выключен. Конечно, это далеко не оптимальный вариант охлаждения двигателя, но он предотвращает его полный отказ в отсутствие охлаждения. О переходе в аварийный режим сигнализирует включение светодиода HL1. Если нарушение связи с датчиком было временным, после её восстановления устройство переходит в нормальный режим работы.
В программу микроконтроллера для управления вентилятором заложены в виде констант следующие исходные данные:
- Tmin = 87 - температура охлаждающей жидкости, оС, при которой вентилятор должен начинать работать с минимальной частотой вращения;
- Tmax = 92 - температура охлаждающей жидкости, оС, при которой частота вращения вентилятора должна достичь максимального значения;
- N1 = 70 - значение загружаемого в регистр сравнения таймера кода, обеспечивающее вращение ротора вентилятора с минимальной частотой.
Как известно, промышленные датчики, предназначенные для управления работой вентиляторов охлаждения, имеют два основных параметра - температуру включения и температуру выключения. Их и следует выбрать в качестве Tmax и Tmin. Значение N1 нужно задать таким, при котором постоянная составляющая напряжения на двигателе вентилятора равна напряжению его трогания Uтр.
Проблема в том, что напряжение трогания не принято указывать в технических данных вентиляторов, поэтому найти в литературе или в документации значение этого параметра автору не удалось. Его пришлось определять экспериментально. Методика проста - подавая напряжение на двигатель, найти его значение, при котором вал начнёт медленно (оборот за одну-две секунды), но устойчиво вращаться. Для большинства двигателей постоянного тока с номинальным напряжением питания 12 В напряжение трогания лежит в пределах 3...5 В.
При запуске программы микроконтроллер на основании значений Tmax, Tmin и N1 рассчитывает Dn - требуемую крутизну зависимости значения загружаемого регистр сравнения таймера кода от температуры:
Dn = (255 - N1) / (Tmax - Tmin).
Затем начинается главный цикл программы. Прежде всего, происходит проверка связи с датчиком температуры, а при её отсутствии - переход в аварийный режим работы. Такую проверку программа выполняет каждую секунду. Если очередная проверка показывает, что датчик работает, восстанавливается нормальный режим работы.
Когда датчик исправен, он измеряет текущую температуру охлаждающей жидкости T. Если она ниже Tmin, программа выключает вентилятор, в противном случае вычисляет требуемое значение управляющего кода по формуле
N = (T - Tmin)·Dn+N1.
Пропорционально ему будут установлены коэффициент заполнения питающего двигатель напряжения и, следовательно, частота вращения его ротора. В результате температура охлаждающей жидкости при неизменной нагрузке на двигатель поддерживается постоянной. При переменной нагрузке температура колеблется в небольших пределах внутри интервала Tmin...Tmax.
Все детали устройства, за исключением датчика BK1 и светодиода HL1, размещены на печатной плате размерами 58x65 мм, чертёж которой показан на рис. 2, а расположение элементов - на рис. 3.

Рис. 2. Чертёж печатной платы

Рис. 3. Расположение элементов на плате
Микросхемы впаяны непосредственно в плату без панелей, применение которых в условиях повышенной вибрации нежелательно. На плате имеются не показанные на схеме контактные площадки SCK, RST, VCC, MISO, MOSI, GND, к которым на время программирования микроконтроллера припаивают одноимённые провода от программатора. При этом плату и программатор во время программирования следует питать напряжением +5 В (VCC) от одного источника.
Плата рассчитана на установку резисторов и конденсаторов типоразмера 1206 для поверхностного монтажа. Диод SR2040 (URL: http://files.rct.ru/ pdf/diode/5261755198365.pdf (27.06.16)) - в двухвыводном корпусе TO220AC. Вместе с транзистором IRF3808 он закреплён с применением теплопроводной пасты на общем теплоотводе с площадью охлаждающей поверхности около 60 см2.
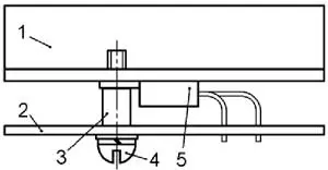
Принцип крепления транзистора 5 или диода к теплоотводу 1 и всего узла к печатной плате 2 показан на рис. 4. Диод изолирован от теплоотвода слюдяной прокладкой, а от крепящего винта 4 и металлической втулки 3 - изоляционной втулкой (изолирующие элементы на рисунке не показаны). Между корпусами диода и транзистора находится третья точка крепления теплоотвода к плате. Здесь он также закреплён винтом и втулкой.

Рис. 4. Принцип крепления транзистора или диода к теплоотводу и всего узла к печатной плате
Все печатные проводники платы, по которым течёт ток двигателя вентилятора, должны быть покрыты слоем припоя толщиной не менее 0,7... 1 мм, а сечение подводящих проводов должно обеспечивать пропускание этого тока.
Светодиод HL1 целесообразно вынести в салон автомобиля, чтобы водитель имел оперативную информацию о текущем режиме работы устройства.
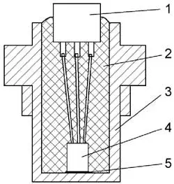
Датчик DS18B20 (ВК1) следует поместить в корпус от штатного контактного датчика температуры охлаждающей жидкости, из которого предварительно следует удалить всю "начинку". Такой корпус можно и выточить из латуни с сохранением габаритных и присоединительных размеров. Размещение датчика DS18B20 в корпусе показано на рис. 5. Датчик 4 с припаянным к его выводам разъёмом 1 помещают в полость корпуса 3 так, чтобы его верхушка, на которую нанесён слой теплопроводной пасты 5, касалась дна полости.

Рис. 5. Размещение датчика DS18B20 в корпусе
После этого полость заливают термостойким герметиком 2.
Разъём 1 должен иметь антикоррозийное покрытие контактов, бытьбрызгозащищённым, надёжно фиксировать ответную часть, не допуская её отстыковки под действием вибрации. Подготовленный датчик устанавливают на место штатного.
Собранная плата помещена в корпус подходящих размеров, который размещён в моторном отсеке автомобиля. В корпусе предусмотрены вентиляционные отверстия.
Микроконтроллер ATtiny2313A может быть заменён другим семейства AVR, имеющим как минимум один 8-разрядный и один 16-разрядный таймер и не менее 2 Кбайт программной памяти. Естественно, замена микроконтроллера потребует перекомпиляции программы и, возможно, изменения топологии печатной платы.
Вместо неинвертирующего драйвера нижнего плеча TC4420EPA можно использовать другой подобный, например, MAX4420EPA.
Диод с барьером Шотки SR2040 можно заменить аналогичным с допустимым обратным напряжением не менее 25 В и допустимым прямым током не менее рабочего тока вентилятора. Однако диоды Шотки с обратным напряжением более 40 В применять не рекомендуется, так как большее прямое падение напряжения на таком диоде приведёт к возрастанию тепловыделения.
Замену полевому транзистору IRF3808 с изолированным затвором и каналом n-типа следует подбирать с опустимым постоянным током стока при температуре 100 °C в 2,5...3 раза больше рабочего тока вентилятора и с сопротивлением открытого канала при рабочем токе вентилятора до 20 А - не более 10 мОм, а 20...30 А - не более 7 мОм. Допустимое напряжение сток-исток должно быть не менее 25 В, а затвор-исток - не менее 20 В.
Правильно собранное из исправных деталей устройство потребует налаживание только в том случае, если исходные данные в прилагаемом варианте программы, о которых было сказано ранее, не соответствуют требуемым. В этом случае их нужно откорректировать в исходном тексте программы, заново откомпилировать его в среде разработки Bascom AVR и загрузить в память микроконтроллера вместо приложенного к статье файла Cooler-test.hex полученный HEX-файл.
Если напряжение трогания двигателя вентилятора неизвестно, его можно определить экспериментально. Для этого в память микроконтроллера вместо рабочей программы нужно загрузить разработанную мной отладочную программу. В приложенном к статье файле Cooler-test.hex содержатся её коды. Конфигурацию микроконтроллера программируют одинаково для рабочей и тестовой программ в соответствии с рис. 6, где показано окно установки конфигурации программатора AVRISP mkII.

Рис. 6. Программирование микроконтроллера
Через 3 с после включения питания программа Cooler-test начинает управлять вентилятором, постепенно увеличивая от 55 до 95 шагами по 5 единиц код, задающий коэффициент заполнения питающего вентилятор импульсного напряжения. Это примерно соответствует изменению постоянной составляющей этого напряжения от трёх до пяти вольт. Длительность каждой ступени - 10 с, в течение которых вентилятор и светодиод HL1 включены, и пауза длительностью 5 с, в течение которой напряжение с вентилятора снято, а светодиод погашен. Об окончании работы программы сигнализирует серия из пяти коротких вспышек светодиода.
Наблюдая за светодиодом, несложно определить, на какой ступени вентилятор начал вращаться, и определить значение N1, которое следует записать в основную программу.
Работу устройства в аварийном режиме проверяют, отключив разъём от датчика температуры. При этом вентилятор должен включиться и работать на полную мощность в прерывистом режиме (33 с - работа, 33 с - пауза). Светодиод HL1 при этом должен светиться. Его желаемую яркость устанавливают подборкой резистора R3.
Программы микроконтроллера можно скачать здесь.
Автор: А. Савченко, пос. Зеленоградский Московской обл.
