В продолжении темы автомобильных охранных систем на микроконтроллерах фирмы MICROCHIP [1], [2] предлагается еще две схемы автомобильных охранных систем на PIC12F629, модернизированных с целью повышения надежности работы как в неблагоприятных климатических условиях, так и в условиях взлома автомобиля, при попытках вывода из строя автомобильной охранной системы.
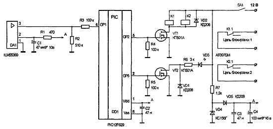
Схема на рис. 1 представляет собой модернизированный вариант автомобильной охранной системы АОС [1] с использованием новой элементной базы. Модернизация коснулась коррекции алгоритма работы охранной системы для микроконтроллера PIC12F629, изменения входных цепей приема сигналов от дверных включателей освещения, концевых выключателей капота и багажника, изменения схемы подключения светодиода.

Рис.1. Принципиальная схема автомобильной охранной системы
Автомобильная охранная система АОСМ выполнена на основе микроконтроллера PIC12F629 фирмы MICROCHIP с энергонезависимой памятью. Наличие энергонезависимой памяти позволяет сохранять текущее состояние АОСМ при нормальном или умышленном отключении питания и переходить в него при восстановлении питания. Изменения алгоритма работы АОС коснулись в основном режима ПОДГОТОВКА [1]. В новом варианте алгоритм работы АОСМ в этом режиме будет следующий:
ПОДГОТОВКА - после высадки пассажиров и закрытия всех дверей, визуальной проверки состояния капота и багажника, водитель, сидя в кабине, включает потайной тумблер питания SA1 (рис. 1) блока АОСМ и, если питание системы АОСМ было выключено водителем в режиме СНЯТИЕ С ОХРАНЫ, то загорится и будет гореть непрерывно светодиод VD1 (рис. 1).
Примечание: если питание системы АОСМ было отключено в режиме ОХРАНА, то при восстановлении питания система АОСМ немедленно перейдет в режим ОХРАНА.
Если питание системы АОСМ было отключено в режиме ОХРАНА после взлома, то при восстановлении питания система АОСМ немедленно перейдет в режим ОХРАНА с блокировкой зажигания.
Если питание блока АОСМ было отключено во время состояния ВЗЛОМ, то при подаче питания система АОСМ немедленно перейдет в режим ВЗЛОМ с соответствующей звуковой сигнализацией. И только после отработки этого режима и перехода в режим ОХРАНА возможен режим СНЯТИЕ С ОХРАНЫ.
Таким образом, попытки умышленного вывода из строя системы АОСМ путем вскрытия капота и снятия проводов с клемм аккумулятора и последующего их подключения, будут сопровождаться звуковой сигнализацией при каждом подключении проводов к аккумулятору в режиме ВЗЛОМ.
Последующий алгоритм работы модернизированной автомобильной охранной системы АОСМ совпадает с алгоритмом работы системы АОС [1].
Изменение входных цепей приема сигналов от концевых датчиков вызвано необходимостью повышения надежности работы охранной системы в условиях повышенной влажности и в зимних условиях. При срабатывании одного из концевых выключателей, катод VD3 или VD4 (рис. 1) [1] замыкается на корпус. Напряжение на одном из входов PIC-контроллера уменьшается при этом с 4...5 В до 0,5...0,7 В за счет падения напряжения на диоде. В этом случае микроконтроллер будет работать в соответствии с алгоритмом работы, приведенным в [1].
При небрежном подключении проводов к концевым выключателям, при окислении контактов выключателей из-за длительной эксплуатации, при применении диодов с повышенным падением напряжения в условиях низкой температуры это напряжение увеличивается и может превысить значение в 0,8 В - порог срабатывания микроконтроллера.
В итоге охранная система не будет становиться на охрану либо не будет реагировать на срабатывание каких-то выключателей. Для исключения подобных ситуаций и проведена доработка входных цепей охранной системы.
Изменена и схема подключения светодиода на тот случай, если взломщику станут доступны провода подключения к светодиоду, и он попытается вывести из строя АОСМ путем подачи на провод, подключенный к катоду светодиода, напряжения величиной, например в 100 В. В этом случае будет выгорать резистор R12, но работоспособность автомобильной охранной системы не будет нарушена. Способ изготовления датчика удара, другие технические подробности приведены в статье [1].
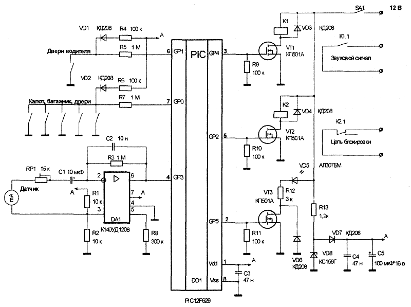
Схема на рис. 2 представляет собой один из вариантов технической реализации иммобилайзера - автомобильной охранной системы с двумя каналами блокировки работы двигателя.

Рис.2. Схема подключения
Иммобилайзер блокирует пуск двигателя при включении зажигания. Постановка на охрану и снятие с охраны осуществляется бесконтактным способом с помощью брелка на ИК-лучах. Схема брелка и описание его работы приведены в [2]. Для передачи команд от брелка блоку иммобилайзера используется 32-разрядный код, индивидуальный для каждого образца автомобильной охранной системы, и фазоимпульсная модуляция инфракрасных лучей.
Включатель SA1 размещается в труднодоступном месте и предназначен для аварийного отключения блока иммобилайзера при выходе его из строя. Сам блок вместе с фотоприемником и реле размещаются за приборной панелью. Фотоприемник прикрепляют изнутри к приборной панели любым способом, предварительно высверлив в месте крепления отверстие диаметром 1...3 мм для прохождения ИК-лучей. Хотя можно предварительно проверить работу иммобилайзера без сверления отверстия. Возможно, мощности излучения брелка хватит для преодоления препятствия в виде стенки приборной панели.
Питание 12 В на блок иммобилайзера подается с электроцепи автомобиля, на которой появляется напряжения при включении зажигания. При выключении зажигания иммобилайзер обесточивается и не потребляет тока от аккумулятора.
Алгоритм работы иммобилайзера следующий:
- ВЫКЛЮЧЕНО - питание блока выключено, и охранная система в этом режиме не влияет на электрооборудование автомобиля.
- ПОДГОТОВКА - при первоначальной подаче питания на блок иммобилайзера загорается и горит непрерывно светодиод VD1. Реле К1 и К2 при этом отключены. Иммобилайзер запоминает это текущее состояние системы в своей энергонезависимой памяти и при последующих отключениях и включениях питания возвращается в это состояние. В это же состояние иммобилайзер переходит и по команде с брелка при снятии с охраны.
- ПОСТАНОВКА НА ОХРАНУ - при включенном зажигании в состоянии ПОДГОТОВКА направить брелок на фотоприемник и нажать кнопку брелка один раз. Система переходит при этом в режим БЛОКИРОВКА.
- БЛОКИРОВКА - в этом режиме светодиод VD1 (рис. 2) мигает с частотой 2 Гц, включаются реле К1 и К2 и своими контактами К1.1 и К2.1 разрывают выбранные цепи блокировки. Иммобилайзер запоминает это текущее состояние системы в своей энергонезависимой памяти и, при последующих отключениях и включениях зажигания, возвращается в это состояние, блокируя работу двигателя.
- СНЯТИЕ С ОХРАНЫ - при включенном зажигании в режиме БЛОКИРОВКА направить брелок на фотоприемник и нажать кнопку брелка один раз. Иммобилайзер перейдет при этом в режим ПОДГОТОВКА.
Во время работы в режиме БЛОКИРОВКА микроконтроллер постоянно проводит контроль наличия сигнала с фотодатчика. При пропадании сигнала с фотодатчика частота мигания светодиода уменьшается с 2 Гц до 0,5 Гц, но блокировка двигателя не снимается при выключении и включении зажигания. Для снятия блокировки двигателя необходимо устранить возникшую неисправность либо отключить питание иммобилайзера выключателем SA1 (рис. 2). При появлении сигнала с фотодатчика частота мигания светодиода возвращается к исходной частоте.
При включении питания и переходе в режим ПОДГОТОВКА микроконтроллер также проводит контроль наличия сигнала с фотодатчика, и при его отсутствии светодиод начинает мигать еще реже с частотой 0,2 Гц, указывая на возникшую неисправность, но не блокируя работу двигателя. Необходимо и в этом случае оперативно устранить возникшую неисправность.
Фотоприемник DA1 типа ILMS5360 можно заменить фотоприемниками SFH506-36, TFMS5360 и т.д. Выключатель SA1 может быть любого типа, желательно малогабаритный.
Реле К1 и К2 - любые реле на 12 В с допустимым током через контакты 8...15 А и более, в зависимости от коммутируемой нагрузки.
Остальные технические подробности работы дистанционного управления на ИК-лучах приведены в статье [2].
За консультацией по поводу работы описанных схем и со своими пожеланиями и предложениями обращаться к автору статьи.
Источники
- "Простая автомобильная охранная система на PIC12C508A", - Радиолюбитель, 2002, №2.
- "Простая автомобильная охранная система на PIC12F629 с дистанционным управлением на ИК-лучах", - Радиолюбитель, 2003, №5.
Автор: Н. КУПРЕЕВ, г. Минск, Тел. 283-30-06, E-mail: oris@mail.ru
