В предлагаемом реле указателя поворотов удалось обойтись без сильноточного электромагнитного реле с разрывными контактами. Его легко установить в большинство как отечественных автомобилей, так и "иномарок" с номинальным напряжением бортовой электросети 12 В, взамен вышедших из строя электронных и простейших термомеханических прерывателей тока.
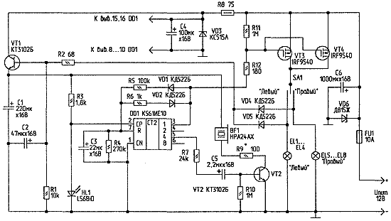
Принципиальную схему устройства вы видите на рис.1, а чертеж печатной платы (размерами 115x60 мм) - на рис.2. Все детали устройства, кроме предохранителя, звукоизлучателя и светодиода (при желании) распаиваются на ней.

Рис.1. Принципиальная схема реле поворотов

Рис.2. Печатная плата
В качестве мощного узла коммутации используется пара современных р-канальных МОП-транзисторов типа IRF9540. Сопротивление открытого канала исток-сток такого транзистора не превышает 0,2 Ом. При параллельном включении двух таких транзисторов мы имеем сопротивление "замкнутого" МОП-ключа менее 0,1 Ом, что дает падение напряжения на нем не более 1 В при токе нагрузки 10 А. Такие замечательные параметры позволяют применять это реле не только для питания ламп "поворотников", но и использовать в системе сигнализации аварийной остановки.
Для упрощения схемы в качестве генератора импульсов использован мигающий светодиод HL1. При включении выключателем SA1 светового сигнала "левого" или "правого" поворота, через соответствующий диод VD5 или VD4 и токоограничительный резистор R2 заряжается конденсатор С2. Эмиттерный повторитель на VT1 открывается, и светодиод начинает весьма ярко вспыхивать (ток "вспышки" - около 6 мА). В момент вспышки напряжение на HL1 не превышает 2,2 В, а во время паузы близко к напряжению питания. С анода светодиода сигнал прямоугольной формы, следующий с частотой вспышек света (около 3 Гц), поступает на вход СР (вывод 2) четырехразрядного двоичного счетчика DD1. Переключение триггеров счетчика происходит по спаду импульса положительной полярности, т.е. при погасании светодиода.
На выходе 1 (вывод 3) DD1 появляется сигнал прямоугольной формы с частотой, вдвое меньшей чем на входе микросхемы. Когда на выводе 3 DD1 - логический "0", напряжение затвор-исток полевых транзисторов VT3 и VT4 будет около 12...14 В, они открыты, и соответствующие лампы будут мигать.
Во время вспышек ламп подзаряжается С2. В то время, когда на выводе 3 DD1 -логическая "1", напряжение затвор-исток VT3, VT4 не превышает 1 В, транзисторы закрыты, лампы не светятся.
С каждой четвертой вспышкой света подается короткий звуковой сигнал, который издает BF1 - пьезокерамический излучатель со встроенным генератором. Такой режим не так надоедает во время длительной стоянки у светофора. Кроме того, меньше эффект привыкания, когда перестаешь обращать внимание на звуковой сигнал, и "поворотники" остаются включенными без необходимости.
При размыкании SA1 лампы гаснут, конденсатор С2 быстро разряжается через резистор R1, вспышки светоди-ода затухают. В редких случаях, после размыкания контактов SA1, возможна остановка счетчика DD1 в таком состоянии, когда на его выводе 3 - логическая "1", транзисторы VT3, VT4 закрыты, и запуск генератора на мигающем светодиоде невозможен. Вывести устройство из "зависания" помогает цепь R5-VD1-R6-VD2-C3-R4. В случае, если на выходе 1 установился уровень логической "1", через VD1 и R5 заряжается конденсатор СЗ, и (примерно через 1,5 с) счетчик DD1 сбрасывается в начальное состояние, когда на выходе 1 - логический "О". Цепь R6-VD2 разряжает СЗ при каждой вспышке ламп; напряжение на нем не поднимается выше 1,5 В, поэтому вход сброса R на работу микросхемы не влияет.
Мощный стабилитрон VD6 с напряжением стабилизации 18 В и цепочка R8-VD3 предназначены для защиты устройства от выбросов высокого напряжения (более 17...27 В), которые проскакивают в бортовой электросети автомобиля. Конденсатор С6 уменьшает помехи от системы зажигания.
Громкость контрольных гудков можно регулировать подбором R9, а их продолжительность зависит от емкости С5. Период следования гудков можно выбрать иным, подключив верхний по схеме вывод R7 к другим выводам DD1.
В этом реле поворотов можно использовать любые малогабаритные резисторы типов С1-4, С2-23, С2-33, МЛТ, ВС. Электролитические конденсаторы желательны надежные и малогабаритные, например, фирм "Rubicon", "Keltron", "Samsung" или отечественные серий К52, К53. Все диоды - кремниевые, серий КД521, КД522, КД105, КД209 и т.п. Стабилитрон VD3 заменяется на КС515Г, КС508Б, КС215Ж, VD6 - на КС541Б, КС529А, Д816А.
В качестве предохранителя FU1 можно использовать как одноразовый плавкий предохранитель, так и самовосстанавливающийся (MF-R900 на ток 9 А или более мощный).
Мигающий светодиод желательно взять красного цвета, например, L36BSRD/B, L56BCRD/B, L796BSRD/B, L796BSRC/B, L816BSRD/B диаметром от 3 до 10 мм фирмы "Kingbright". Можно использовать аналогичные светодиоды и других фирм [4].
Биполярные транзисторы можно установить любые структуры n-p-n с большим h21э из серий КТ3102, КТ315, КТ503, КТ645. На месте VT3, VT4 можно установить пару мощных р-канальных полевых транзисторов типов IRF9532, КП784А, КП785А. Их желательно разместить на небольших латунных или алюминиевых теплоотводах. Не следует забывать, что лампы накаливания имеют большой пусковой ток зажигания. Суммарный импульсный ток включения всех ламп не должен превышать половины допустимого импульсного тока примененных полевых транзисторов. Если общая мощность одновременно включаемых ламп будет более 90 Вт, желательно установить параллельно три полевых транзистора. Микросхему DD1 можно заменить на КР1561ИЕ10, CD4520AE. Звукоизлучатель со встроенным генератором можно поставить EFM-250, EFM-472A, EFM-475, EFM-471L.
Источники
- А.Бутов. Электронное реле указателя поворотов. — Радио, 2002, N8, С.54.
- П.Головин. Реле указателя поворотов на КМОП-микросхемах. — Радио, 1991, N6, С.З0.
- А.Иванов. Реле указателя поворотов на КР512ПС10. — Радио, 1993, N7, С.35.
- С.Рюмик. Все о мигающих светодиодах... — Радиохобби, 2002, N1, С.31.
- С.Чеботков. Новые мощные полевые транзисторы. — Радиомир, 2001, N8, С.39.
- Лампы накаливания автомобильные. Принципиальные электрические схемы прерывателей указателей поворотов. — Радиоаматор-Электрик, 2002, N7, С. 15.
Автор: А.БУТОВ, с.Курба
