Если зарядное устройство (ЗУ) для автомобильных аккумуляторов не имеет амперметра, трудно гарантировать их надежную зарядку. Возможно ухудшение (пропадание) контакта на клеммах батареи, обнаружить которое достаточно трудно. Вместо амперметра предлагаю простой индикатор буквально из нескольких деталей. Он включается в разрыв "плюсового" провода от ЗУ к АБ.

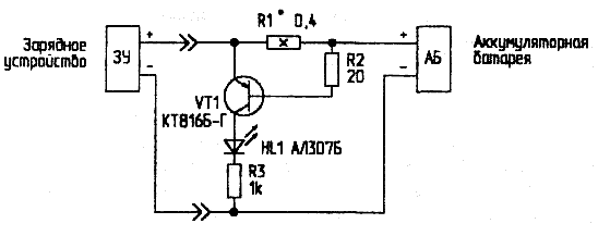
Рис. 1. Индикатор тока заряда
Схема на рис.1 представляет собой транзисторный ключ VT1, включающий светодиод HL1, когда через R1 протекает заданный ток. В этом случае падения напряжения на резисторе R1 (более 0,6 В) достаточно для открывания транзистора VT1 и зажигания HL1. Для конкретного аккумулятора номинал R1 подбирается так, чтобы светодиод зажигался при требуемом зарядном токе. По яркости его свечения можно приблизительно оценить зарядный ток. Резистор R1 - проволочный, изготавливается из 6...12 витков обмоточного провода диаметром 1 мм. Можно использовать проволоку с высоким удельным сопротивлением (нихром) или резистор промышленного изготовления, например, ПЭВР-10.

Рис. 1. Индикатор тока заряда
На рис.2 показана аналогичная схема, но с применением оптоэлектронного ключа КР293КП4. Такие оптроны популярны сегодня среди радиолюбителей, они позволяют конструировать радиоэлектронные устройства с минимальным количеством элементов. Резистор, ограничивающий ток в цепи светодиода оптрона, не нужен, так как для уверенного срабатывания ключа необходимо напряжение на контактах 3,4 порядка 1,1... 1,5 В. Ток в этой цепи - 10... 15 мА. Особенность схемы - в подключении исполнительного устройства на оптронном ключе. Как видно из рисунка, вход оптрона (светодиод) включается у клеммы "+" ЗУ с одной стороны, и у соответствующей клеммы "+" АБ - с другой. Резистором, на котором падает напряжение, в данном случае является сам соединительный провод между ЗУ и АБ, имеющий длину 0,8...1,5 м. При надежном контакте в клеммах, падения напряжения на немдостаточно для срабатывания оптронного ключа. Контакты 5, 6 VU1 замыкаются , в цепи HL1 течет ток, и светодиод горит.
При использовании этого индикатора в приборах с большим напряжением питания, например, для зарядки АБ грузовых автомобилей с напряжением бортовой сети 24 В, необходимо подобрать величину R1, чтобы ток через светодиод не превышал максимально допустимый.
Такие индикаторы тока можно применить и в других конструкциях, где необходим контроль тока нагрузки. Включаются они аналогичным способом - между нагрузкой и источником питания.
Автор: А. Кашкаров,
г. С.-Петербург
