В радиолюбительской практике нередки случаи, когда необходим миниатюрный движковый переключатель на число положений более трех. Имеющиеся в продаже движковые переключатели, как правило, имеют два-три положения и всего одно-два направления.
Кнопочные переключатели П2К широко применяют в радиоэлектронной технике. Они пользуются заслуженной популярностью и у радиолюбителей. Модульная конструкция этих переключателей и их секционность позволяют составлять множество различных комбинаций и удобна для печатного монтажа, но при всех вариациях числа направлений число положений остается неизменным - два.
Параллельное наращивание числа корпусов П2К, предложенное С. Минаевым в статье "П2К вместо галетного переключателя" ("Радио", 1990, №5, с. 61), увеличивает габариты переключателя и делает его неудобным в работе, так как рабочие положения соответствуют довольно сложным комбинациям нажатия нескольких кнопок.
Для получения однокорпусного многопозиционного движкового переключателя потребуется несложная доработка исходного П2К, причем годится неисправный или грубо демонтированный кусачками с печатной платы.

Рис. 1
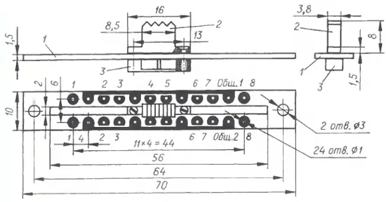
На рис. 1 представлено устройство движкового переключателя 8П2Н (не показан только корпус), переделанного из П2К с восемью группами контактов Из одиннадцати возможных положений движка переключателя 1-2-В-3-4- В-5-6-В-7-8 три промежуточных положения, обозначенных буквой В, соответствуют выключенному состоянию и в работе не используются.
П2К надо разобрать и удалить крышку корпуса, оставив на своих местах штыревые контакты. Операцию следует выполнять постепенно, небольшими фрагментами, отделяя их кусачками. На место крышки нужно установить и приклеить клеем БФ-2 контактную планку 1, изготовленную из фольгированного с одной стороны стеклотекстолита толщиной 1...1,5 мм. Печатные проводники и контактные площадки на планке вытравливают. После высыхания клея выводы контактов на планке надо опаять так, чтобы излишки канифоли не затекли под планку. Планку можно сделать шире и длиннее, если на месте будущей установки переключателя этому нет препятствий.
Подвижная группа переключателя состоит из ручки 2 и движка 3, скрепленных двумя винтами М2 длиной 6 мм с потайной головкой. Движок представляет собой отрезок длиной 16 мм штока П2К между линиями А и Б (рис. 2).

Рис. 2
По краям движка сверлят два отверстия и нарезают в них резьбу М2.
Ручку можно выпилить из любой листовой пластмассы толщиной 3,8...4 мм. В пазы движка устанавливают подвижные контакты от П2К, вставляют его в подготовленный корпус и привинчивают ручку. Подвижная группа должна перемещаться ручкой свободно, без заеданий, от упора до упора.

Рис. 3
В случае, когда необходима полноценная замена галетного переключателя с формулой 10П1Н, "печать" на контактной планке должна соответствовать рис. 3. При этом обеспечено равномерное чередование положений без промежуточных неиспользуемых - В-1-2-3-4-5-6-7-8-9-10.
Если переделанный переключатель предполагается монтировать на печатную плату, в ряде случаев можно обойтись без контактной планки 1 - ее функции будет выполнять плата. В ней надо прорезать паз для ручки 2, просверлить отверстия для контактов переключателя и сформировать соответствующие печатные проводники.
Автор: Е. Кондратьев, г. Москва
