Предлагаемый вниманию читателей радиоприёмник предназначен для приёма передач радиовещательных станций в диапазоне средних волн (СВ) в полосе частот примерно от 500 до 1600 кГц. Аппарат собран по схеме прямого усиления 2-V-2 (содержит, кроме детектора, два каскада усиления РЧ и столько же каскадов усиления ЗЧ). Приём ведётся на рамочную (магнитную) антенну.
Схема приёмника представлена на рис. 1. Входной колебательный контур состоит из индуктивности рамочной антенны L1 и конденсатора переменной ёмкости С1. Принятый сигнал через виток связи L2 и конденсатор С2 поступает на вход усилителя РЧ, собранного на транзисторах VT1, VT2, усиливается им и через высокочастотный трансформатор Т1 подводится к детектору на диоде VD1. Продетектированный сигнал через фильтр С7R9C9 поступает на переменный резистор R11 (он выполняет функцию регулятора громкости), ас его движка - на вход усилителя мощности ЗЧ. Для повышения чувствительности детекторного узла на анод диода VD1 через резистор R9 подано небольшое напряжение положительной полярности с делителя, образованного резисторами R10, R11. Переменный резистор R4 - регулятор усиления РЧ, шунтирующий его конденсатор С4 позволяет разместить этот резистор в любом месте передней панели приёмника.

Рис. 1. Схема приёмника
Усилитель мощности ЗЧ собран на транзисторах VT3-VT6. Первый из них работает в каскаде предварительного усиления, второй - в фазоинверторе, третий и четвёртый - в оконечном каскаде, нагруженном динамической головкой BA1. Выходная мощность усилителя - 1 Вт.
Питается приёмник от источника напряжением 12 В. Для уменьшения взаимовлияния каскадов усилитель РЧ и первый каскад усиления ЗЧ питаются через развязывающие RC-фильтры (соответственно R12C3C8 и R13C10).
Детали приёмника (кроме КПЕ, антенны, переменных резисторов R4, R11 и головки BA1) размещены в разделённом на два отсека подвале стального шасси: в одном из них установлена плата усилителя РЧ и детектора, в другом - плата усилителя ЗЧ. Монтаж - навесной. Каких-либо особых требований к резисторам и конденсаторам приёмника не предъявляется: все постоянные резисторы - малогабаритные любого типа и указанной на схеме мощности рассеяния, переменный R4 - группы А (с линейной зависимостью сопротивления от угла поворота движка), R11 - с обратнологарифмической зависимостью сопротивления. Конденсатор С1 - сдвоенный блок КПЕ с воздушным диэлектриком от старого лампового приёмника (его статорные секции соединены параллельно), С2-С7, С9, С11, С13, С15 - керамические, например КМ, остальные - оксидные.
Транзисторы для УМЗЧ извлечены из системных плат старых персональных компьютеров. Кроме указанных на схеме, практически проверены в работе в качестве VT4 транзисторы NTB18N06L, а в оконечном каскаде - STB70NF03L (ток покоя - 110 мА), а также (в тех же каскадах) BE4B1F и STB90N02L (ток покоя - 70 мА). Трансформатор Т1 намотан проводом ПЭЛШО 0,3 на ферритовом кольцевом магнитопроводе внешним диаметром 10 мм. Обмотка I содержит 50, обмотка II - 15 витков.
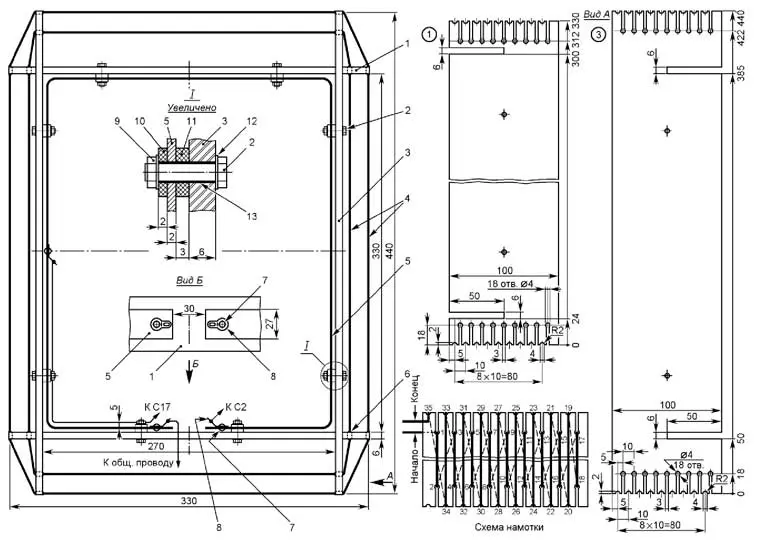
Устройство и схема намотки рамочной антенны показаны на рис. 2. Её каркас состоит из двух горизонтальных (1) и такого же числа вертикальных (3) планок, изготовленных из древесноволокнистой плиты (ДВП) толщиной 6 мм. Обмотка рамки (по схеме - L1) содержит 17 витков высокочастотного многожильного провода (литцендрата) ЛЭШО 91x0,071. Допустимо применение другого провода с жилами диаметром 0,071 или 0,1 мм и их числом 60...100. Впрочем, можно использовать и медный провод диаметром 2,5...3 мм. Для фиксации положения витков рамки на каждом конце планок 1 и 3 просверлены по девять отверстий диаметром 4 мм и сделано столько же пазов. Вначале наматывают внутренний слой рамки, используя для этого указанные отверстия (провод вводят в них не по оси, а сбоку, через пропиленные щели шириной 3 мм), а затем - наружный, укладывая провод в полукруглые пазы шириной 4 и глубиной 2 мм. При намотке рамки одножильным голым проводом на него в местах прохода через планки 1 и 3 надевают изоляторы 6, представляющие собой отрезки поливинилхлоридной трубки длиной 8...10 мм, разрезанные по образующей.

Рис. 2. Устройство и схема намотки рамочной антенны
Виток связи 5 (L2), выполняющий одновременно функцию элемента жёсткости конструкции, согнут из полосы листового алюминиевого сплава толщиной 2 мм и прикреплён к планкам 1 и 3 болтами 2 (М4) с гайками 9. Для изоляции витка от планок на болты надеты отрезки ПВХ-трубки 13 и шайбы 10 и 11, представляющие собой
квадратики с отверстиями в центре из стеклотекстолита толщиной соответственно 2 и 3 мм. В комплект болтовых соединений входят также две металлические шайбы 12. Провода, соединяющие виток с усилителем РЧ, припаивают к лепесткам 8, закреплённым на концах витка заклёпками 7.
Числами на схеме намотки обозначены условные номера отверстий и пазов в планках 1 и 3, через которые должен проходить провод при намотке рамки L1 (расстояния между теми и другими для большей ясности схемы увеличены). Конец наружного слоя обмотки следует соединить с общим проводом приёмника (это своеобразная электростатическая защита от помех).
Перед настройкой приёмника следует убедиться в соответствии значений напряжения указанным на схеме (измерены прибором Ц4353 при отключённых конденсаторах С2, С6, максимальном сопротивлении переменного резистора R4 и напряжении питания 12 В; допустимо отклонение до ±20 %). В скобках указаны значения напряжения при использовании в усилителе РЧ транзисторов 2SC1815).
Запомнив напряжение в контрольной точке Кт1, восстанавливают соединения с конденсаторами С2, С6. Если напряжение в этой точке поменяло знак (стало отрицательным), то это свидетельствует о самовозбуждении усилителя РЧ. Чтобы избавиться от него, попробуйте поменять местами выводы любой обмотки РЧ-трансфор-матора Т1. Если результат малоэффективен или противоположен (увеличилось отрицательное напряжение), рекомендуется восстановить фазировку обмотки и заменить резистор R7 резистором большего сопротивления (20...51 Ом). Самовозбуждение должно прекратиться.
Налаживание УМЗЧ в общем случае сводится к установке на выходе оконечного каскада (точка соединения истока транзистора VT5 со стоком VT6) напряжения, равного половине напряжения питания (6 В) подбором резисторов делителя R20R18. Для исключения ситуации, когда напряжение в указанной точке равно +6 В, а транзистор VT6 ещё не открывается (напряжение на его истоке равно нулю), следует подобрать VT4 и VT6 по крутизне ВАХ. Напряжение открывания последнего должно быть ниже, чем VT4. Эта разница будет определять ток покоя оконечного каскада. При токе покоя 100...140 мА качество звука наилучшее (это +0,3...0,5 В на истоке VT6).
В заключение - несколько слов о возможном усовершенствовании приёмника. Для повышения чувствительности пробовал ввести (не подходя к порогу генерации) положительную обратную связь (ПОС), соединив, как показано на рис. 1 штриховыми линиями, эмиттер транзистора VT1 с отводом примерно от четверти витка связи L2 (считая от конца, соединённого с общим проводом) через конденсатор C17. Для уменьшения чрезмерного усиления исключал при этом конденсатор С6. ПОС регулировал изменением расстояния между плоскостью витка и проводом отвода. Из-за внешних бытовых помех реализовать это увеличение чувствительности не удалось. Возможно, кому-то из читателей, находящихся в лучших условиях приёма, это удастся сделать, я же вынужден был вернуться к исходному варианту.
Автор: С. Долганов, г. БарабинскНовосибирскойобл.
