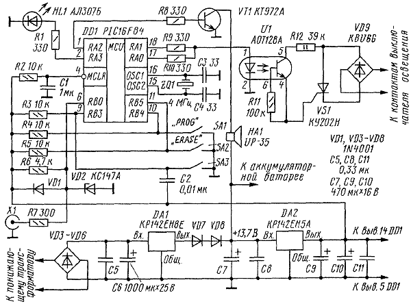
Предлагаемое устройство может выполнять функции охранной сигнализации или просто включать освещение при движении человека в помещении и при открывании входной двери. Его схема показана на рис.1. Основой служит микроконтроллер PIC16F84. В его программе предусмотрено автоматическое восстановление нормальной работы после случайных сбоев.

Рис.1. Принципиальная схема охранного устройства
Постановку на охрану и снятие с нее производят с помощью электронных ключей-таблеток iButton DS1990 [1]. Эти очень простые в эксплуатации и надежные изделия не боятся влаги и агрессивной внешней среды, не требуют смены или подзарядки элементов питания, так как не содержат их. Код, записанный в таблетке, невозможно изменить. Он имеет 280 триллионов вариантов, что практически исключает возможность подборки ключа.
Контактное устройство Х1, которого нужно коснуться ключом, чтобы включить или выключить охрану, располагают в любом удобном месте, например, на косяке двери. Однако сам охранный прибор должен быть недоступен посторонним. Проводку от него к контактному устройству выполняют витой парой проводов длиной не более нескольких метров.
Светодиод HL1 служит для контроля состояния прибора. По нему можно определить, включен ли режим охраны, срабатывала ли сигнализация за прошедшее с момента ее включения время. Охранный шлейф, условно показанный на схеме как выключатель SA3, - последовательно соединенные выходные контакты ИК датчика движения и установленного на двери герконового датчика СМК. Если датчика движения нет, прибор будет реагировать только на открывание двери.
При включении питания устройство начинает работу в режиме, в котором оно при размыкании шлейфа лишь включает освещение. Приблизительно через минуту свет будет автоматически выключен. Чтобы перейти в режим охраны, нужно коснуться зарегистрированным ключом контактного устройства Х1. Прочитав код ключа, микроконтроллер на 1 с запрещает повторное считывание, предотвращая непредсказуемую смену режимов при слишком продолжительном удержании ключа в контактном устройстве.
Постановка на охрану будет подтверждена коротким звуком сирены НА1 и вспышкой светодиода HL1. Но фактически охрана будет включена только после восстановления замкнутого состояния шлейфа (если последний был разомкнут). Это дает возможность хозяину уйти из помещения и закрыть за собой дверь, не вызвав ложной тревоги.
В режиме охраны светодиод HL1 горит, освещение выключено. Нарушение шлейфа приводит к включению на 3 мин сирены НА1 и миганию светодиода HL1. Затем микроконтроллер еще раз проверяет состояние шлейфа. Если он окажется вновь замкнутым, сирена будет выключена, но мигание светодиода продолжится. Повторное касание зарегистрированным ключом контактного устройства снимет помещение с охраны, что будет подтверждено двукратным кратковременным включением сирены и погасанием светодиода. А вот любая попытка подобрать ключ не изменит режима работы, но вызовет включение сирены на 1 с.
Узел питания прибора состоит из выпрямителя на диодном мосте VD3-VD6 (понижающий трансформатор питания на схеме не показан) и двух интегральных стабилизаторов DA1 и DA2. Диоды VD3-VD8 можно заменять любыми на напряжение не менее 50 В и ток 1 А. Напряжение 13,7 В предназначено для питания сирены НА1 и подзарядки аккумуляторной батареи, поддерживающей работу устройства при отключении сети. Если в резервном питании нет необходимости, вместо КР142ЕН8Е можно установить стабилизатор на 12 В, а диоды VD7 и VD8 исключить.
Сирена НА1 - автомобильная UP-35, но можно применить и любые другие пьезосирены, например, используемые в охранных системах (ООПЗ-12, "Свирель"). Аккумуляторная батарея - необслуживаемая кислотная, предназначенная для приборов в охранно-пожарной сигнализации.
Устройство собрано на печатной плате из односторонне фольгированного стеклотекстолита (рис.2).

Рис.2. Печатная плата
Чтобы зарегистрировать ключ, кратковременно замкните контакты выключателя SA1 "PROG". Как только загорится светодиод HL1, прикоснитесь ключом контактов Х1. Успешную регистрацию подтвердят погасание светодиода и короткий звук сирены. Через некоторое время светодиод вновь загорится - контроллер готов к регистрации следующего ключа. Всего их может быть семь. Восьмой сотрет данные о первом, девятый - о втором и так далее по кругу. Через 40 с после последней регистрации прибор автоматически возвратится в рабочий режим.
Чтобы отменить регистрацию всех ключей, достаточно кратковременно замкнуть выключатель SA2 "ERASE". Память будет очищена и включен описанный выше режим регистрации. Эта процедура необходима при первом включении устройства, а также в случае утери одного из ключей.
Текст программы на ассемблере и прошивку контроллера можно скачать здесь.
Источники
- А.Синюткин, Электронный замок на ключах-таблетках iButton. Радио 2001, № 2,3
Автор: А.ВОСКОБОЙНИКОВ, г.Смоленск
