Материал предоставлен журналом
В настоящее время получили широкое распространение автоматические определители номера (АОН), собранные на различной элементарной базе (КР580ВМ80А, Z80,1816ВЕ49, комплекты жесткой логики К155, К176, К564 и др.). Все эти системы ориентированы на определение номера звонящего по информации, высылаемой станцией в ответ на запрос частотой 500...2,5 Гц, в двухтональном коде "2 и 6" кодирующими частотами 700, 900, 1100, 1300, 1500, 1700 Гц, с отклонением сигналов не более 15 Гц и длительностью не более 32 мс.
Устройство, описание которого приводится ниже, позволяет "ослепить" подобную систему определения номера.
Система защиты от определения телефонного номера позволяет на основе современной электронной техники реализовать возможности по защите от определения вашего номера при телефонном обращении к абоненту, у которого установлены системы ОАН типа "Русь" и др.
Данную систему можно использовать как встроенной в телефонный аппарат, так и в виде отдельной приставки к нему.
Система защиты от определения телефонного номера (Анти-АОН) обеспечивает защиту вашего номера от определения абонентом при использовании им системы АОН любого типа.
Технические характеристики телефонного аппарата, оснащенного Анти-АОНом, можно условно разделить на две группы. В первую группу войдут характеристики, присущие любому телефонному аппарату (электроакустические параметры). Эти характеристики полностью определяются используемым базовым аппаратом.
Вторая группа характеристик определяется специфической функцией, выполняемой данной системой. Следует отметить, что для выполнения этой функции данная система накладывает существенно более жесткие требования на телефонный канал и удовлетворительно может работать лишь с телефонными линиями, характеристики которых соответствуют нормам.
Система защиты от определения номера обладает следующими техническими характеристиками:
- Количество режимов работы ___ 2
- Вероятность защиты от определения номера при правильном использовании системы ___ 0,95
- Вероятность полного "ослепления" аппаратуры АОН (тональная посылка отсутствует полностью) ___ 0,55
- Время работы, с ___ 10...60
- Напряжение питания, В ___ 4,9...5,3
- Потребляемая мощность от вторичного источника питания, не более, мВт ___ 200
- Температура окружающей среды, °С ___ -5...+30
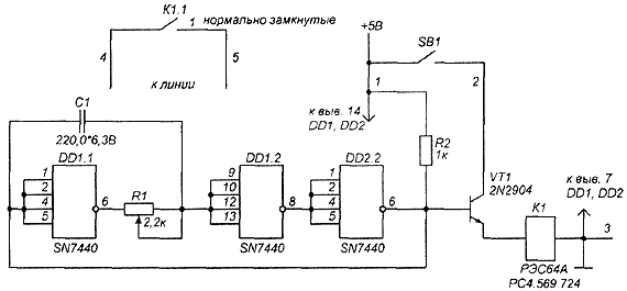
Принципиальная схема (рис. 1) системы защиты от определения номера построена на базе жесткого логического комплекта серии SN7440. Основой является задающий генератор, настроенный на частоту 12,626262 Гц.

Рис.1. Принципиальная схема Анти-АОН
Вторым функциональным узлом является усилительный каскад, собранный на транзисторе 2N2904, усиливающий импульсы тактового генератора, необходимые для работы третьего функционального узла - исполнительной части.
Исполнительная часть представляет собой реле типа РЭС64А, паспорт РС4.569.724.
Работа системы защиты основана на воздействии на тракт приема информации систем АОН, обходя блокировку голосового тракта вызывающего абонента и невозможностью передачи по ней каких-либо цифровых или аналоговых сигналов на время передачи информации о его номере. Осуществляется это путем передачи на станцию нетональной информации посредством замыкания линии с частотой 12,626262 Гц.
Спецификация радиодеталей и их возможные замены приведены в табл. 1.
| Обозначение | Тип | Номинал | Допустимая замена |
|---|---|---|---|
| DD1.DD2 | SN7440 | - | К133ЛA6 |
| VT1 | 2N2904 | - | КТ315 |
| R1 | СП5-2 | 2,2 кОм | 6,8 кОм |
| R2 | МЛТ-0,5 | 1 кОм | 1,1 кОм |
| С1 | К53-18 | 220 мФх6.З В | - |
| К1 | РЭС64А | PC4.569.724 | - |
Возможно изменение схемы задающего генератора с использованием других логических элементов микросхем типа SN7420, SN7400, SN7410, SN7422, а также генератора, стабилизированного кварцевым резонатором.
Считаю целесообразным привести здесь лишь словесное описание принципиальной схемы.
Итак, вы берете реле РЭС-10 (паспорт 001), параллельно его обмотке подключаете электролитический конденсатор емкостью 33...47 мкФ, рассчитанный на напряжение 30...50 В, и нормально замкнутую кнопку. Последовательно с этим включаете нормально замкнутые контакты этого же реле, и все устройство подключаете к телефонной линии последовательно с телефонным аппаратом.
В нормальном состоянии устройство закорочено кнопкой и не работает. При нажатии кнопки на обмотку подается напряжение, реле срабатывает и нормально замкнутые контакты, включенные последовательно с обмоткой, размыкаются, тем самым обесточивая реле. Конденсатор вносит в схему некоторую задержку срабатывания реле, нужную для установления необходимой частоты работы устройства в целом и работоспособности реле.
При сборке устройства необходимо подобрать реле, поскольку попадаются отдельные экземпляры, которые не работают на данной частоте.
При правильном включении Анти-АОНа и нажатии на кнопку вы услышите характерное тихое ритмичное потрескивание с частотой около 13 Гц, что свидетельствует о нормальной работе устройства. При отпущенной кнопке и поднятой трубке телефонного аппарата в трубке должен быть слышен длинный гудок, при его отсутствии следует нажать на тангенту; при нажатии на кнопку в трубке должен раздаться треск стой же частотой около 13 Гц довольно большой громкости. Вышеперечисленные условия свидетельствуют о правильной и нормальной работе данного устройства.
При непосредственной работе с Анти-АОНом выполняются следующие правила:
- набирается номер нужного вам абонента;
- после соединения линии нажимается кнопка Анти-АОНа и держится приблизительно 5...20 с;
- если же после отпускания кнопки в трубке слышно, что станция начинает слать вашему абоненту тональную посылку, необходимо еще на некоторое время нажать кнопку.если же после отпускания кнопки в трубке слышно, что станция начинает слать вашему абоненту тональную посылку, необходимо еще на некоторое время нажать кнопку.
Источники
- Ресурсы интернета. Сборки и программирование на Z80. www.logicnet.ru
Автор: А. ТЫЧИНСКИЙ, г. Воронеж
