Устройство механизмов и применяемость оптических блоков
В статье рассматриваются цифровые ресиверы, выпускавшиеся фирмой SONY в 2004-2006 гг. Рассматриваемые аппараты могут использоваться с различными акустическими системами как автономно, так и входить в состав домашних кинотеатров SONY. Значительная часть рассматриваемых моделей ресиверов может воспроизводить SACD (Super Audio CD), некоторые - только CD и DVD. Автор приводит данные по устройству механизмов и применяемости оптических блоков.
К рассматриваемым в статье ресиверам относятся следующие модели:
- SACD/DVD-ресиверы "HCD-SC5/SC6/SC8" (разработка 2004 г), входящие в состав комплектов домашних кинотеатров "DAV-SC5/SC6/SC8".
- SACD/DVD-ресиверы "HCD-S550/S880" (2004 г) из комплектов "DAV-S550/S880", внешний вид аппаратов показан на рис. 1.
- SACD/DVD-ресивер "HCD-SR4W" из комплекта "DAV-SR4W" (2004 г.).
- SACD/DVD-ресиверы "HCD-DZ100K/DZ500KF" (2005 г) из комплектов "DAV-DZ100K/DZ500KF", внешний вид аппаратов показан на рис. 2.
- SACD/DVD-ресиверы "HCD-SR1/SR2/SR3" (2005 г.) из комплектов "DAV-SR1/SR2/SR3".
- SACD/DVD-ресивер "HCD-X1" из комплекта "DAV-X1" (2005 г.).
- DVD/CD-ресиверы "HCD-DZ520K/620K" (2006 г.) из комплектов "DAV-DZ520K/DZ620K", внешний вид аппаратов показан на рис. 3.
- SACD/DVD-ресивер "HCD-DZ300" (2006 г.) из комплекта "DAV-DZ300".
- SACD/DVD-ресиверы "HCD-DZ110/DZ111/DZ120K" из комплектов "DAV-DZ110/111/120K" (2006 г.).
- SACD/DVD-ресивер "HCD-DZ820KV" из комплекта "DAV-DZ820KV" (2006 г.).
- DVD/CD-ресиверы "HCD-DZ119/DZ410" из комплектов "DAV-DZ119/410" (2006 г.).

Рис. 1. Внешний вид SACD/DVD-ресиверов HCD-S550/S880

Рис. 2. Внешний вид SACD/DVD-ресиверов HCD-DZ100K/DZ500KF

Рис. 3. Внешний вид SACD/DVD-ресиверов HCD-DZ520K/620K
В состав всех рассматриваемых ресиверов входят цифровые усилители мощности, цифровые блоки обработки звуковых сигналов различных систем объемного звучания и УКВ/СВ тюнеры с синтезаторами частоты гетеродина. Их основные параметры приведены в таблице 1.
Таблица 1. Основные параметры SACD/DVD-ресиверов SONY
Параметры | Модели | ||||||
HCD-SC5/SC6/SC8 | HCD-S550/S880 | HCD-SR1/SR2/SR3 | HCD-SR4W | HCD-DZ100К/DZ500К | HCD-DZ520K/DZ620K | HCD-DZ300 | |
Количество каналов УМЗЧ | 5 | 5 | 5 | 5 | 5 | 5 | 5 |
Выходная мощность канала, Вт (при КНИ=10%, RH=4 Ом, f =1 кГц) | 90/100/100 | 80/100 | 100 | 65/114 | 120/143 | 108/143 | 133 |
КНИ, % | Менее 0,03 | - | - | 1/10 | 1/10 | 10 | - |
Декодеры | Dolby Prologic II, Dolby Prologic, Dolby Digital, DTS, Digital Cinema Sound, ИКМ | ||||||
Тип механизма | CDM80-DVBU24 | CDM72B-DVBU12 | CDM80(A)-DVBU24 | CDM85-DVBU102 | |||
Тип оптического блока | DBU-1 (X=650 нм (SACD/DVD), X=780 нм (CD)) | KHM-310CAA/C2RP | |||||
Воспроизводимые диски | DVD, Video CD, Super Video CD, CD, SACD, MP3, JPEG, CD-R/RW, DVD-R/RW, DVD+R/RW | Все, кроме SACD | Все+DivX, 2-слойные CD, прогресс. развертка | ||||
Диапазоны частот тюнера | FM 2 - 87,5...108 МГц, AM - 531...1602 кГц (европейские исполнения), RDS | ||||||
Потребляемая мощность, Вт (рабочий/дежурный) | 110/2 | 120/135/1 | 120/0,3 | 90/0,3 | 145/160/0,3 | 120/160/0,3 | 155/3 |
Основной особенностью электронных блоков всех рассматриваемых ресиверов является применение цифровых усилителей мощности серии S-master Главное отличие всех цифровых усилителей, в том числе и S-master SONY - отсутствие в трактах ЦАП, являющихся основным источником искажений в традиционных цифровых системах воспроизведения звука бюджетного класса. В цифровых усилителях сигнал ИКМ или 1-разрядный цифровой поток DSD (Direct Stream Digital), используемый в технологии SACD, преобразуется непосредственно в ШИМ или другой тип импульсной модуляции, например, PDM (Pulse Density Modulation) - модуляция плотностью импульсов. В системах S-master используется модуляция C-PLM (Complementary Pulse Length Modulation) - дополнительная модуляция длительностью импульсов, позволяющая снизить (в сравнении с ШИМ) искажение звуковых сигналов. Кроме того, в технологии S-master приняты меры для снижения "джиттера", метод назван Clean Data Cycle, основанный на использовании высокоточного генератора тактовых сигналов. Усилители S-master характеризуются высоким КПД, габариты и вес рассматриваемых ресиверов невелики, однако при этом обеспечивается суммарная выходная мощность 200...400 Вт.
В ряде моделей ресиверов, например в "HCD-SC5/SC6/SC8", реализована технология DCS (Digital Cinema Sound) - "цифровое кино", разработанная в сотрудничестве с Sony Picture Entertainment (SPE). Технология DCS позволяет имитировать в домашних условиях среду звука кинотеатров на основе предпочтений звукорежиссеров. Для реализации технологии используются режимы Cinema Studio EX A. C. St, EX. B C. St и EX C. C. St. В режиме EX A имитируется звуковая среда студии SPE "Cary Grant Theater" - она подходит для просмотра большинства фильмов. В режиме EX B имитируется звуковая среда студии SPE "Kim Novak Theater", подходящая для просмотра научнофантастических фильмов с массой звуковых эффектов. В режиме EX C имитируется звуковая среда студии озвучивания SPE, подходящая для просмотра музыкальных и классических фильмов, в фонограмме которых имеется много музыкальных фрагментов.
В моделях ресиверов разработки 2004-2006 гг. за некоторым исключением используются два типа механизмов и два типа оптических блоков. В моделях "HCD-SC5/SC6/SC8/SR1/SR2/SR3/SR4W" используются механизмы CDM80-DVBU24 и оптические блоки DBU1 (их внешний вид приведен на рис. 4). В моделях "HCD-DZ100K/DZ500K/DZ520K/DZ620K/DZ300/X1" и "DZ110/DZ111/DZ120K/DZ820KV/DZ119 DZ410" используются механизмы CDM85-DVBU102 и оптические блоки KHM-310CAA/C2RP. Сборочные чертежи механизма CDM80-DVBU24 приведены на рис. 5 (секция 1), рис. 6 (секция 2), рис.7 (секция 3) и рис. 8 (узел привода дисков).

Рис. 4. Внешний вид механизма CDM80-DVBU24 и оптического блока DBU1

Рис. 5. Сборочный чертеж механизма CDM80-DVBU24 (секция 1)

Рис. 6. Сборочный чертеж механизма CDM80-DVBU24 (секция 2)

Рис. 7. Сборочный чертеж механизма CDM80-DVBU24 (секция 3)

Рис. 8. Сборочный чертеж механизма CDM80-DVBU24 (узел привода дисков)
Перечень основных узлов и деталей механизма, необходимость заказа которых может возникнуть при ремонте, приведен в таблице 2.
Таблица 2. Перечень основных узлов и деталей механизма CDM80-DVBU24
№ позиции | № детали | Наименование |
403 | 4-245-653-01 | Belt (Mot) - пассик (двигателя) |
404 | 4-245-662-01 | Pulley (Gear) - шкив |
405 | 4-245-646-01 | Gear (IDL-F) - промежуточная шестерня F |
406 | 4-245-644-01 | Gear (IDL-D) - промежуточная шестерня D |
407 | 4-245-645-01 | Gear (IDL-E) - промежуточная шестерня E |
M701 | X-4955-496-1 | Motor (Pulley) ASSY (Loading) - загрузочный двигатель |
453 | 4-245-649-01 | Gear (IDL-I) - промежуточная шестерня I |
454 | 4-245-657-01 | Lever (Loading-R) - правый загрузочный сектор |
455 | 4-245-647-01 | Gear (IDL-G) промежуточная шестерня G |
463 | 4-245-638-01 | Lever (CL UP1) - загрузочная вилка |
466 | 4-245-658-01 | Lever (Disc Stop) - рычаг остановки диска |
467 | 4-245-659-01 | Lever (Disc Sensor) - рычаг опознавания диска |
470 | 4-245-658-01 | Lever (Loading-L) - левый загрузочный сектор |
501 | 4-245-643-01 | Gear (IDL-C) - промежуточная шестерня С |
504 | 4-245-642-01 | Gear (IDL-B) - промежуточная шестерня В |
505 | 4-245-814-01 | Lever (Dir First) - прямоходовый рычаг загрузки |
507 | 4-245-660-01 | Lever (DIr) - программный рычаг |
508 | 4-245-641-01 | Gear (IDL-A) - промежуточная шестерня А |
510 | 4-245-626-01 | Lever (BU-LOCK) - блокирующий рычаг |
515 | 4-245-644-01 | Gear (IDL-A) - промежуточная шестерня А |
601 | A-4728-690-A | RF Board, Complete - плата ВЧ блока в сборе(CXD1881AR) |
602 | 1-685-250-11 | PWB Flexible - соединительный шлейф |
605 | A-4713-410-A | Optical Pickp-Up (DBU-1) - оптический блок DBU-1 |
Следует особо отметить, что в различных сервисных руководствах ресиверов под оптическим блоком подразумевается механизм привода дисков (Optical Pick-Up, позиция 605 на рис. 8). В некоторых сервисных руководствах оптический блок DBU-1 фигурирует под названием TDP022W - механизм привода дисков фирмы Mitsumi (Travers Mechanism, внешний вид на рис. 9), являющийся аналогом DBU-1. В механизме TDP022W использован оптический блок PVR-202W (его внешний вид показан на рис.10), выпускаемый и рядом китайских производителей.

Рис. 9. Внешний вид механизма привода дисков фирмы Mitsumi TDP022W

Рис. 10. Внешний вид оптического блока PVR-202W
Основные параметры оптического блока PVR-202W (data sheet Mitsumi):
- числовая апертура объектива NA (Numerical Aperture) - 0,47 (CD), 0,60 (DVD);
- рабочее расстояние (Working Distance) - L34 мм (CD), L71 мм (DVD);
- длина волны лазерного излучения - 775...795 нм (CD), 645-665 нм (DVD);
- способ коррекции ошибок сервосистем: ошибки фокуса - астигматический метод (Astigmatism method), ошибки трекинга - метод 3-х лучей (3-spot method, CD), метод дифференциально-фазового детектирования (Differential Phase Detection method, DVD);
- диапазоны изменения расстояний актуаторов: фокуса (Focus Axis) - ±0,7 мм или более (CD), ±0,5 мм (DVD) или более; трекинга - ±0,4 мм или более;
- резонансная частота фокусного актуатора 43 Гц, актуатора трекинга 46 Гц;
- чувствительность по постоянному току: 1 мм/В (фокус), 0,64 мм /В (трекинг);
- чувствительность по переменному току (f=200 Гц) - 40 мкм/В (фокус), 28 мкм/В (трекинг).
Разборка механизма CDM80-DVBU24 производится в 11 этапов. Рассмотрим этапы, требующие согласования различных идентификационных меток и отверстий при сборке.
1. Демонтаж загрузочных секторов производится в соответствии с рис. 11, на рисунке обозначены: 1 - пружины левого и правого загрузочных секторов (поз.458/468 на рис. 6); 2, 4 - захват (Hook) на секторах; 3 - левый загрузочный сектор (позиция 470 на рис. 6); 5 - правый загрузочный сектор (позиция 454 на рис. 6). Установку загрузочных секторов следует производить в их горизонтальном и симметричном положениях (см. нижнюю часть рисунка).
2. Порядок демонтажа рычагов остановки и опознавания диска(поз. 466, 467 на рис. 6) приведен на рис. 12, позиции деталей по сборочным чертежам (рис. 6, 7): 1 - 509, 2 - 508, 3 - защелки на рычаге остановки 6 (поз. 466), 4 - рычаг опознавания 467, 5 - захваты на рычаге остановки 6. При монтаже рычага остановки следует совместить идентификационное отверстие на нем (hole) с соответствующим отверстием на верхнем шасси (поз. 457).
3. Порядок демонтажа блокирующего рычага (поз. 510) приведен на рис. 13, позиции деталей по сборочному чертежу (рис. 7): 1 - 509, 2 - 514, 3 - захваты на шасси (поз. 502), 4 - блокирующий рычаг 510. При его установке следует отвести ролик 514 в направлении стрелки и совместить пропилы на рычаге с захватами на шасси.
4. Демонтаж программного рычага 507 и промежуточной шестерни 504 производится в соответствии с рис. 14, позиции деталей по сборочным чертежам (рис. 5, 7): 1 - пружина 503, 2 - защелка на шкиве 3 (поз. 404), 4 - фиксатор 509 на промежуточной шестерне 5 (поз. 508), 6 - винт 401 (удалить), 7 - рычаг 408 (удалить в направлении стрелки), 8 - ограничитель на программном рычаге 9 (поз. 507), 10 - промежуточная шестерня 504.
5. Порядок демонтажа промежуточной шестерни 501 приведен на рис.15, позиции деталей по сборочным чертежам (рис. 5, 7): 1 - промежуточная шестерня 405, 2 - защелки на промежуточной шестерне 3 (поз. 406), 4 - фиксаторы на пластине 5, 6 - защелка на промежуточной шестерне 7 (поз. 501).

Рис. 11. Демонтаж загрузочных секторов механизма CDM80-DVBU24

Рис. 12. Демонтаж рычагов остановки и опознавания диска механизма CDM80-DVBU24

Рис. 13. Демонтаж блокирующего рычага механизма CDM80-DVBU24

Рис. 14. Демонтаж программного рычага 507 и промежуточной шестерни 504 механизма CDM80-DVBU24

Рис. 15. Демонтаж промежуточной шестерни 501 механизма CDM80-DVBU24
Как известно, сбои при воспроизведении дисков часто вызываются различными дефектами и неисправностями оптических блоков. Специалистов нередко волнует вопрос о целесообразности замены оптических блоков. Разработчиками некоторых рассматриваемых ресиверов предложен метод диагностики, заключающийся в измерении амплитуды ВЧ сигнала (RFMON level) на калиброванном выходе блока DVD-ресиверов (DVD board) при воспроизведении тест-дисков. Для моделей "HCD-SC5/SC6/SC8" измерения производят на контакте 1 разъема CN301 платы DVD (контакт 3 - корпус). Размах сигнала RFMON (см. рис.16) должен составлять 1,09±0,2 В при воспроизведении тест-диска DVD TDV-520CSO (J-2501-236-A) и 1,05 ±0,2 В - при воспроизведении тест-диска CD LUV-P01 (4-999032-01). При меньших размахах сигнала оптический блок целесообразно заменять. В некоторых исполнениях ресиверов HCD-SC5/SC6/SC8 контрольный разъем CN301 может не устанавливаться, в этом случае измерения следует производить на соответствующих контактных площадках, предназначенных для установки разъема (маркировка CN301 обычно сохраняется).
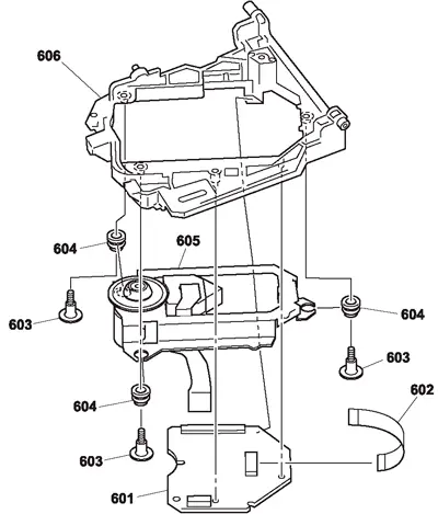
Сборочный чертеж механизма CDM85-DVBU102 приведен на рис. 17, число поставляемых в сервисные центры деталей и узлов в сравнении с рассмотренным механизмом CDM80-DVBU24 значительно сокращено, практически весь механизм заправки дисков (поз. 501, Part No A-6071-669-A - Loading assy M) можно заказать целиком. Под оптическим блоком (поз. 507) здесь также подразумевается механизм привода дисков в сборе KHM-310CAA/C2RP (Part No 8-820-290- 02). Считается, что блок может выпускаться и под номерами SON882029002, 8-820290-04, 8-820-321-12. В моделях "HCD-DZ110/DZ111/DZ120K" может использоваться и оптический блок KHM-313CAA/C2RP (Part No 8-820-321-05), его внешний вид показан на рис. 18 (внешне он отличается от KHV-310CAA/C2RP цветом некоторых деталей). Этот оптический блок применяется во многих DVD-проигрывателях SONY, например, в моделях "DVP-NS71HP/NS75H/NS76H" (2006 г.).

Рис. 16. Осциллограмма сигнала RFMON

Рис. 17. Сборочный чертеж механизма CDM85-DVBU102

Рис. 18. Внешний вид оптического блока KHM-313CAA/C2RP
Разборка механизма CDM85-DVBU102 производится всего в 4 этапа, дальнейшие операции по разборке возможны, но не обеспечиваются сервисной поддержкой. Операции достаточно просты и не требуют комментариев. Перед заменой оптического блока следует измерить размах сигнала RFMON, для модели "HCD-DZ300" он измеряется на контакте 6 разъема CN105 платы DMB 10 board (контакт 3 - корпус) при воспроизведении тест-дисков. Размах сигнала должен находиться в пределах 1,1±0,57 В при воспроизведении тест-диска CD и 1,23±0,58 В - при воспроизведении тест-диска DVD. Рекомендуются следующие типы тест-дисков:
- CD типа YEDS-18 (Part No 3702-101-01), PATD-012 (Part No 4225-203-01);
- DVD PAL типа HLX-506 (Part No J-6090-077-A);
- двухслойный DVD PAL типа HLX-507 (Part No J-6090-078-A).
Все рассматриваемые ресиверы имеют систему тестирования (Test Mode) и самодиагностики неисправностей, описание функционирования которых требует отдельного рассмотрения.
Автор: Юрий Петропавловский (г. Таганрог)
Источник: Ремонт и сервис
