Сегодня ни у кого не возникает сомнения в том, что автомобиль представляет большую опасность для пешеходов и участников движения. Поскольку полностью избежать дорожно-транспортных происшествий пока не представляется возможным, конструктивно автомобиль совершенствуется в направлении снижения вероятности аварии и минимизации ее последствий.
Условно составляющие понятия "безопасность автомобиля" можно разделить на две части - активную и пассивную безопасность.
В статье автор рассматривает конструктивные особенности, устройство и обслуживание элементов системы пассивной безопасности - ремней и подушек безопасности.
В начале семидесятых годов прошлого столетия фирма Форд оснастила экспериментальную партию автомобилей подушками безопасности, после чего Национальный комитет по безопасности дорожного движения выступил с предложением оснащения всех выпускаемых автомобилей подушками безопасности.
В совокупности применение различных систем безопасности автомобиля, в том числе ремней и подушек безопасности, позволило снизить травматизм при дорожно-транспортных происшествиях.
Рассмотрим эти части системы пассивной безопасности более подробно.
Подушки безопасности
Подушка безопасности является одной из систем пассивной безопасности автомобиля(SRS - Supplementary Restraint System), в которую входят газогенератор с подушкой в одном узле, датчики удара и электронный блок управления.
Сама подушка безопасности изготавливается из нейлона толщиной 0,45...0,55 мм, который для герметичности покрывают слоем резины или силикона.
Наличие подушек безопасности в современном автомобиле доведено до шести и более штук. Различают передние,боковые и головные подушки безопасности (см. рис. 1).

Рис. 1. Расположение подушек безопасности на современном автомобиле
Некоторые отечественные легковые автомобили, как правило, оснащаются только двумя передними подушками безопасности: для водителя она устанавливается на рулевом колесе, а для пассажира - на приборной панели.
Также многие автопроизводители применяют боковые и головные (передние и задние) подушки безопасности. Первые монтируются в спинки передних (а при соответствующей комплектации и задних боковых) сидений с их наружной стороны, обращенной к двери, а вторые - по боковым краям потолочной панели.
Места расположения подушек отмечаются информационными надписями "AIRBAG".
На примере передних подушек безопасности водителя и пассажира рассмотрим их конструкцию и принцип работы.
На рис. 2 показан общий вид компонентов надувной подушки безопасности на рулевом колесе автомобиля ВАЗ.

Рис. 2. Компоненты надувной подушки безопасности на рулевом колесе
В состав рулевого управления с надувной подушкой безопасности входят следующие компоненты:
- модуль газогенератора (3 на рис. 2);
- рулевое колесо с включателем сигнала в сборе;
- крепежная площадка устройства вращающегося;
- соединитель с устройством вращающимся;
- блок управления системы надувных подушек безопасности.
Модуль газогенератора состоит из облицовочной крышки модуля (1 на рис. 2), металлической скобы, газогенератора и свернутой подушки, расположенной между крышкой облицовки и скобой.
Облицовочная крышка модуля изготовлена из пенополиуретана и крепится к металлической скобе. Под крышкой модуля расположена свернутая надувная подушка.
Блок газогенератора расположен в центре модуля и закреплен скобой. Он состоит из контейнера с высокоэнергетическим химическим веществом, производящим азот для наполнения подушки, и электрического устройства зажигания, расположенного внутри блока.
Для срабатывания газогенератора используется сигнал, который подается на устройство зажигания с электронного блока управления SRS.
На рис. 3 показано устройство крепления подушки безопасности водителя и соединителя с устройством вращающимся.

Рис. 3. Устройство крепления подушки безопасности водителя и соединителя с устройством вращающимся
Соединитель с устройством вращающимся (3 на рис. 2) установлен на рулевом валу и представляет собой многожильный кабель, свернутый в спираль. Кабель служит для электрической связи соединительной колодки запала воспламенителя подушки безопасности со жгутом проводов автомобиля.
Соединитель с устройством вращающимся работает по принципу "часовой пружины", при повороте рулевого колеса вправо спираль закручивается, а при повороте влево - раскручивается. Таким образом, электрический контакт между модулем подушки безопасности и блоком управления SRS сохраняется постоянно.
Надувная подушка безопасности пассажира на переднем сиденье состоит из модуля газогенератора и контейнера.
На рис. 4 показан внешний вид компонентов надувной подушки пассажира на переднем сиденье, а также внешний вид расположения головных подушек безопасности.

Рис. 4. Внешний вид компонентов подушки безопасности пассажира на переднем сиденье и расположение головных подушек безопасности
Модуль газогенератора состоит из контейнера (2 на рис. 4), газогенератора (4) и свернутой подушки.
Газогенератор головных подушек (4 на рис. 4В) расположен с боковой стороны под потолочной панелью и закреплен полускобой. Как и в предыдущем случае, в блок газогенератора входит контейнер с высокоэнергетическим химическим веществом.
Ремни безопасности
Вся система SRS не сможет защитить сидящего в автомобиле человека, если он не пристегнется ремнем безопасности.
Большинство сидений оборудуются ремнями безопасности с тремя точками фиксации,которые удерживают сидящего в автомобиле на сиденье и сдерживают неуправляемое движение тела сидящего в случае аварии.
Используемые в современных автомобилях ремни безопасности обладают функцией аварийной блокировки механизма втягивания. Кроме того, они могут быть оснащены преднатяжителем ремня безопасности и ограничителем нагрузки ремня безопасности.
Большинство передних ремней безопасности оснащены системой преднатяжения ремней, которая служит для устранения излишней слабины ремня безопасности в случае аварии.
По принципу действия различают следующие типы преднатяжи-телей ремней безопасности:
- пиротехнические;
- реечные;
- шариковые;
- роторные;
- тросовые.
Так, при возникновении аварийной ситуации и запуске системы преднатяжителя ремней безопасности требуется примерно 14 мс для устранения слабины ремня от 6 до 12 см.
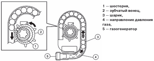
В качестве примера на рис. 5 показана конструкция шарикового преднатяжителя ремня безопасности, который непосредственно встроен в натяжное устройство ремня безопасности.

Рис. 5. Конструкция шарикового преднатяжителя ремня безопасности
На рис. 6 приведен принцип работы шарикового преднатяжителя.

Рис. 6. Принцип работы шарикового преднатяжителя
Работа системы SRS
Как правило, система SRS срабатывает при фронтальном столкновении на скорости не менее 35 км/ч и направлении столкновения в секторе не более ±30 градусов относительно продольной оси направления движения автомобиля. Система SRS не срабатывает при малых скоростях (менее 25 км/ч), если направление столкновения выходит за рамки указанного выше сектора, а также при ударах сзади и опрокидывании.
Следует учесть, что алгоритм работы системы SRS во многом зависит от конструкции и комплектации той или иной марки автомобиля. Так, например, в автомобилях семейства LADA с системой надувных подушек безопасности (СНПБ) она срабатывает только при фронтальном ударе, а при боковом ударе не срабатывает.
Система срабатывает в результате воздействия инерционной силы на датчики удара, расположение которых показано на примере автомобиля Nissan Juke (рис. 7).

Рис. 7. Расположение датчиков удара на примере автомобиля Nissan Juke
При столкновении автомобиля блок управления системы SRS анализирует сигналы от датчиков удара, фиксирующих скорость и угол столкновения.
Угловые датчики имеют маятниковую конструкцию, анкерный узел которой при столкновении автомобиля с препятствием в указанном выше секторе обеспечивает замыкание соответствующей электрической цепи и формирование сигнала на блок управления SRS.
Датчики удара состоят из чувствительного к направленным перегрузкам полупроводникового элемента, сопротивление которого изменяется в зависимости от силы удара.
После получения сигналов с датчиков блоком управления SRS выдается сигнал на срабатывание элементов системы безопасности.
Блок управления системой SRS в большинстве своем располагается на тоннеле пола в районе рычага переключения КПП, на рис. 8 приведен внешний вид конструкции блока управления системой SRS и пример расположения на автомобиле Nissan Juke.
Конструктивно блок управления SRS выполнен на печатной плате с электронными SMD-компонентами В состав блока входят микропроцессор, который является основным элементом блока управления SRS, микросхемы обработки входных сигналов с датчиков, микросхемы оперативной памяти (RAM), программируемой постоянной запоминающей памяти (Flash-EPROM).

Рис. 8. Блок управления системой SRS и пример его расположения на автомобиле Nissan Juke
В ИМС Flash-EPROM хранятся данные, обеспечивающие функционирование системы SRS в составе автомобиля. Также в ней фиксируются коды ошибок системы SRS, которые выводятся на информационный дисплей при повторном использовании блока после срабатывания системы SRS.
Обмен данными между электронным блоком SRS и другими электронными блоками в современном автомобиле производится по последовательному интерфейсу CAN [1].
На рис. 9 показана блок-схема системы SRS, а на рис. 10 в качестве примера приведена электрическая схема системы SRS автомобиля Nissan Juke.

Рис. 9. Блок-схема системы SRS1
Рис. 10. Электрическая схема системы SRS автомобиля Nissan Juke
В таблице приведены коды ошибок работы СНПБ автомобилей LADA PRIORA и LADA KALINA.
Таблица. Коды ошибок работы СНПБ автомобилей LADA PRIORA и LADA KALINA
Код ошибки | Описание кода ошибки |
В1001 | Утечка на плюс контакта 30 "+" блока подушки пассажира (БПП) |
Утечка на минус контакта 7 "-" БПП | |
Высокое сопротивление контактов 7 и 30 БПП | |
Низкое сопротивление контактов 7 и 30 БПП | |
В1002 | Утечка на плюс контакта 8 "+" блока подушки водителя (БПВ) |
Утечка на минус контакта 9 "-" БПВ | |
Высокое сопротивление контактов 8 и 9 БПВ | |
Низкое сопротивление контактов 8 и 9 БПВ | |
В1003 | Утечка на плюс контакта 2 "+" БПВ |
Утечка на минус контакта 1 "-" БПВ | |
Высокое сопротивление контактов 1 и 2 БПВ | |
Низкое сопротивление контактов 1 и 2 БПВ | |
В1004 | Утечка на плюс контакта 4 "+" БПП |
Утечка на минус контакта 3 "-" БПП | |
Высокое сопротивление контактов 3 и 4 БПП | |
Низкое сопротивление контактов 3 и 4 БПП | |
В1040 | Утечка на плюс контакта 10 сигнализатора диагностики |
Утечка на минус контакта 10 сигнализатора диагностики | |
В1042 | Напряжение питания вне рабочего диапазона (>16,5 В или <10,0 В) |
Низкое напряжение из-за плохого контакта АКБ | |
В1044 | Неправильное подключение линии запала |
В10С0-В10СЕ, В1081-В1084, В10В1-В10ВЕ, В109А-В109С | Неисправность блока управления SRS |
Меры предосторожности при ремонте и обслуживании системы SRS
Во время проведения работ с системой SRS и во избежание травматизма вследствие случайного срабатывания подушки безопасности следует уделить особое внимание технике безопасности по работе с данной системой.
1.Перед проведением работ с системой SRS следует отключить отрицательную клемму от аккумуляторной батареи, после чего ожидать 60...90 минут, прежде чем приступить к работе. Для предотвращения несанкционированного подключения клеммы следует изолировать вывод отрицательного провода.
2. Запрещен нагрев элементов системы SRS до температуры выше 90°С. Перед проведением сушильных работ в малярной камере следует произвести демонтаж следующих узлов системы SRS: все модули подушек безопасности, датчики удара и вращающееся устройство на рулевом валу.
3. При проведении диагностических работ с системой SRS не рекомендуется применять контрольные, измерительные и иные инструменты, которые не указаны в технических условиях завода-изготовителя.
4. После окончания работ по техническому обслуживанию системы SRS следует удалить диагностические коды ошибок с помощью диагностического прибора.
Литература
1. "Электроника в автомобиле". Серия "Ремонт" № 123. Солон-Пресс, Ремонт & Сервис 21,2012.
Автор: Николай Пчелинцев (г. Тамбов)
Источник: Ремонт и сервис

