В предлагаемом материале рассматривается мультимедийный монитор "SONY SDM-50N". В статье подробно рассматриваются конструктивные особенности монитора, его схемотехника и типовые неисправности.
Основные технические характеристики монитора "Sony SDM-50N" приведены в табл. 1.
Таблица 1. Основные технические характеристики монитора Sony SDM-50N
Параметр | Значение |
Матрица | Активная TFT, 15 дюймов (38,1 см), размер пиксела - 0,297 мм |
Максимальное разрешение | 1024x768x75 Гц |
Углы обзора (по горизонтали/ вертикали) | 140/120° |
Диапазон частот Строчная | 30...61 кГц |
синхронизации Кадровая | 48...85 Гц |
Параметры синхросигналов | - раздельные, уровни ТТЛ, импеданс 2 кОм, полярность позитивная или негативная - композитный (Sync on green), 0,3 В, 75 Ом, негативная полярность |
Контраст | 300:1 |
Яркость | 200 кд/м2 |
Входной сигнал | Аналоговый, RGB, размахом 0,7 В, импеданс 75 Ом |
Интерфейсные разъемы | Два разъема mini D-sub (15-контактные) |
Управление | Цифровое, экранное меню (8 языков) |
Поддерживаемые стандарты безопасности | MPR II, TCO 95 |
Поддерживаемые стандарты Plug & Play | DDC1/DDC2B/DDC2Bi |
Питание | Переменное напряжение 100...240 В (0,55-0,3 А) частотой 50/60 Гц |
Потребляемая мощность (On/Standby) | 35/3 Вт |
Звуковая система | Стерео, 2x2 Вт, эквалайзер |
Дополнительные функции | - датчик присутствия пользователя; - датчик освещенности; - регулировка яркости подсветки |
Конструктивные особенности модели
В этой модели применено довольно редкое дизайнерское решение - монитор состоит из двух блоков: собственно монитора (Display) и блока управления (Media Engine). За счет этого толщина блока монитора составляет всего 12 мм!
Монитор выполнен в пластмассовом корпусе, установленном на подставке, позволяющей изменять угол наклона экрана. За счет оригинальности конструкции подставки экран можно расположить параллельно поверхности рабочего стола или опустить его так, чтобы нижняя кромка экрана касалась поверхности стола. В корпусе монитора установлены ЖК панель, платы H (User control), B (GV IF Receiver, Sub System Control, Inverter) и U (Audio). На передней панели монитора расположены индикатор режима работы и кнопки включения (Power), переключения источника сигнала (Input) и управления режимами работы через экранное меню (OSD): Up, Down, LEFT, RIGHT, MENU.
Мультимедийный блок (media Engine) выполнен в виде вертикальной стойки. На переднюю панель блока помещен сетевой индикатор, а на заднюю - сетевой выключатель и разъемы: сетевой, два mini D-sub - для подключения источников сигналов RGB и системный - для соединения с блоком монитора. Внутри блока размещены плата A (RGB Progress, Scan Converter, GV IF Transmitter, System Control) и плата G (Power Supply, Audio In).
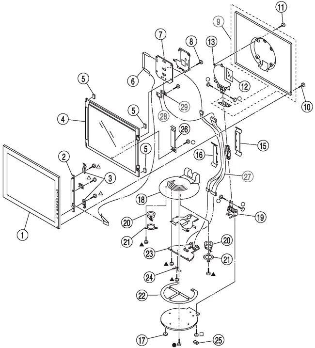
Конструктивные узлы монитора приведены на рис. 1, а мультимедийного блока - на рис. 2. Эти же рисунки помогут сориентироваться при разборке монитора.

Рис. 1. Конструктивные узлы блока монитора

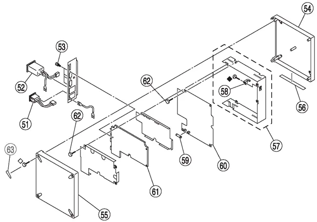
Рис. 2. Конструктивные узлы блока управления
Демонтаж платы U выполняют в следующей последовательности:
1. Укладывают монитор панелью вниз на стол, предварительно застелив его мягкой тканью.
2. Снимают декоративные крышки 15 и 16 (рис. 1) со штанги стойки.
3. Отжимают защелки в штанге и освобождают гибкий шлейф 27.
4. Выкручивают два самореза 4x6 и пять саморезов 3x14 на задней крышке подставки и снимают ее.
5. Отсоединяют все шлейфы от платы U (23 на рис. 1) и снимают плату.
6. Выкручивают два самореза (под крышкой 13 на рис. 1) и отсоединяют подставку 18 от штанги.
Демонтаж платы В выполняют после того, как отсоединена подставка 18, в следующей последовательности:
1. Выкручивают три самореза 10 (рис. 1) в нижней части корпуса монитора. Верхняя часть задней крышки фиксируется защелками, аккуратно приподнимают заднюю крышку и снимают ее с монитора.
2. Выкручивают три самореза 8 и снимают экран с платы В.
3. Выкручивают два винта и снимают держатели шлейфов 28, 29.
4. Отсоединяют все шлейфы от платы В (7 на рис. 1), выкручивают саморез, удерживающий плату, и снимают ее.
После этого можно демонтировать плату Н. Для этого выкручивают три самореза, фиксирующие плату Н (2 на рис. 1) и снимают фиксаторы 3. Затем снимают плату и отсоединяют от нее гибкий шлейф 6.
После демонтажа плат В и Н можно снять ЖК панель. Ее просто приподнимают в вертикальном направлении и снимают с передней крышки.
В табл. 2. приведены каталожные номера составных частей (узлов) монитора (см. рис. 1 и 2).
Таблица 2. Каталожные номера составных частей (узлов) монитора Sony SDM-N50
№ на рис. 1 и 2 | Каталожный номер (Part N) | Название узла |
1 | X-4037-530-1 | COVER ASSX FRONT (передняя крышка) |
2 | A-1375-200-A | H BOARD, COMPLETE (плата H) |
3 | 4-074-707-01 | EARTH (H) (фиксаторы) |
4 | 1-803-900-11 | LCD MODULE (TFT) (модуль ЖК панели) |
5 | 4-074-712-01 | HOLDER, PANEL (защелки) |
6 | 1-900-251-29 | HARENESSASSY BH1 (межплатный шлейф) |
7 | A-1136-059-A | B BOARD, COMPLETE (плата B) |
8 | 4-639-967-01 | SCREW, 0 PLATE SPECIAL HEAD (саморезы) |
9 | X-4037-913-1 | COVER ASSY REAR (задняя крышка) |
10 | 4-075-607-01 | TAPPING SCREW 3X8 (саморезы) |
11 | 2-625-102-31 | BOLT, HEXAGON M3 (винты М3) |
12 | 4-074-711-01 | PLATE, INSULATION (плата) |
13 | 4-073-824-01 | HINGE, PANEL (шарнир) |
14 | 4-073-800-01 | COVER (S), HINGE (крышка шарнира) |
15 | 4-073-816-01 | COVER (F), HINGE (крышка шарнира) |
16 | 4-073-808-01 | COVER (R), HINGE (крышка шарнира) |
17 | 4-074-713-01 | LEG, RUBBER (опора) |
18 | 4-073-823-01 | COVER, BASE (крышка опоры) |
19 | 4-073-825-01 | HINGE, BASE (шарнир) |
20 | 1-529-586-11 | SPEAKER (2.7 см) (динамик) |
21 | 4-073-810-01 | HOLDER, SP(2.7 см) (держатель динамика) |
22 | 4-074-714-01 | RUBBER, ENCLOSURE (резиновая прокладка) |
23 | A-1394-966-A | U BOARD, COMPLETE (плата U) |
24 | 4-074-708-01 | EARTH (U) (заземление) |
25 | 4-075-703-01 | FOOT(B), RUBBER (подножка) |
26 | 4-076-246-01 | COVER, CABLE (крышка) |
27 | 1-900-253-80 | HARNESS ASSY UB (шлейф U-B) |
28 | 4-075-633-01 | HOLDER, CABLE (A) (держатель) |
29 | 4-075-634-01 | HOLDER, CABLE (B) (держатель) |
51 | 1-572-434-31 | SWITCH, SEESAW (AC PWOER) (выключатель) |
52 | A 1-794-122-11 | INLET, AC (WITH FILTER) (сетевой разъем) |
53 | 4-070-122-01 | SCREW (HD15) (саморезы) |
54 | 4-073-835-01 | CASE (R) (корпус блока управления) |
55 | 4-073-836-01 | CASE (L) (корпус блока управления) |
56 | 4-073-828-01 | LABEL, INFORMATION (B) (маркировка) |
57 | X-4037-532-1 | PLATE ASSY CHASSIS (шасси) |
58 | 4-073-814-01 | GUIDE, LIGHT (направляющая) |
59 | A 1-576-230-11 | FUSE(H.B.C.)(3.15A/250V) (предохранитель) |
60 | A-1316-500-A | G BOARD, COMPLETE (плата G) |
61 | A-1299-074-A | A BOARD, COMPLETE (плата А) |
62 | 4-076-680-01 | +TP 3x5(саморезы) |
63 | 4-073-830-01 | SHEET (G) (пластина) |
Рассмотрим назначение и принцип работы основных узлов монитора по структурной и принципиальной схемам.
Принцип работы
Структурная схема монитора приведена на рисунках, которые находятся в архиве (см. ниже). Ввиду того что принципиальная схема монитора довольно объемная, структурная схема позволит оперативно проконтролировать прохождение сигналов по схеме, а затем уже перейти к детальному рассмотрению взаимодействия узлов по принципиальной схеме (см. архив).
Источник питания
Этот узел размещен на плате G (см. архив и рис. 3). В его состав входят следующие узлы:
- сетевой фильтр (С701, Т701, С727, С723, С724, С729, С730);
- выпрямитель (D701, C719);
- импульсный преобразователь (Ю701, Ю702, Q701, T702, PH701);
- вторичный выпрямитель (D702, C704, C705);
- интегральный стабилизатор напряжений 3,3 и 5 В (IC706).
Импульсный преобразователь реализован по схеме однотактного обратноходового преобразователя на силовом полевом MOSFET-транзисторе Q701 (IRFIBC40G-LF38) и импульсном трансформаторе T702. Силовой транзистор работает под управлением ШИМ контроллера IC701 (TEA1504/N2) фирмы Philips, включенным по типовой схеме. Микросхема запускается напряжением с выхода сетевого выпрямителя (выв. 1), а в рабочем режиме питается (выв. 6) от обмотки 1-2 Т702 и выпрямителя D705 C713. На вход включения (выв. 14) постоянно подается высокий потенциал с делителя (R704 R713 R718 R726).
Микросхема IC701 поддерживает режимы высокой и низкой выходной мощности. Если выходная мощность источника составляет менее 1/9 от пикового значения, включается режим низкой мощности. Частота внутреннего генератора (определяется номиналом резистора R725, при значении 27 кОм составляет 68...70 кГц), задающего рабочую частоту ШИМ, уменьшается до 30 кГ ц. Максимальный рабочий цикл генератора (и микросхемы) составляет 80%.
Для стабилизации вторичного напряжения 12 В используется усилитель сигнала ошибки IC702 (μPC093-1-T), подключенный к этому напряжению. Сигнал рассогласования через оптрон PH701 подается на усилитель ошибки микросхемы - выв. 9. В результате рабочий цикл микросхемы изменяется, что приводит к стабилизации выходного напряжения.
Из вторичного напряжения 12 В с помощью понижающего импульсного двухканального DC/DC-преобразователя на микросхеме IC706 (MAX1631EA1) и транзисторных сборках IC704, IC707 формируются стабилизированные напряжения 3,3 В и 5 В. Выходы микросхемы (выв. 16 и 19 - канал 5 В, выв. 24 и 27 - канал 3,3 В) управляют ключевыми элементами - парами полевых MOSFET-транзисторов, входящих в состав микросхем IC704 и IC707. Выходные напряжения 3,3 и 5 В снимаются с выв. 7, 8 IC704 и выв. 7, 8 IC707 и через разъем CN702 подаются на узлы монитора.
Напряжения 3,3 и 5 В используются для питания микросхем, размещенных на плате А: системного (главного) микроконтроллера IC101, графического контроллера IC301, АЦП IC214, динамического ОЗУ IC303, IC304, конвертора-передатчика IC304, видеоселектора IC205,синхроселектора IC206, микросхем ЭСППЗУ IC106, IC107 и других микросхем платы.
Напряжение 12 В с выхода источника транзитом через плату А (на ней размещен транзисторный ключ Q301 Q303, см. архив) поступает на плату U (контакты 1, 2 CN401, см. архив). На этой плате из него формируются следующие напряжения:
- 9 В (+9V), формируется стабилизатором IC404, используется для питания аудиопроцессора IC403;
- 5 В (SD5V), формируется стабилизатором IC404 из 9 В, используется для питания стереопроцессора IC401;
- 5 В (+5V, A5V), формируется DC/DC-конвертором (IC409 IC410), +5V используется для питания стереопроцессора IC401, а A5V - для питания усилителя мощности IC402.
Транзитом через плату U напряжение 12 В поступает на плату B (контакты 10-15 CN504). На этой плате с помощью DC/DC-конвертора (IC603 IC604) из него формируется напряжение 5 В (5V), от которого питается ЖК панель. Напряжение поступает на нее (контакты 5760 CN505) через транзисторный ключ Q602. К выходу DC/DC-конвертора (IC603 IC604) подключен линейный стабилизатор напряжения 3,3 В IC602, от которого питается интерфейс ЖК панели IC601.
Это же напряжение 12 В используется для питания ламп подсветки ЖК панели. Для этого оно преобразуется с помощью DC/AC-конвертора (см. архив и рис. 4) в переменное с параметрами 450...500 В/50 кГц и выходным током 6...7 мА на канал. Конвертор представляют собой двухтактный автогенератор на транзисторах Q653, Q654 и трансформаторах Т651, Т652. В базовые цепи транзисторов включена обмотка самовозбуждения 6-7 трансформатора Т652. Первичные обмотки трансформаторов включены параллельно и служат нагрузкой двухтактного каскада на транзисторах Q653, Q654. Со вторичных обмоток 7-11 трансформаторов снимается импульсное напряжение и через разъемы CN507 и CN508 подается на лампы подсветки. Для стабилизации выходных напряжений конвертора используется ШИМ в составе вспомогательного микроконтроллера IC501 (см. архив). Напряжение обратной связи снимается с резисторов R669, R670, включенных в эмиттерную цепь транзисторов Q653, Q654 и через усилитель сигнала ошибки на микросхеме IC651 поступает на управляющий вход ШИМ - выв. 43 IC501. Выходной сигнал ШИМ с выв. 69 микросхемы через каскады на транзисторах Q651, Q652 подается в базовые цепи транзисторов выходного каскада, корректируя время открытого состояния транзисторов, что приводит к стабилизации выходных напряжений конвертора.
Схема синхронизации
Конструктивно почти все элементы этой схемы размещены на плате А. Раздельные синхросигналы HS и VS с контактов 13 и 14 интерфейсных разъемов СN102 и CN103 (см. азхив) через инвертор IC208 поступают на синхроселектор IC207, управляемый сигналом INPUT SEL с выв. 72 системного микроконтроллера IC701. Синхросигналы выбранного источника (INPUT1 или INPUT2) с выхода синхроселектора через инвертор IC209 поступают на детектор полярности - микросхему IC206 (выв. 2 и 5). Если синхроимпульсы передаются вместе с видеосигналом Green (композитный синхросигнал), то на выв. 3 IC206 поступает синхросигнал SOG с выхода видеоселектора IC205 (выв. 25). Детектором полярности IC206 также управляет микроконтроллер IC101. По интерфейсу DDC он принимает от источника (видеоадаптера) информацию о текущем режиме и формирует сигналы управления POL V, EXIT V, EXIT H, POL Р, которые с выв. 69, 70, 68 и 67 IC101 поступают, соответственно, на выв. 16, 15, 17, 18 IC206.
С выхода детектора (выв. 11 и 13) снимаются синхроимпульсы H DRV и V DRV и через буфер IC211 поступают на микроконтроллер IC101 (выв. 58, 63, 64) и графический процессор IC301 (выв. 233, 234). Микросхемы используют эти сигналы для синхронизации своих узлов. Кроме того, графический контроллер IC301 вырабатывает синхросигналы PSHIFT CLK, PH SYNC, PV SYNC для управления GV IF (Gigabit Video Interface) передатчиком IC304 (см. архив).
В зависимости от наличия и частоты этих сигналов узел синхронизации микросхемы U8 формирует соответствующие управляющие и синхросигналы для всех узлов монитора.
Специальный блок сторожевого таймера в составе этой же микросхемы контролирует наличие входных синхросигналов и переключает монитор в соответствующий режим - рабочий, ожидания или дежурный (OFF).
Система управления
Функции управления монитором распределены между системным (главным) и вспомогательным микроконтроллерами. В качестве системного микроконтроллераIC101 используется 16-разрядный микроконтроллер фирмы FUJITSU типа MB90F553APF-G-BND-AP (см. архив). Он выполнен по CMOS-технологии в 100-выводном корпусе QFP и имеет 128 кбайт Flash-памяти, 4 кбайта ОЗУ, 83 универсальных линии ввода-вывода, восемь 10-разрядных АЦП, последовательные интерфейсы (UART и два SPI), два интерфейса I2C, четыре универсальных таймера. Конструктивно эта микросхема размещена на плате А. Под ее управлением работают следующие узлы:
- схема синхронизации;
- графический контроллер IC301;
- видеоселектор IC205;
-АЦП I0214;
- вспомогательный микроконтроллерIC501;
- DC/DC-конвертер 12/5/3,3 В (IC704 IC706 IC707).
Элементы, обеспечивающие функционирование микроконтроллера IC101, - микросхема сброса IC109 (подключена к выв. 77), кварцевый резонатор Х101 (подключен к выв. 82, 83).
К аппаратным интерфейсам I2C (выв. 30, 31 - 1-й канал, выв. 32, 33 - 2-й канал) подключены ЭСППЗУ IC106 и IC107, в которых хранятся данные подключаемых устройств (стандарт Plug & Play). На линиях 03 универсального порта ввода-вывода P2 (выв. 1-3) программно реализован интерфейс I2C, через который подключено ЭСППЗУ IC103 (для хранения пользовательских данных). Через линии 6, 7 этого же порта P2 (выв. 7, 8) микроконтроллер IC101 управляет светодиодным индикатором D101 (POWER).
Для управления АЦП IC214 используется еще один интерфейс I2C. Он также программно реализован на линиях 3, 4 универсального порта P4 (выв. 21, 22). Для "развязки" выводов микросхем используется мультиплексор IC212.
Еще один аппаратный интерфейс I2C микроконтроллера IC101 (выв. 28, 29). Через него он связан с вспомогательным микроконтроллером IC501. Кроме того, для связи между этими микросхемами еще используется последовательный интерфейс UART (выв. 18-20).
Основные ресурсы микроконтроллера IC101 используются графическим процессором IC301. Для обмена данными между этими микросхемами используется порт P0 (выв. 85-92). Кроме того, IC101 формирует для IC301 тактовые (REF CLK, выв. 17) и управляющие сигналы (RDX, WRLX, IRQ1, ALE).
На главный микроконтроллер возложена функция управления питанием всех узлов. В дежурном режиме сигнал DD ON на выв. 72 IC101 низкого уровня, поэтому канал 3,3 В в конверторе IC706 (плата G) выключен, работает только канал 5 В (5V или 5V (STBY)). Все основные потребители на плате А (графический контроллер, АЦП, память Flash, передатчик IC304) выключены. Ключи Q102 Q103, Q301, Q302 Q303 также выключены и напряжения 5 и 12 В не поступают к потребителям. В рабочем режиме сигнал DD ON становится активным и вышеуказанные элементы включаются, в результате чего напряжения 3,3, 5 и 12 В подаются на платы.
Вспомогательный микроконтроллер IC501 такого же типа, как и системный (естественно, с другой прошивкой Flash-памяти). Конструктивно он размещен на плате B и выполняет следующие функции:
- поддержка интерфейса пользователя (выв. 46, 55, 47);
- управление автоматическими режимами подстройки изображения (44, 45);
- управление питанием ЖК панели (выв. 75, 79);
- управление подсветкой ЖК панели (выв. 43, 69);
- управление платой U (выв. 5, 8, 7, 22).
Необходимо отметить характеристики энергопотребления микроконтроллера MB90F553APF. Микросхема изготовлена по технологии CMOS, ее напряжение питания (VCC - выв. 21, AVCC - выв. 32) может находиться в пределах 4,5...5,5 В. Максимальная рассеиваемая мощность составляет 450 мВт. В нормальном режиме (при выполнении внутренних операций) потребляемый ток составляет 60...90 мА, в режиме записи Flash-памяти - 100...150 мА, в режиме ожидания - 10...20 мА и в режиме останова - 10...20 мкА.
Параметры изображения и звука монитора регулируются через экранное меню, изображение которого формирует генератор в составе графического контроллера IC301.
Кнопки управления и светодиодные индикаторы режима работы размещены на плате H (см. архив и рис. 5), которая подключается к плате В через 18-контактный разъем CN901. Кнопки регулировок S902-S905, S907 коммутируют "весовые" резисторы. На плате А (см. архив, разъем CN501) сигнал от этих кнопок поступает на линию порта ввода-вывода P67/ANA7 (выв. 46) микроконтроллера - один их входов АЦП. Входное напряжение преобразуется в код кнопки. Кнопки POWER (S901) и INPUT (S906) подключены к линиям 0 и 4 порта P7 (выв. 47 и 55). Их нажатие вызывает прерывание управляющей программы и обработку подпрограмм включения-выключения монитора или переключения интерфейсных входов.
Индикаторы режима работы D906 и подключенного входа D902, D903 управляются непосредственно через порт P2 микроконтроллера (выв. 1-4).
На этой же плате H размещены сенсоры контроля освещенности IC901 и присутствия пользователя Q903 Q904. Выходные сигналы датчиков через операционные усилители в составе микросхемы IC902 поступают на входы микроконтроллера - выв. 44, 45. После анализа уровня освещенности и наличия-отсутствия пользователя микроконтроллером устанавливаются соответствующие уровни яркости-контрастности и выключается подсветка и питание ЖК панели, если пользователя нет на месте.
Тракт обработки видеосигналов
В состав этого тракта входят следующие элементы:
- аналоговый селектор IC205;
- аналого-цифровой преобразователь IC214;
- графический контроллер IC301;
- GV IF передатчик IC304 и приемник IC601.
Аналоговые видеосигналы основных цветов с контактов 1-3 интерфейсных разъемов CN102 и CN103 (см. архив) подаются на вход аналогового селектора IC205 типа M52758FP. Микросхема имеет 4 входа (2 - для сигналов RGB и 2 - для синхросигналов) и полосу пропускания 250 МГц. Сигнал переключения входов подается с выв. 72 IC101 на выв. 19 IC205. Выбранные сигналы RGB размахом 0,7 В снимаются с выв. 35, 30, 27 микросхемы и поступают на вход АЦП IC214 - выв. 7, 15, 22. В качестве нее используется микросхема фирмы Analog Device AD9884AKS - 8разрядный 3-канальный АЦП с частотой дискретизации 140 Mвыб/с! полосой пропускания 500 МГц, напряжением питания 2,5...3,5 В и потребляемой мощностью 570 мВт. Микросхема имеет встроенный источник опорного напряжения 1,25 В, схему ФАПЧ для генерации тактовой частоты пикселов, синхронизированной с частотой строчной развертки, программируемый 3-канальный усилитель, схемы отсечки и фиксации уровня черного. Управление микросхемой - цифровое, по интерфейсу I2C (выв. 29, 30). Выходные 8-разрядные коды видеосигналов RGB с выходов микросхемы DRA0-DRA7 (выв. 112-105), DGA0-DGA7 (выв. 92-85), DBA0-DBA7 (выв. 65-72) поступают на вход графического контроллера IC301 типа Cheetah3 фирмы Sage Inc. Кроме того, ЦАП формирует тактовые импульсы данных (пикселов) DATA CLK (выв. 115) и строчные синхроимпульсы HS OUT (выв. 117), которые также подаются на графический контроллер IC301 (выв. 236 и 240).
Микросхема Cheetah3 (см. архив) предназначена для применения в ЖК дисплеях с активной TFT-матрицей с разрешением до XSGA (1280х1024). Фирменный алгоритм позволяет преобразовать сигнал с разрешением VGA в более высокие разрешения. Микросхема имеет как аналоговые, так и цифровые входы, в этой модели используется цифровой вход: выв. 13-6 (RA D0-RAD7), выв. 21-14 (GA D0-GA D7) и выв. 29-22 (BA D0-BA D7).
На выходах контроллера IC301 формируются 6-разрядные сигналы LCD R(G,B) 0-R(G,B) 5 и синхросигналы PH SYNC, PV SYNC, PSHIFT CLK, PDE, которые поступают на передатчик IC304 типа CXB1455R фирмы SONY. Эта микросхема реализует фирменную разработку SONY - стандарт передачи данных Gigabit Video Interface. Интерфейс предназначен для передачи 18- и 24-битных сигналов изображений с разрешениями VGA/SVGA/XGA по последовательному интерфейсу - витой паре или коаксиальному кабелю (100 Ом). На выходе микросхемы (выв. 30, 31) формируется дифференциальный сигнал, который через кабель подается на плату G, на которой размещен приемник сигналов GV IF - IC601 (CXB1456R). Эта микросхема выполняет обратное преобразование и формирует на выходе 6-разрядные коды видеосигналов R (G, B) 0-R (G, B) 5 и тактовые импульсы SFT CLK. Эти сигналы через разъем CN505 подаются на панель R.
Звуковой тракт
Конструктивно звуковой тракт выполнен на отдельной плате (плата U, см. архив), которая подключается к плате А через разъемы CN401/СN101, а к плате B - через разъемы CN402/CN504 и CN406/CN502. Основа тракта - аудиопроцессор IC403 типа TDA7315 с цифровым управлением по интерфейсу I2C. Микросхема имеет один стереовход (выв. 6, 11) и позволяет регулировать громкость, баланс, тембр. Выходные каскады микросхемы построены по мостовой схеме. Имеются режимы блокировки звука, подъема низких частот (Loud) и "Наушники". В последнем режиме, когда сигнал HP IN активен (высокий потенциал на выв. 20), отключается мостовое включение выходных каскадов и энергопотребление схемы уменьшается. Микросхема работает в диапазоне питающих напряжений 6...10 В, потребляемый ток составляет 8...10 мА. С выхода этой микросхемы (выв. 16, 16) звуковые сигналы поступают на процессор SD (Stereo Dipole) Ю401 типа YSS901. Микросхема преобразует стереосигнал в виртуальный 3-канальный сигнал (центральный, правый и левый каналы). Вход микросхемы - выв. 26, 29, а выход - выв. 37, 38. Отсюда звуковые сигналы через фильтр (IC408) подаются на усилитель звуковой частоты IC402 типа LM4863. Это двухканальный усилитель с выходной мощностью 2 х 2,2 Вт (на нагрузке 4 Ом при напряжении питания 2...5 В). У микросхемы есть вход выключения (Shutdown) - выв. 1. К выходам усилителя (выв. 3, 5 и выв. 16, 18) подключены динамические головки.
Функции управления звуком разделены между главным и вспомогательным микроконтроллерами. Аудиопроцессором IC403 управляет главный микроконтроллер IC101 (регулировки громкости, баланса, тембра и т.д.), сигналы цифровой шины I2C поступают с выв. 29, 30 IC101 на выв. 19, 20 IC403. Микросхемой эффекта Stereo Dipole IC401 и усилителем мощности IC402 управляет вспомогательный микроконтроллер IC501 (эффект SD, включение усилителя, блокировка, режим "Наушники").
Рассмотрим типовые неисправности монитора "Sony SDM-50N", методику поиска причин (неисправных элементов) и их устранение.
Типовые неисправности монитора и способы их устранения
На экране монитора появляются сообщения "NO INPUT SIGNAL" или "OUT OF SCAN RANGE"
Необходимо убедиться в следующем:
- источник сигнала подключен к выбранному входу монитора;
- источник сигнала исправен;
- установленное разрешение сигнала поддерживается монитором.
При включении монитора сетевой индикатор на передней панели не светится, монитор не работает
С помощью вольтметра проверяют наличие напряжения 12 В на разъеме СN701 (рис. 3). Если напряжения нет, проверяют исправность импульсного преобразователя. Для этого проверяют наличие напряжения 300 В на стоке силового ключа Q701. А затем, если напряжение 300 В есть, но преобразователь не работает (нет импульсов размахом 400...450 В на стоке Q701) - скорее всего неисправны внешние элементы микросхемы IC701, отвечающие за включение, питание в рабочем режиме и стабилизацию выходного напряжения (см. раздел "Источник питания"). Если внешние элементы исправны, заменяют микросхему IC701.
Если напряжение на стоке транзистора Q701 равно нулю, проверяют следующие элементы:
- предохранитель F701 и выключатель POWER;
- сетевой фильтр Т701, диодный мост D701;
- предохранительный резистор R728;
- обмотки 4-5-6-7 трансформатора Т702.
Если в обрыве предохранитель F701, проверяют на короткое замыкание следующие элементы: D701, C701, C724, C727, С730, C719, С703, D703.
Микросхема TEA1504/N2 имеет встроенную защиту от короткого замыкания в нагрузке. Если это произошло, то контроллер будет работать в старт-стопном режиме: на стоке Q701 будут появляться короткие импульсы с частотой 50 Гц. В этом случае проверяют элементы вторичных цепей, а именно: D702, C704, C705.
Если преобразователь исправен (есть 12 В на конденсаторе С705), проверяют предохранители PS701, PS702. При обрыве одного из них проверяют соответствующие цепи потребления (см. описание) и устраняют проблему.
Сетевой индикатор светится янтарным цветом, изображение отсутствует
Вначале необходимо проверить, что источник сигнала (компьютер) включен, и интерфейсный кабель монитора подключен к источнику. Если все в норме, возможно, активен режим энергосбережения и синхросигналы не поступают на вход монитора. Для контроля с помощью осциллографа проверяют их наличие на интерфейсном разъеме CN102 (СN03).
Если все сигналы есть, проверяют наличие синхросигналов на входе главного микроконтроллера IC101 - выв. 59, 63, 64. Если один или оба сигнала отсутствуют, проверяют прохождение сигналов через микросхемы IC208, IC207, IC209, IC206, IC211. Если синхросигналы есть на входе микроконтроллера, проверяют внешние элементы, обеспечивающие его функционирование: IC105, X101, IC103. Если эти элементы исправны, а обмен с ЭСППЗУ IC103 по шине I2C (выв. 2, 3) отсутствует, скорее всего IC101 неисправна, или произошел сбой управляющей программы, записанной во Flash-память микросхемы. Необходимо установить новую микросхему с такой же прошивкой или попытаться перезаписать Flash-память вновь установленной микросхемы.
Сетевой индикатор светится зеленым цветом, но изображение отсутствует
Вначале визуально проверяют работоспособность ламп подсветки LCD-панели. Если они не светятся, проверяют наличие напряжения примерно 500 В частотой 40...60 кГ ц на разъемах СN507 и СN508 (рис. 4). Если напряжение равно нулю, проверяют входные сигналы конвертора (см. описание) и наличие напряжений питания 5 и 12 В.
Если все сигналы и питание есть, необходим ремонт DC/AC-конвертора.
В первую очередь методом визуального осмотра необходимо убедиться в том, что выходные разъемы конвертора СN507-СN508 не обгорели или не оплавились. Если это так, разъемы заменяют. Затем проверяют наличие напряжение 12 В на коллекторе транзистора Q652. Если оно равно нулю, возможно, неисправен предохранитель PS651 (2 A). Перед его заменой проверяют цепи после предохранителя на отсутствие короткого замыкания, неисправные элементы заменяют. Чаще всего в этом случае оказываются неисправными транзисторы Q653, Q654 или трансформаторы T651, T652.
Если 12 В есть, но конвертор не работает, проверяют элементы в цепи обратной связи конвертора: эмиттеры Q653, Q654, IC651 (вход - выв. 6, выход - выв. 1), выв. 43 IC501.
Затем проверяют цепь ШИМ сигнала: выв. 69 IC501, Q651, Q652, базы Q653, Q654.
Иногда причиной неисправности служат сами лампы. Чтобы в этом убедиться, вместо ламп к выходным разъемам подключают эквивалент - резисторы номиналом 1 кОм и мощностью 5...10 Вт. Если после этого конвертор включится (появятся выходные напряжения), лампы заменяют.
Если лампы подсветки работают проверяют наличие напряжения 5 В на разъеме ЖК панели (контакты 57-60 CN505). Если напряжение равно нулю, проверяют источник - DC/DC-конвертор (IC603 IC604), а также транзисторный ключ Q602 и управляющие сигналы на выв. 72, 75IC501.
В случае, если питание ЖК панели в норме, проверяют наличие и прохождение видеосигналов по видеотракту (см. описание), определяют неисправный узел и устраняют причину.
Если сигналы есть на входе ЖК панели, а изображение отсутствует, необходима замена панели.
Отсутствует одна или несколько вертикальных линий на изображении
Как правило, это связано с неисправностью дешифраторов ЖК панели и в этом случае придется целиком ее заменить.
Нет звука
Вначале проверяют наличие питающих напряжений на микросхемах IC401-IC403, IC408 платы U. При отсутствии питания устраняют причину. Если питание в норме, в первую очередь проверяют исправность усилителя мощности IC402. Для этого достаточно коснуться металлическим пинцетом с неизолированными ручками выв. 6 или 15 микросхемы - в динамиках должен появиться фон переменного тока. Если фона нет, проверяют, что микросхема не выключена сигналом S DOWN (выв. 1), который формирует ключ Q410. Если это не так, микросхему заменяют.
Если усилитель IC402 исправен, проверяют цепь прохождения звукового сигнала по тракту от разъема CN706 (см. рис. 6) до входа усилителя мощности, определяют неисправный узел и устраняют причину.
Монитор не выключается при отсутствии пользователя
Вначале необходимо проверить в меню пользователя, что данная опция (USER SENSOR) включена. Если это так, поверяют транзисторы Q903, Q904 (рис. 5). Если они исправны, заменяют микросхему IC902.
Яркость изображения не изменяется в зависимости от освещенности монитора
Вначале необходимо проверить в меню пользователя, что данная опция (LIGHT SENSOR) включена. Если это так, закрывают датчик на передней панели монитора непрозрачным предметом и контролируют напряжение на выв. 1 IC901, оно должно уменьшиться. Если этого не происходит, датчик заменяют. В противном случае неисправна микросхема IC902.
Недостающие схемы и рисунки можно скачать здесь
Литература
1. SONY, Service Manual SDM-N50, Chassis ST5.
Автор: Николай Елагин (г. Зеленоград)
Источник: Ремонт и сервис
