Материнские платы (МП) являются очень сложными устройствами, содержащими сотни различных компонентов - сверхбольшие чипы, логические элементы, силовые ключи, контроллеры питания, конденсаторы, резисторы и транзисторы. Среди всего этого многообразия компонентов выявить истинную причину неисправности МП бывает крайне сложно и зачастую кажется, что отремонтировать ее невозможно из-за сложности, отсутствия необходимых компонентов и соответствующего ремонтного оборудования. Однако на практике оказывается, что до 90 % всех проблем МП вызываются несколькими типовыми неисправностями. Об этом и пойдет речь в статье.
Материнские платы выходят из строя, в основном, по причине механических или электрических повреждений.
Механические повреждения, как правило, возникают из-за неправильной установки на МП различных компонентов персонального компьютера (ПК) - процессора, модулей памяти, различных плат расширения в слоты ISA, PCI, AGP и др. Кроме того, достаточно часто неисправность вносится на плату в момент сборки ПК - при падении на плату инструментов (пинцета, отвертки) или металлических предметов (например, скрепки).
Признаками механических повреждений, как правило, являются дефект (обрыв) дорожек на МП, повреждение компонентов (резисторы, конденсаторы, ИМС) и деформация контактов в соединительных слотах.
Электрические повреждения возникают из-за скачков питающих напряжений МП, которые, в свою очередь, могут быть вызваны неисправностью блока питания, скачками напряжения в первичной питающей сети, плохим заземлением компьютера и его компонентов, использованием для производства системной платы дефектных деталей, "горячим" подключением различных компонентов к ПК, "разгон" процессора и видеокарты.
Результатом электрических повреждений, чаще всего являются:
- отказ ИМС южного моста;
- отказ ИМС портов ввода-вывода (Super I/O);
- отказ силовых ключей и контроллеров питания процессора, памяти и шины PCI;
- дефект фильтрующих электролитических конденсаторов.
Ввиду того что электрические повреждения являются наиболее сложными для диагностики и ремонта, именно они и являются темой данного обзора. Давайте попытаемся охарактеризовать каждый из перечисленных типов повреждений материнских плат.
Повреждение ИМС южного моста
Частой причиной неисправности материнской платы является выход из строя ИМС южного моста (например, микросхемы FW82801 EB/ER/DB и др.). Обычно к этому приводит некорректное подключение USB-устройств к дополнительным USB-портам, размещенным на МП рядом с южным мостом. Эти порты не защищены от пробоя статического электричества и бросков тока, возникающих при подключении/отключении внешних USB-устройств.
На многих материнских платах устройства защиты южного моста либо не предусмотрены, либо не срабатывают. В результате прохождения через южный мост МП больших токов возможны два варианта неисправности:
- выгорание микросхемы южного моста;
- потеря нормального контакта с материнской платой ИМС южного моста в результате ее сильного нагрева.
Из-за возникновения подобных неисправностей специалист-ремонтник и пользователь встают перед проблемой выбора: заменять ИМС южного моста или всю МП. Оба эти варианта замены имеют свои аргументы.
Аргументами в пользу ремонта и замены ИМС южного моста являются:
- нет необходимости в переустановке операционной системы (ОС) и инсталляции существующих программ (например, бухгалтерских, которые жестко "привязаны" к конфигурации компьютера);
- нет необходимости в копировании важных данных пользователя, чтобы освободить место на жестком диске под новую ОС;
- нет необходимости в поиске материнской платы, соответствующей типу процессора, оперативной памяти и совместимой с уже имеющимся внешним оборудованием.
Аргументами в пользу покупки новой материнской платы являются:
- нет необходимости в поиске и покупке микросхемы южного моста, что в условиях регионов может стать серьезной проблемой;
- не надо иметь навыков пайки BGA-корпусов и не надо приобретать соответствующего оборудования;
- новая и, возможно, более современная МП, будет иметь новый срок гарантии.
Наибольшую сложность при отказе южного моста вызывает его диагностика и пайка. Эти сложности обусловлены особенностями BGA-корпусов, но, в принципе, пайка BGA-чипов становится все более доступной.
Повреждение ИМС портов ввода-вывода
К отказам ИМС Super I/O чаще всего приводят две причины:
- скачок питающего напряжения на выходе блока питания;
- "горячее" подключение внешних устройств (принтера, модема, джойстика, флоппи-диска и др).
Неисправность ИМС Super I/O может проявляться очень по-разному. В случае локальных отказов микросхемы можно столкнуться с тем, что не работает порт LPT или флоппи-дисковод. С подобными проблемами многие пользователи предпочитают мириться, так, в настоящее время большинство принтеров можно подключать и через USB, а надобность во флоппи-дисках практически отпадает. Другие устройства, поддерживаемые Super I/O, также можно либо подключить через другие интерфейсы, либо вообще отказаться от их применения без особого ущерба.
С другой стороны, многими современными ИМС Super I/O обеспечивается доступ к Flash ROM, управление вентиляторами, поддержка интерфейса ACPI (Advanced Configuration and Power Interface - усовершенствованный интерфейс конфигурации и управления питанием). Поэтому общий отказ микросхемы или неисправность именно по этим цепям может приводить к невозможности эксплуатации ПК. Ремонт МП в этом случае способен решить многие проблемы.
Пайка микросхем Super I/O не представляет большой трудности, особенно при использовании паяльных станций, которые сейчас стали вполне доступны. Так как одну и ту же микросхему Super I/O используют самые разные производители МП, высока вероятность найти нужную ИМС на другой МП, имеющей какой-нибудь другой неустранимый дефект, т.е. из двух неисправных плат достаточно часто можно сделать одну исправную.

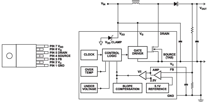
Рис. Блок-схема и схема расположения выводов DC/DC-преобразователя HIP5071
Отказ силовых ключей регуляторов напряжений
Для формирования низковольтных напряжений на материнской плате используются импульсные регуляторы понижающего типа. Ключевыми элементами этих регуляторов являются мощные MOSFET-транзисторы (полевые транзисторы). Так как через эти транзисторы протекают очень большие токи, вероятность их отказа также достаточно велика.
Неисправность этих транзисторов зачастую можно выявить простым визуальным контролем. Корпус транзисторов разрушается и обугливается. Кроме того, неоценимую помощь в диагностике транзистора может оказать самый простой омметр - им контролируют сопротивление переходов транзистора.
Замена мощных транзисторов не представляет особой сложности. Каждый из применяемых в материнских платах MOSFET-транзисторов имеет десятки аналогов, которые можно подобрать, используя ресурсы Интернета, например, [1].
Стоит обратить внимание на то, что в случае пробоя транзистора очень высока вероятность повреждения микросхемы, напряжение для которой формируется этим транзистором. Так как на системных платах используются регуляторы понижающего типа, то в случае пробоя транзистора к микросхеме прикладывается повышенное напряжение, например, вместо 1,5 В будет приложено 5 В.
Очень часто последовательно с мощным транзистором устанавливается еще и предохранитель, функцией которого является защита нагрузки при пробоях транзисторов. Поэтом при замене мощных ключей необходимо внимательно поизучать печатную плату на предмет наличия подобных предохранителей и, в случае их наличия, обеспечить их проверку с помощью тестера.
Также необходимо отметить, что причиной пробоя транзисторов очень часто является попытка "разгона" микропроцессора или видеокарты. Такой "разгон" приводит к увеличению потребляемого микросхемами тока и, как следствие, к пробою ключевых транзисторов в цепях питания.
Отказ управляющих микросхем регуляторов напряжений
Пробой силовых ключей может привести и к отказу микросхемы, управляющей этими ключами. В случае отказа корпус микросхемы, как правило, разрушается, и поэтому установить причину неисправности бывает нетрудно. В качестве микросхем-регуляторов напряжений используются, как правило, микросхемы семейства HIP xxxx . В качестве примера на рисунке приведена блок-схема и схема расположения выводов DC/DC-преобразователя HIP5071. Микросхему можно заменить с помощью обычного паяльника.
Для диагностики микросхемы-регулятора неизвестного производителя потребуется ее описание, мультиметр и осциллограф. На выходах микросхемы, к которым и подключены силовые ключи, должны формироваться прямоугольные импульсы. На некоторых МП могут использоваться и линейные стабилизаторы напряжений, диагностика которых еще проще.
Исходя из всего сказанного ремонт материнских плат в случае отказа регуляторов напряжения также является оправданным и эффективным.
Неисправность фильтрующих конденсаторов
Неисправность фильтрующих электролитических конденсаторов приводит к нестабильной работе материнской платы, постоянным зависаниям и самопроизвольной перезагрузке компьютера.
Причинами выхода из строя конденсаторов являются:
- перегрев микропроцессора в результате его плохого контакта с радиатором вентилятора;
- попытки "разгона" материнской платы, что, как правило, приводит к ее нестабильной работе;
- некачественный блок питания компьютера, дающий большие пульсации вторичных напряжений;
- "разгон" видеокарты или использование мощной видеокарты без дополнительного разъема питания;
- низкое качество самих конденсаторов.
Замена всех фильтрующих конденсаторов приводит к полному восстановлению работоспособности материнской платы.
В отдельную категорию неисправностей можно отнести сбои в BIOS. Причинами возникновения проблем с BIOS в основном являются:
- некорректные действия пользователя при попытках обновления BIOS;
- "разгон" микропроцессора;
- действие различных вирусов, например WINCIH;
- скачки напряжения питания.
В некоторых случаях, особенно после попыток разгона микропроцессора, проблема с BIOS устраняется сбрасыванием настроек CMOS с помощью соответствующего джампера на МП. Некоторые современные материнские платы, особенно производства GIGABYTE, имеют двойной BIOS, т.е. на плате установлено две микросхемы: одна - типа Flash, а другая - типа ПЗУ Благодаря такой системе в случае порчи прошивки во Flash-памяти в нее переписываются данные из ПЗУ.
В случае проблем с BIOS можно выделить несколько возможных направлений решения проблемы.
1. Некоторые модели материнских плат поддерживают режим восстановления Recovery Mode. Этот режим либо запускается автоматически при порче микропрограммы, либо устанавливается специальным джампером на плате. В области Boot block BIOS есть специальная программа для восстановления прошивки. Если при сбое этот блок остался цел, то процедура восстановления BIOS очень проста. Для этого надо сделать загрузочную дискету в DOS и поместить на нее программу прошивки и файл с прошивкой. При включении система автоматически начнет загружаться с дискеты и даст возможность перезаписать микропрограмму. Но здесь есть одна особенность: если версия программы старая, то программа не сможет распознать AGP-видеокарту, и придется все делать вслепую.
2. Как правило, микросхема BIOS впаяна в материнскую плату и для того чтобы ее отремонтировать, необходимо снять микросхему BIOS и перепрошить ее на программаторе. Для того чтобы BIOS был съемным, надо установить переходную панель. Если в дальнейшем возникнет желание записать более свежую версию, не надо будет опять выпаивать микросхему BIOS.
В заключение хотелось бы отметить наиболее распространенные неисправности, характерные для того или иного производителя системных плат. Естественно, неисправности являются случайными и непредсказуемыми, но все-таки статистика говорит о том, что некоторая закономерность здесь присутствует.
1. Для системных плат ABIT достаточно характерным является выход из строя фильтрующих электролитических конденсаторов. Зачастую это ведет и к отказу BIOS, в результате чего даже после замены конденсаторов плата не запускается. В этом случае требуется "перепрошивка" BIOS.
2. Для системных плат ASUS характерной проблемой является отказ микросхем регуляторов напряжения. Это также может приводить к сбоям в BIOS, в результате чего после замены микросхем регуляторов может потребоваться перепрошивка BIOS.
3. В системных платах GIGABYTE часто встречаются отказы микросхемы южного моста, а также микросхемы Super I/O. Так как применяемыми в GIGABYTE микросхемами Super I/O семейства IT87xx обеспечивается еще и доступ к BIOS, то вполне вероятна ситуация, что после замены Super I/O может потребоваться еще и выпаивание и перепрошивка BIOS. В какой-то мере выручает то, что на многих платах GIGABYTE используется технология Dual BIOS (двойной BIOS - см. выше Flash+ПЗУ).
4. Для системных плат CHAINTECH очень характерной проблемой является отказ микросхем регуляторов напряжения. Это также может приводить к сбоям в BIOS, в результате чего после замены микросхем может потребоваться перепрошивка BIOS. Кроме того, на платах этого производителя относительно часто происходит самопроизвольное стирание BIOS, которое может быть вызвано и неисправностью самой микросхемы.
Интернет-источники
1. http://www.alldatasheet.com.
Автор: Виктор Ткаченко (г. Пенза)
Источник: Ремонт и сервис
